ГОСТ 33145-2014
МЕЖГОСУДАРСТВЕННЫЙ СТАНДАРТ. ДОРОГИ АВТОМОБИЛЬНЫЕ ОБЩЕГО ПОЛЬЗОВАНИЯ. ДОРОЖНЫЕ ЗЕРКАЛА. МЕТОДЫ КОНТРОЛЯ
Automobile roads of general use. Traffic mirrors. Methods of testing
МКС 93.080.30
Дата введения 1 декабря 2015 года с правом досрочного применения
Введен в действие Приказом Федерального агентства по техническому регулированию и метрологии от 21 июля 2015 г. N 919-ст
Предисловие
Цели, основные принципы и порядок проведения работ по межгосударственной стандартизации установлены ГОСТ 1.0-92 "Межгосударственная система стандартизации. Основные положения" и ГОСТ 1.2-2009 "Межгосударственная система стандартизации. Стандарты межгосударственные, правила и рекомендации по межгосударственной стандартизации. Правила разработки, принятия, применения, обновления и отмены".
Сведения о стандарте
- РАЗРАБОТАН Федеральным государственным унитарным предприятием "Российский дорожный научно-исследовательский институт" (ФГУП "РОСДОРНИИ") Министерства транспорта Российской Федерации, Межгосударственным техническим комитетом по стандартизации МТК 418 "Дорожное хозяйство"
- ВНЕСЕН Федеральным агентством по техническому регулированию и метрологии (Росстандарт)
- ПРИНЯТ Межгосударственным советом по стандартизации, метрологии и сертификации (протокол от 5 декабря 2014 г. N 46)
- Приказом Федерального агентства по техническому регулированию и метрологии от 21 июля 2015 г. N 919-ст межгосударственный стандарт ГОСТ 33145-2014 введен в действие в качестве национального стандарта Российской Федерации с 1 декабря 2015 г.
- ВВЕДЕН ВПЕРВЫЕ
Информация об изменениях к настоящему стандарту публикуется в ежегодном информационном указателе "Национальные стандарты", а текст изменений и поправок - в ежемесячном информационном указателе "Национальные стандарты". В случае пересмотра (замены) или отмены настоящего стандарта соответствующее уведомление будет опубликовано в ежемесячном информационном указателе "Национальные стандарты". Соответствующая информация, уведомление и тексты размещаются также в информационной системе общего пользования - на официальном сайте Федерального агентства по техническому регулированию и метрологии в сети Интернет.
1. Область применения
Настоящий стандарт распространяется на дорожные зеркала и устанавливает методы их контроля.
2. Нормативные ссылки
В настоящем стандарте использованы ссылки на следующие межгосударственные стандарты:
- ГОСТ 8.453-82 Весы для статического взвешивания. Методы и средства поверки
- ГОСТ 8.506-84 Зеркала сферические выпуклые. Методика выполнения измерений радиуса кривизны и локальных отклонений формы поверхностей от сферы методом голографической интерферометрии сдвига
- ГОСТ 9.403-80 Единая система защиты от коррозии и старения. Покрытия лакокрасочные. Методы испытаний на стойкость к статическому воздействию жидкостей
- ГОСТ 12.1.030-81 Электробезопасность. Защитное заземление. Зануление
- ГОСТ 12.3.031-83 Работы со ртутью. Требования безопасности
- ГОСТ 166-89 Штангенциркули. Технические условия
- ГОСТ 427-75 Линейки измерительные металлические. Технические условия
- ГОСТ 3749-77 Угольники поверочные 90°. Технические условия
- ГОСТ 6359-75 Барографы метеорологические анероидные. Технические условия
- ГОСТ 7502-98 Рулетки измерительные металлические. Технические условия
- ГОСТ 15151-69 Машины, приборы и другие технические изделия для районов с тропическим климатом. Общие технические условия
- ГОСТ 25706-83 Лупы. Типы, основные параметры. Общие технические требования
- ГОСТ 26302-93 Стекло. Методы определения коэффициентов направленного пропускания и отражения света
- ГОСТ 28202-89 Основные методы испытаний на воздействие внешних факторов. Часть 2. Испытания. Испытание Sa: Имитированная солнечная радиация на уровне земной поверхности
Примечание - При пользовании настоящим стандартом целесообразно проверить действие ссылочных стандартов в информационной системе общего пользования - на официальном сайте Федерального агентства по техническому регулированию и метрологии в сети Интернет или по ежегодному информационному указателю "Национальные стандарты", который опубликован по состоянию на 1 января текущего года, и по выпускам ежемесячного информационного указателя "Национальные стандарты" за текущий год. Если ссылочный стандарт заменен (изменен), то при пользовании настоящим стандартом следует руководствоваться заменяющим (измененным) стандартом. Если ссылочный стандарт отменен без замены, то положение, в котором дана ссылка на него, применяется в части, не затрагивающей эту ссылку.
3. Термины, определения, обозначения и сокращения
3.1 В настоящем стандарте применены следующие термины с соответствующими обозначениями и сокращениями:
3.1.1 первичное испытание: Определение эксплуатационных показателей зеркал, на основании фактически проводимых испытаний или на основании других методик (например, с использованием типовых, нормированных, табличных или общепринятых значений, нормированных или утвержденных методов расчета, протоколов испытаний), подтверждающих соответствие настоящему стандарту.
3.1.2 выборочный контроль: Контроль, при котором решение о контролируемой совокупности или процессе принимают по результатам проверки одной или нескольких партий зеркал.
3.1.3 прототип изделия: Опытный образец, созданный с целью проверки проектируемого изделия на собираемость и функциональность, оценки эргономических свойств и внешнего вида.
3.1.4 порок дорожного зеркала: Видимые дефекты зеркала (сколы, щербины и др.), образующиеся при его изготовлении.
3.1.5 партия изделий: Партией считаются изделия, оформленные единой сопроводительной документацией.
4. Общие положения
4.1 Методы контроля дорожных зеркал включают приемо-сдаточные и типовые испытания.
4.2 Изготовитель дорожных зеркал несет ответственность за организацию системы контроля изготовления изделия.
4.3 Оценка соответствия дорожных зеркал техническим требованиям основана на типовых испытаниях и сводится к определению следующих характеристик:
- линейных и угловых размеров и формы отражателя;
- наличие дефектов на отражателе;
- угла обзора;
- радиуса кривизны отражателя;
- стойкости отражателя к воздействию соляного тумана;
- коэффициентов направленного пропускания и отражения света;
- герметичности корпуса отражателя;
- прочности лакокрасочного покрытия;
- массы зеркала;
- стойкости к ультрафиолетовому излучению, кислотам, мойке, воздействию переменных температур, ударным нагрузкам, воздействию ветровой нагрузки;
- оптических искажений, видимых в отраженном свете;
- количества и размеров пороков.
- соответствие устройства электрообогрева требованиям электробезопасности.
4.4 Допускается применять другие средства измерений, метрологические характеристики которых позволяют определять контролируемые показатели с заданной точностью.
5. Организация контроля зеркал
5.1 На заводе-изготовителе приемо-сдаточным испытаниям подвергаются по одному изделию из десяти упаковок партии изделий. Если в процессе испытаний обнаружено несоответствие нормативным требованиям по результатам выборочного контроля, то партия зеркал бракуется и возвращается для устранения дефектов.
5.2 Результат испытаний при контроле за продукцией является предметом протокола, который должен включать:
- наименование и адрес производителя или его представителя, имеющего сертификат на изготовление зеркал;
- место изготовления;
- детальное описание изделия (наименование, использование, точные геометрические характеристики, материал, условия крепления на опоре);
- требование, которому изделие должно соответствовать;
- результаты испытания, наблюдения или оценки, относящиеся к характеристикам, установленным при испытаниях;
- возможные условия, применяемые к использованию изделия;
- условия и период действия протокола испытаний;
- имя и ответственность лица, которому предоставляется право подписи протокола испытаний.
5.3 Испытания проводят при температуре воздуха плюс (25 +/- 10) °C, относительной влажности 45 - 65% и атмосферном давлении 84 - 107 кПа (630 - 800 мм рт. ст.). Контроль параметров давления проводится барографом метеорологическим анероидным М-22 по ГОСТ 6359.
Точность измерения влажности воздуха должна составлять +/- 7%, температуры воздуха +/- 0,5 °C.
6. Методы контроля
6.1 Определение и отклонение линейных размеров и формы отражателя
6.1.1 Проверка соответствия чертежам готового изделия производится его визуальным осмотром.
6.1.2 Определение линейных и угловых размеров отражателя проводится в соответствии с требованиями, указанными в приложении А.
Отражатель считают выдержавшим испытание, если отклонение размеров по длине и ширине соответствует предельному отклонению +/- 1 мм, по толщине +/- 0,3 мм, а разнотолщинность составляет не более 0,2 мм.
6.1.3 Определение толщины и разнотолщинности отражателя проводится в соответствии с требованиями, указанными в приложении А.
6.1.4 Определение наличия дефектов на отражателе (царапин, вмятин, пропусков отражающего слоя) проверяют в помещении визуально при рассеянном естественном или искусственном освещении в отраженном свете.Наблюдатель должен находиться между источником света и лицевой поверхностью отражателя. Оптический элемент должен быть расположен на расстоянии 500 - 600 мм от глаз наблюдателя. Наличие дефектов проверяют путем наклона оптического элемента в различных направлениях.
6.2 Проверка угла обзора зеркала при его установке
6.2.1 Проверку угла обзора определяют визуально при дневном освещении на пересечении дорог в соответствии с рисунком 1.

1 - зеркало; 2 - граница сектора обзора; 3 - сектор обзора; 4 - скрытая зона видимости; 5 - аблюдатель; 6 - препятствие; 7 - расстояние видимости
Рисунок 1 - Схема установки зеркала
Проверка угла обзора зеркала при его установке осуществляется следующими возможными способами.
1) На обочине дороги, на расстоянии 1,0 м от кромки проезжей части, устанавливают зеркало определенного типоразмера. Центр отражателя зеркала должен находиться на высоте 2,7 м от поверхности обочины или проезжей части (тротуара). Отражатель зеркала должен быть повернут в сторону наблюдаемого участка дороги перед зеркалом. Глаза наблюдателя, движущегося в поперечном направлении, должны находиться на высоте 1,2 м от поверхности покрытия. Испытание считают успешным, если при бинокулярном обзоре наблюдатель с расстояния 2,5 м от края проезжей части дороги видит полностью ширину пересекаемой проезжей части и может определить направление движения легкового автомобиля, попавшего в сектор обзора, на расстоянии, указанном в таблице 1 для различных вариантов исполнения отражателя.
Таблица 1
Минимальноерасстояние видимости полной ширины проезжей части
| Типоразмер отражателя, м | Вариант исполнения отражателя | Расстояние видимости полной ширины проезжей части, м |
| I | А | 7,0 |
| Б | 12,5 | |
| В | 19,5 | |
| II | А | 8,0 |
| Б | 14,0 | |
| В | 22,0 | |
| III | А | 8,5 |
| Б | 15,0 | |
| В | 23,5 | |
| IV | А | 9,0 |
| Б | 16,0 | |
| В | 25,5 |
2) Корпус зеркала с отражателем размещают на участке дороги в направлении наблюдателя на расстояниях 5,0 м (для варианта исполнения А), 10,0 м (для варианта исполнения Б) и 13,0 м (для варианта исполнения В). Глаза наблюдателя должны находиться на высоте 1,2 м от покрытия проезжей части (обочины, тротуара). При повороте в горизонтальной плоскости корпуса зеркала вправо и влево на угол до 45° и наблюдении невооруженным глазом не должно быть видимых искажений, нарушающих форму и цвет отраженных предметов, затрудняющих их опознание и оценку характера их перемещений.
6.3 Определение радиуса кривизны отражателя
6.3.1 Определение радиуса кривизны отражателя производится по ГОСТ 8.506.
6.4 Стойкость отражателя к воздействию соляного тумана
6.4.1 Стойкость отражателя зеркала к воздействию соляного тумана определяют по ГОСТ 15151. Общее время испытаний должно составлять 48 часов.
6.4.2 После испытания на отражателе не допускается появление очагов коррозии, суммарная площадь которых превышает 2% площади отражателя.
6.5 Определение коэффициента направленного отражения света
6.5.1 Коэффициенты направленного отражения света определяют по ГОСТ 26302 с помощью рефлексометра типа ПОС с погрешностью не более 1%.
6.6 Испытание на герметичность корпуса отражателя
6.6.1 Испытания проводится для проверки герметичности корпуса отражателя от попадания внутрь воды в соответствии с приложением Б.
6.6.2 Отражатель считают выдержавшим испытание, если вода не попала внутрь корпуса.
6.7 Испытания на стойкость к статическому воздействию жидкостей
6.7.1 Испытания стойкости к статическому воздействию жидкостей осуществляется по ГОСТ 9.403.
6.8 Проверка массы зеркала
6.8.1 Проверка массы производится с помощью весов для статического взвешивания по ГОСТ 8.453.
6.9 Проверка зеркала на стойкость к ультрафиолетовому излучению, к кислотам, к мойке, к воздействию переменных температур, к ударным нагрузкам, к воздействию ветровой нагрузки
6.9.1 Проверка стойкости к ультрафиолетовому излучению производится по ГОСТ 28202 в камере с ультрафиолетовым излучателем. Минимальное расстояние от образца до источника излучения для ртутно-кварцевых ламп (200 +/- 30) мм, электродуговых ламп (130 +/- 3) мм. Образца зеркал испытывают методом А. Температура воздуха в камере должна поддерживаться на уровне 40°. При испытаниях методом А температуру воздуха в камере следует повышать за 2 часа до начала фазы облучения. Продолжительность испытаний должна составлять 3 сут.
6.9.2 Проверка стойкости к кислотам производится путем помещения зеркал в специальную емкость с 0,8 - 1% водным раствором серной кислоты с последующим кипячением в течение 10 мин, после чего зеркало промывают водой, высушивают при комнатной температуре.
Положительным результатом испытания считается, если на поверхности зеркала не обнаружено участков повреждений от воздействия кислотной среды.
6.9.3 Проверка стойкости к мойке производится путем пятикратного протирания зеркальной поверхности марлевой салфеткой, смоченной чистящим раствором. Салфетка должна быть отжата. Время выдержки после каждого протирания 10 - 15 минут.
Положительным результатом испытания считается, если на поверхности отражателя не осталось разводов, маслянистых пятен и иных видов загрязнений.
6.9.4 Проверка стойкости к воздействию переменных температур производится путем 50 циклов помещения образцов в климатическую камеру, в которой осуществляется циклическое температурное воздействие по следующему режиму: 0,5 часа выдержки при температуре минус (40 +/- 2) °C, повышение температуры со скоростью 2 градуса в минуту до температуры (80 +/- 2) °C, выдержка при этой температуре 0,5 часа, понижение температуры до минус (40 +/- 2) °C со скоростью 2 градуса в минуту, далее процесс повторяется в соответствии с заданным количеством циклов. Один цикл переменного температурно-временного воздействия на образец принимается за один год условной эксплуатации.
Положительным считается испытание, если в результате воздействия переменных температур зеркало сохранило свою форму и размеры в пределах предельно допустимых отклонений.
6.9.5 Проверка стойкости конструкции зеркал к воздействию ветровой нагрузки производится в вертикальной плоскости с помощью приложения постоянно равномерно распределенного усилия 2,4 кН/м2, создаваемого мешками с песком общей массой 24 кг (6 мешков по 4 кг каждый). После снятия нагрузки зеркало поворачивают на 180° в вертикальной плоскости вокруг точки крепления и испытание повторяют. Положительным результатом проверки считают, если после каждой из фаз этого испытания не наблюдается повреждений и никаких постоянных деформаций узлов крепления, а также перемещения зеркала вокруг точки его крепления.
6.10 Определение количества и размеров пороков
6.10.1 Определение количества и размеров пороков производится в соответствии с приложением В.
6.10.2 Определение пороков осуществляется визуальным осмотром отражателя в отраженном свете при рассеянном естественном или искусственном освещении в отраженном свете.
6.10.3 Отражатель считают выдержавшим испытание, если количество пороков составляет не более 2 шт.
6.11 Проверка устройства электрообогрева на электробезопасность
6.11.1 Проверка устройства электрообогрева и его элементов на электробезопасность должна осуществляться в соответствии с ГОСТ 12.1.030.
Приложение А
(обязательное)
ОПРЕДЕЛЕНИЕ ЛИНЕЙНЫХ И УГЛОВЫХ РАЗМЕРОВ ОТРАЖАТЕЛЯ
А.1 Общие положения
Метод основан на измерении линейных и угловых размеров и вычислении величины отклонений от заданных значений. Методраспространяется на определение:
- длины и ширины отражателей;
- толщины и разнотолщинности отражателей;
- отклонения от прямоугольности углов отражателей.
А.2 Подготовка образцов
Испытание проводят на готовом изделии.
А.3 Средство контроля
- Металлическая линейка по ГОСТ 427 с ценой деления не более 1 мм.
- Штангенциркуль по ГОСТ 166 с ценой деления 0,05 мм.
- Угольник класса точности не ниже 2 по ГОСТ 3749.
- Набор щупов 2-го класса точности с толщиной пластин от 20 мкм до 1 мм.
А.4 Проведение испытания
Для определения длины прямоугольного отражателя на расстоянии от кромки равным его толщине проводят два измерения параллельно кромкам отражателя.
Для определения диаметра круглого отражателя через его центр проводят два измерения перпендикулярных друг к другу.
Ширину отражателя измеряют аналогично.
Толщину отражателя измеряют в четырех точках на расстоянии от края равной его толщине. Погрешность измерения должна составлять +/- 0,05 мм.
На каждый прямоугольный отражатель поочередно накладывают угольник так, чтобы одна измерительная поверхность угольника была прижата к кромке отражателя. Расстояние (зазор) между второй измерительной поверхностью угольника и кромкой отражателя контролируют щупами.
А.5 Обработка результатов
Длину (ширину, диаметр) отражателя определяют как среднеарифметическое результатов измерений, округленное до 1 мм.
Отклонение размеров по длине (ширине, диаметре) определяют как разность между каждым значением длины (ширины, диаметра), измеренным по А.4, иноминальным значением длины (ширины, диаметра) отражателя (рисунок А.1).

Рисунок А.1 - Проверка линейных размеров круглых и прямоугольных зеркал
Толщину отражателя определяют как среднеарифметическое результатов измерений, округленное до 0,05 мм (рисунок А.1).
Отклонение по толщине
, мм, вычисляют по формуле (А.1):

(А.1)
где ti - значение, измеренное по формуле (Б.4), мм;
t0 - номинальная толщина, мм.
Погрешность измерения при этом должна составлять +/- 1 мм.
Разнотолщинность отражателя определяют как разность между максимальным и минимальным значениями результатов измерений толщины отражателя.
А.6 Оценка результатов
Положительным результатом испытания считают, что отклонение размеров по длине и ширине соответствует предельному отклонению +/- 3 мм.
Положительным результатом испытания считают, что предельное отклонение по толщине составляет +/- 0,3 мм, а разнотолщинность составляет не более 0,2 мм.
Положительным результатом испытания считают, что щуп не входит в зазор.
Приложение Б
(рекомендуемое)
ИСПЫТАНИЕ НА ГЕРМЕТИЧНОСТЬ КОРПУСА ЗЕРКАЛА
Б.1 Общие положения
Метод основан на воздействии воды под давлением на корпус с отражателем. Испытания проводится для проверки герметичности корпусом зеркала защиты отражателя от попадания воды.
Б.2 Аппаратура
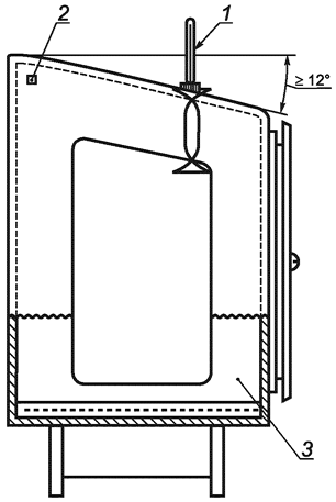
Для проверки на герметичность применяютиспытательную камеру (рисунок 1).

1 - термометр; 2 - клапан сброса давления; 3 - поддон наполненный водой
Рисунок 1 -
Испытательная камера для зеркал
Б.3 Проведение испытания
Корпус с отражателем устанавливают в вертикальном положении и воздействуют на них мелкими струями воды под давлением (203,68 +/- 1) кПа, падающей с высоты 1,5 - 2,0 м от верхней точки корпуса под углом (30 +/- 2)° к вертикали и перекрывающими габаритные размеры корпуса не менее чем на (200 +/- 5) мм. Температура воды должна быть от 3 °C до 20 °C. Длительность испытаний должна быть 15 мин. Через каждые 3 мин корпус поворачивают вокруг вертикальной оси на угол (90 +/- 5)°. Допускается прерывать воздействие воды во время поворота корпуса зеркала.
После окончания испытаний с наружных поверхностей удаляют воду и осматривают корпус с отражателем.
Б.4 Оценка результатов
Отражатель считают выдержавшим испытание, если вода не попала внутрь корпуса.
Приложение В
(обязательное)
ОПРЕДЕЛЕНИЕ КОЛИЧЕСТВА И РАЗМЕРОВ ПОРОКОВ
В.1 Общие положения
Метод основан на визуальном осмотреотражателя, подсчете количества обнаруженных пороков и измерении их размеров.
В.2 Подготовка образцов
Испытание проводят на готовом изделии.
В.3 Средства контроля
В качестве измерительного инструмента
используются:
- линейка по ГОСТ 427;
- лупа с ценой деления не более 0,25 мм по ГОСТ 25706;
- угольник класса точности не ниже 2 по ГОСТ 3749;
- рулетка с ценой деления не более 1 мм по ГОСТ 7502.
В.4 Условия проведения испытания
Испытание проводят в проходящем свете при рассеянном дневном освещении или подобном ему искусственном (без прямого освещения).Отражатель должен быть установлен вертикально. Освещенность отражателя должна быть 300 - 600 лк.
Наблюдатель должен находиться на расстоянии 0,6 - 1,0 м от поверхности отражателя.
В.5 Проведение испытания
Наблюдатель осматривает отражатель и в случае обнаружения пороков производит подсчет их количества, измерение размерови расстояния между ними.
Размер порока определяют по наибольшемучетко выраженному видимому очертанию без учета оптических искажений.
Пороки размером 1 мм и более выявляютвизуально и измеряют линейкой, а менее - 1 мм фиксируют с помощью лупы.
Повреждения углов прямоугольных отражателей измеряют с помощью угольника и линейки. Расстояние между пороками измеряют отих ближайших точек линейкой или рулеткой.
В.6 Оценка результатов
Отражатель считают выдержавшим испытание,
если количество пороков составляет не более 2 шт.


