СНиП 2.05.02-85 СВОД ПРАВИЛ АВТОМОБИЛЬНЫЕ ДОРОГИ
АКТУАЛИЗИРОВАННАЯ РЕДАКЦИЯ
Дата введения 2013-07-01
Содержание
- Область применения.
- Нормативные ссылки.
- Термины и определения.
- Общие положения.
- Основные технические нормы.
- Пересечения и примыкания.
- Земляное полотно.
- Дорожные одежды.
- Мосты, трубы и тоннели.
- Обустройство дорог и защитные дорожные сооружения.
- Здания, строения и сооружения, входящие в инфраструктуру автомобильной дороги.
- Охрана окружающей среды.
- Приложение А (справочное). Характеристика уровней удобства движения.
- Приложение Б (обязательное). Дорожно-климатическое районирование.
- Приложение В (обязательное). Классификация типов местности и грунтов.
- Приложение Г (рекомендуемое). Методика измерений с помощью дорожного профилометра.
- Приложение Д (рекомендуемое). Рекомендации по выбору геосинтетических материалов.
Предисловие
Цели и принципы стандартизации в Российской Федерации установлены Федеральным законом от 27 декабря 2002 г. № 184-ФЗ «О техническом регулировании», а правила разработки - постановлением Правительства Российской Федерации от 19 ноября 2008 г. № 858 «О порядке разработки и утверждения сводов правил»
Сведения о своде правил
- ИСПОЛНИТЕЛЬ - ЗАО «СоюздорНИИ»
- ВНЕСЕН Техническим комитетом по стандартизации ТК 465 «Строительство»
- Подготовлен к утверждению Департаментом архитектуры, строительства и градостроительной политики
- УТВЕРЖДЕН приказом Министерства регионального развития Российской Федерации (Минрегион России) от 30 июня 2012 г. № 266 и введен в действие с 01 июля 2013 г.
- ЗАРЕГИСТРИРОВАН Федеральным агентством по техническому регулированию и метрологии (Росстандарт). Пересмотр СП 34.13330.2011 «СНиП 2.05.02-85* Автомобильные дороги»
Информация об изменениях к настоящему своду правил публикуется в ежегодно издаваемом информационном указателе «Национальные стандарты», а текст изменений и поправок - в ежемесячно издаваемых информационных указателях «Национальные стандарты». В случае пересмотра (замены) или отмены настоящего свода правил соответствующее уведомление будет опубликовано в ежемесячно издаваемом информационном указателе «Национальные стандарты». Соответствующая информация, уведомление и тексты размещаются также в информационной системе общего пользования - на официальном сайте разработчика (Минрегион России) в сети Интернет.
Введение
Настоящий свод правил составлен с учетом требований федеральных законов от 27 декабря 2002 г. № 184-ФЗ «О техническом регулировании», от 22 июня 2008 г. № 123-ФЗ «Технический регламент о требованиях пожарной безопасности», от 30 декабря 2009 г. № 384-ФЗ «Технический регламент о безопасности зданий и сооружений», от 8 ноября 2007 г. № 257-ФЗ «Об автомобильных дорогах и о дорожной деятельности в Российской Федерации и о внесении изменений в отдельные законодательные акты Российской Федерации» постановление Правительства Российской Федерации от 28 сентября 2009 г. № 767 «О классификации автомобильных дорог в Российской Федерации».
Актуализация выполнена авторским коллективом: ЗАО «Союздорнии» (канд. техн. наук В.М. Юмашев, д-р техн. наук, проф. В.Д. Казарновский, инженеры B.C. Скирута, Л.T. Чертков, кандидаты техн. наук И.В. Лейтланд, Е.С. Пшеничникова, инженеры В.А. Зельманович, M.Л. Попов, кандидаты техн. наук Ю.А. Аливер, Г.Н Кирюхин, А.М. Шейнин, С.В. Эккель, А.И. Коршунов, А.А. Матросов, инж. Ф.В. Панфилов, кандидаты техн. наук Л.М. Гохман, Р.А. Коган, канд. хим. наук Н.З. Костова, инж. О.Б. Гопин, канд. техн. наук А.А. Пахомов, инженеры А.М. Шпак, И.В. Басурманова).
При актуализации норм использованы предложения д-ров техн. наук Е.М. Лобанова, П.И. Поспелова, В.В. Филиппова, Г.В. Величко.
1 Область применения
Настоящий свод правил устанавливает нормы проектирования на вновь строящиеся, реконструируемые и капитально ремонтируемые автомобильные дороги общего пользования и ведомственные автомобильные дороги.
Требования настоящего свода правил не распространяются на временные дороги, испытательные дороги промышленных предприятий и автозимники.
2 Нормативные ссылки
2.1 В настоящем своде правил использованы ссылки на следующие нормативные документы:
- СП 14.13330.2011 «СНиП II-7-81* Строительство в сейсмических районах»
- СП 35.13330.2011 «СНиП 2.05.03-84* Мосты и трубы»
- СП 39.13330.2012 «СНиП 2.06.05-84* Плотины из грунтовых материалов»
- СП 42.13330.2011 «СНиП 2.07.01-89* Градостроительство. Планировка и застройка городских и сельских поселений»
- СП 104.13330.2011 «СНиП 2.06.15-85 Инженерная защита территорий от затопления и подтопления»
- СП 116.13330.2012 «СНиП 22-02-2003 Инженерная защита территорий, зданий и сооружений от опасных геологических процессов. Основные положения»
- СП 122.13330.2012 «СНиП 32-04-97 Тоннели железнодорожные и автодорожные»
- СП 131.13330.2012 «СНиП 23-01-99* Строительная климатология»
- ГОСТ Р 51256-2011 Технические средства организации дорожного движения. Разметка дорожная. Классификация. Технические требования
- ГОСТ Р 52056-2003 Вяжущие полимерно-битумные дорожные на основе блоксополимеров типа стирол-бутадиен-стирол. Технические условия
- ГОСТ Р 52289-2004 Технические средства организации дорожного движения. Правила применения дорожных знаков, разметки, светофоров, дорожных ограждений и направляющих устройств
- ГОСТ Р 52290-2004 Технические средства организации дорожного движения. Знаки дорожные. Общие технические требования
- ГОСТ Р 52575-2006 Дороги автомобильные общего пользования. Материалы для дорожной разметки. Технические требования
- ГОСТ Р 52576-2006 Дороги автомобильные общего пользования. Материалы для дорожной разметки. Методы испытаний
- ГОСТ Р 52606-2006 Технические средства организации дорожного движения. Классификация дорожных ограждений
- ГОСТ Р 52607-2006 Технические средства организации дорожного движения. Ограждения дорожные удерживающие боковые для автомобилей. Общие технические требования
- ГОСТ Р 53225-2008 Материалы геотекстильные. Термины и определения
- ГОСТ Р 54257-2010 Надежность строительных конструкций и оснований. Основные положения и требования
- ГОСТ 17.5.1.03-86 Охрана природы. Земли. Классификация вскрышных и вмещающих пород для биологической рекультивации земель
- ГОСТ 3344-83 Щебень и песок шлаковые для дорожного строительства. Технические условия
- ГОСТ 7473-2010 Смеси бетонные. Технические условия
- ГОСТ 8267-93 Щебень и гравий из плотных горных пород для строительных работ. Технические условия
- ГОСТ 8736-93 Песок для строительных работ. Технические условия
- ГОСТ 9128-2009 Смеси асфальтобетонные дорожные, аэродромные и асфальтобетон. Технические условия
- ГОСТ 10060.1-95 Бетоны. Базовый метод определения морозостойкости
- ГОСТ 10060.2-95 Бетоны. Ускоренные методы определения морозостойкости при многократном замораживании и оттаивании
- ГОСТ 10180-2012 Бетоны. Методы определения прочности по контрольным образцам
- ГОСТ 18105-2010 Бетоны. Правила контроля и оценки прочности
- ГОСТ 22733-2002 Грунты. Метод лабораторного определения максимальной плотности
- ГОСТ 23558-94 Смеси щебеночно-гравийно-песчаные и грунты, обработанные неорганическими вяжущими материалами, для дорожного и аэродромного строительства. Технические условия
- ГОСТ 24451-80 Тоннели автодорожные. Габариты приближения строений и оборудования
- ГОСТ 25100-2011 Грунты. Классификация
- ГОСТ 25192-2012 Бетоны. Классификация и общие технические требования
- ГОСТ 25458-82 Опоры деревянные дорожных знаков. Технические условия
- ГОСТ 25459-82 Опоры железобетонные дорожных знаков. Технические условия
- ГОСТ 25607-2009 Смеси щебеночно-гравийно-песчаные для покрытий и оснований автомобильных дорог и аэродромов. Технические условия
- ГОСТ 26633-91 Бетоны тяжелые и мелкозернистые. Технические условия
- ГОСТ 27006-86 Бетоны. Правила подбора состава
- ГОСТ 30412-96 Дороги автомобильные и аэродромы. Методы измерений неровностей оснований и покрытий
- ГОСТ 30413-96 Дороги автомобильные. Метод определения коэффициента сцепления колеса автомобиля с дорожным покрытием
- ГОСТ 30491-97 Смеси органоминеральные и грунты, укрепленные органическими вяжущими, для дорожного и аэродромного строительства. Технические условия
- ГОСТ 31015-2002 Смеси асфальтобетонные и асфальтобетон щебеночномастичные. Технические условия
- СанПиН 2.2.1/2.1.1.1200-03 Санитарно-защитные зоны и санитарная классификация предприятий, сооружений и иных объектов
- СанПиН 2.1.6.1032-01 Гигиенические требования к обеспечению качества атмосферного воздуха населенных мест
- СанПиН 2.1.7.1287-03 Санитарно-эпидемиологические требования к качеству почвы
- СанПиН 2.2.3.1384-03 Гигиенические требования к организации строительного производства и строительных работ
- СН 2.2.4/2.1.8.562-96 Шум на рабочих местах, в помещениях жилых, общественных зданий и на территории жилой застройки.
Примечание - При пользовании настоящим сводом правил целесообразно проверить действие ссылочных стандартов и классификаторов в информационной системе общего пользования - на официальном сайте национальных органов Российской Федерации по стандартизации в сети Интернет или по ежегодно издаваемому информационному указателю «Национальные стандарты», который опубликован по состоянию на 1 января текущего года, и по соответствующим ежемесячно издаваемым информационным указателям, опубликованным в текущем году. Если ссылочный документ заменен (изменен), то при пользовании настоящим сводом правил следует руководствоваться замененным (измененным) документом. Если ссылочный документ отменен без замены, то положение, в котором дана ссылка на него, применяется в части, не затрагивающей эту ссылку.
3 Термины и определения
В настоящем своде правил использованы следующие термины с соответствующими определениями:
3.1 автомагистраль: Автомобильная дорога, предназначенная только для скоростного автомобильного движения, имеющая раздельные проезжие части в обоих направлениях, пересекающая другие транспортные пути исключительно в разных уровнях: съезд-въезд на прилегающие земельные участки запрещен.
3.2 автомобиль легковой, приведенный: Равная легковому автомобилю расчетная единица, с помощью которой учитываются все другие виды транспортных средств на автомобильной дороге, с учетом их динамических свойств и размеров, с целью их усреднения для расчета характеристик движения (интенсивность, расчетная скорость и т.п.).
3.3 автомобильная дорога: Комплекс конструктивных элементов, предназначенных для движения с установленными скоростями, нагрузками и габаритами автомобилей и иных наземных транспортных средств, осуществляющих перевозки пассажиров и (или) грузов, а также участки земель, предоставленные для их размещения.
3.4 биклотоида: Кривая, состоящая из двух одинаково направленных клотоид с одинаковыми параметрами без включения круговой кривизны, в точке соприкосновения которых обе имеют одинаковые радиусы и общую касательную.
3.5 видимость при обгоне: Расстояние видимости, которое необходимо водителю, чтобы обеспечить обгон другого транспортного средства, не мешая при этом встречному транспортному средству двигаться с расчетной скоростью и не вынуждая его снижать скорость.
3.6 видимость встречного автомобиля: Наименьшее расстояние видимости встречного автомобиля, которое меньше видимости при обгоне и обеспечивающие безопасное прерывание обгона при быстром приближении встречного автомобиля;
3.7 дорога скоростная: Дорога для скоростного движения, имеющая разделительную полосу и пересечения, как правило, в одном уровне.
3.8 дорожная сеть: Совокупность всех общественных дорог на определенной территории.
3.9 категория автомобильной дороги: Характеристика, определяющая технические параметры автомобильной;
3.10 категория дороги (проектная): Критерий, характеризующий значение автомобильной дороги в общей транспортной сети страны и определяемый интенсивностью движения на ней. В соответствии с категорией назначаются все технические параметры дороги.
3.11 клотоида: Кривая, кривизна которой возрастает обратно пропорционально длине кривой.
3.12 нормальное условие сцепления шин автомобилей с поверхностью проезжей части: Сцепление на чистой сухой или увлажненной поверхности, имеющей коэффициент продольного сцепления при скорости 60 км/ч для сухого состояния 0,6, а для увлажненного - в соответствии с таблицей 45 - в летнее время года при температуре воздуха 20 °С, относительной влажности 50 %, метеорологической дальности видимости более 500 м, отсутствии ветра и атмосферном давлении 0,1013 МПа.
3.13 нормы проектирования геометрических параметров: Основные минимальные и максимальные нормативы, применяемые при проектировании дорог: расчетные скорости и нагрузки, радиусы, продольный и поперечный уклоны, выпуклые и вогнутые кривые, дальность видимости и т.п.
3.14 отгон виража: Участок на кривой с постепенным плавным переходом от двухскатного поперечного профиля к односкатному с уклоном внутри кривой до проектного уклона.
3.15 остановочная полоса: Полоса, расположенная рядом с проезжей частью или краевой укрепительной полосой и предназначенная для размещения автомобилей в случае вынужденного прекращения или перерыва движения.
3.16 пересечение в одном уровне: Вид узла дорог, при котором все примыкания и съезды или все точки сопряжения дорог расположены в одной плоскости.
3.17 пересечение в разных уровнях: Вид узла дорог, при котором встречающиеся дороги расположены в двух или нескольких уровнях.
3.18 переходная кривая: Геометрический элемент переменной кривизны, предназначенный для зрительного ориентирования и информирования водителей о тенденции развития трассы с целью своевременной инициативы и обеспечения плавного, безопасного и комфортного изменения режимов движения;
3.19 переходная кривая переменной скорости: Переходная кривая, нелинейная закономерность кривизны которой согласуется с критерием безопасности и удобства равнозамедленного или равноускоренного движения; в зависимости от этого переходная кривая может быть тормозной или разгонной;
3.20 переходная кривая постоянной скорости: Переходная кривая, линейная (клотоида) или нелинейная закономерность кривизны которой согласуется с критериями безопасности и удобства движения с постоянной скоростью; нелинейная закономерность кривизны может быть обусловлена конструктивными или эстетическими критериями( так называемые эстетические переходные кривые);
3.21 подъездные дороги промышленных предприятий: Автомобильные дороги, соединяющие эти предприятия с дорогами общего пользования, с другими предприятиями, железнодорожными станциями, портами, рассчитываемые на пропуск автотранспортных средств, допускаемых для обращения на дорогах общего пользования.
3.22 полоса движения: Полоса проезжей части, ширина которой считается максимально допустимой шириной для пропускаемого транспортного средства, включая зазоры безопасности.
3.23 полоса разгона: Дополнительная полоса основной дороги, служащая для облегчения автомобилям вхождения в основной поток с выравниванием скорости движения по основному потоку.
3.24 полоса торможения: Дополнительная полоса движения на основной дороге, которая служит для того, чтобы дать возможность выходящим из основного потока автомобилям снижать скорость, не препятствуя основному движению.
3.25 примыкание: Вид пересечения в одном уровне, как минимум, с тремя ответвлениями.
3.26 принципы зрительного ориентирования водителей: Использование методов ландшафтного проектирования и элементов обустройства для ориентирования водителей при движении по дороге.
3.27 расчетная скорость: Наибольшая возможная (по условиям устойчивости и безопасности) скорость движения одиночного автомобиля при нормальных условиях погоды и сцепления шин автомобилей с поверхностью проезжей части, которой на наиболее неблагоприятных участках трассы соответствуют предельно допустимые значения элементов дороги.
3.28 реконструкция дороги: Комплекс строительных работ на существующей дороге с целью повышения ее транспортно-эксплуатационных показателей с переводом дороги в целом или отдельных участков в более высокую категорию. Включает: спрямление отдельных участков, смягчение продольных уклонов, устройство обходов населенных пунктов, уширение земляного полотна и проезжей части, усиление конструкции дорожных одежд, уширение или замену мостовых и инженерных сооружений, переустройство пересечений и примыканий и т.д. Технология производства работ аналогична технологии строительства дороги.
3.29 строительство дорожное: Комплекс всех видов работ, выполняемых при строительстве автомобильных дорог, мостовых и других инженерных сооружений и дорожных линейных зданий.
3.30 транспортная сеть: Совокупность всех транспортных путей на определенной территории.
3.31 трассирование: Прокладка трассы дороги между заданными пунктами в соответствии с оптимальными эксплуатационными, строительно-технологическими, экономическими, топографическими и эстетическими требованиями.
3.32 трудные участки горной местности: Участки перевалов через горные хребты и участки горных ущелий со сложными, сильно изрезанными или неустойчивыми склонами.
3.33 трудные участки пересеченной местности: Рельеф, прорезанный часто чередующимися глубокими долинами, с разницей отметок долин и водоразделов более 50 м на расстоянии не свыше 0,5 км, с боковыми глубокими балками и оврагами, с неустойчивыми склонами.
3.34 ценные сельскохозяйственные угодья: Орошаемые, осушенные и другие мелиорированные земли, занятые многолетними плодовыми насаждениями и виноградниками, а также участки с высоким естественным плодородием почв и другие приравниваемые к ним земельные угодья.
3.35 узел автомобильных дорог: Инженерное сооружение, которое служит для соединения двух или нескольких дорог.
3.36 уклон виража: Односторонний поперечный уклон проезжей части на кривой, по величине больший, чем поперечный уклон на прямом участке.
3.37 ширина земляного полотна: Расстояние между бровками земляного полотна.
Земляное полотно
3.38 армирование: Усиление дорожных конструкций и материалов в целях улучшения их механических характеристик.
3.39 армирующий геосинтетический материал: Рулонный геосинтетический материал (тканый геотекстиль, геосетка, плоская георешетка и их композиции, гибкая объемная георешетка (геоячейки)), предназначенный для усиления дорожных конструкций и материалов, улучшения механических характеристик материалов.
3.40 армогрунт: Армированный грунт, создаваемый путем конструктивного и технологического объединения грунтовых слоев и арматуры в виде металлических, пластмассовых полос, прослоек из геосинтетических материалов, расположенных горизонтально, способных выдержать значительные по сравнению с грунтом растягивающие усилия.
3.41 берма: Узкая, горизонтальная или слегка наклонная полоса, устраиваемая для перерыва откоса.
3.42 болото тина I: Заполненное болотными грунтами, прочность которых в природном состоянии обеспечивает возможность возведения насыпи высотой до 3 м без возникновения процесса бокового выдавливания слабого грунта.
3.43 болото типа II: Содержащее в пределах болотной толщи хотя бы один слой, который может выдавливаться при некоторой интенсивности возведения насыпи высотой до 3 м, но не выдавливается при меньшей интенсивности возведения насыпи.
3.44 болото типа III: Содержащее в пределах болотной толщи хотя бы один слой, который при возведении насыпи высотой до 3 м выдавливается независимо от интенсивности возведения насыпи.
3.45 водно-тепловой режим земляного полотна: Закономерность изменения в течение года влажности и температуры верхних слоев грунта земляного полотна, свойственная данной дорожно-климатической зоне и местным гидрогеологическим условиям, а также система мероприятий, направленная на регулирование водно-теплового режима, позволяющая уменьшить влажность и величину морозного пучения рабочего слоя земляного полотна.
3.46 водоотвод дорожный: Совокупность всех устройств, отводящих воду от земляного полотна и дорожной одежды и предотвращающих переувлажнение земляного полотна.
3.47 высота насыпи: Расстояние по вертикали от естественного уровня земли до низа дорожной одежды, определяемое по оси земляного полотна.
3.48 высота откоса: Расстояние по вертикали от верхней бровки откоса до нижней бровки.
3.49 геокомпозиты: Двух-, трехслойные рулонные геосинтетические материалы, выполненные путем соединения в различных комбинациях геотекстиля, геосеток, плоских георешеток, геомембран и геоматов.
3.50 геомат: Крупнопористый объемный однокомпонентный рулонный геосинтетический материал, выполненный методами экструзии и/или прессования.
3.51 геомембрана: Рулонный водонепроницаемый геосинтетический материал.
3.52 геооболочка: Емкость из рулонного геосинтетического материала для заполнения грунтом или другими строительными материалами.
3.53 геоплита: Многослойная жесткая дорожная плита на основе композиционного материала из минерально- (стекло, базальт и др.) или полимероволокнистой геоткани, пропитанной полимерным связующим.
3.54 георешетка объемная (геосотовый материал, георешетка пространственная, геоячейки): Геосинтетическое изделие, выпускаемое в виде гибкого компактного модуля из полимерных или геотекстильных лент, соединенных между собой в шахматном порядке посредством линейных швов, и образующего в растянутом положении пространственную ячеистую конструкцию.
3.55 георешетка плоская: Рулонный геосинтетический материал ячеистой структуры с жесткими узловыми точками и сквозными ячейками размером не менее 2,5 мм, получаемый:
- экструзионным способом (георешетка экструзионная);
- методом экструзии сплошного полотна (геомембраны) с последующим его перфорированием и вытяжкой в одном или более направлениях (георешетка тянутая);
- сваркой полимерных лент (георешетка сварная).
3.56 геосетка: Рулонный геосинтетический материал в виде гибких полотен, полученный методами текстильной промышленности из волокон (филоментов, нитей, лент) с образованием ячеек размером более 2,5 мм.
3.57 геосинтетические материалы: Класс искусственных строительных материалов, изготавливаемых главным образом или частично из синтетического сырья и применяемых при строительстве дорог, аэродромов и других геотехнических объектов.
3.58 геотекстиль нетканый: Рулонный геосинтетический материал, состоящий из хаотически расположенных в плоскости полотна филоментов (волокон), соединенных между собой механически (иглопробивным способом) или термически.
3.59 геотекстиль тканый: Рулонный геосинтетический материал, состоящий из двух переплетенных между собой волоконных систем (нитей, лент), имеющих взаимно перпендикулярное расположение и образующих поры (ячейки) размером менее 2,5 мм. Места пересечения нитей (узлы) могут быть усилены посредством третьей волоконной системы.
3.60 грунтовые воды: Подземные воды, находящиеся в первом от поверхности слоя земли.
3.61 дренирование: Сбор и перенос осадков, грунтовой воды и других жидкостей в плоскости материала.
3.62 защита: Предохранение поверхности объекта от возможных повреждений.
3.63 защита от эрозии поверхности: Предотвращение или ограничение перемещения грунта или других частиц по поверхности объекта.
3.64 земляное полотно: Геотехническая конструкция, выполняемая в виде насыпей, выемок или полунасыпей - полувыемок, служащая для обеспечения проектного пространственного расположения проезжей части дороги и в качестве грунтового основания (подстилающего грунта) конструкции дорожной одежды.
3.65 канава боковая придорожная: Канава, проходящая вдоль земляного полотна для сбора и отвода поверхностных вод, с поперечным сечением лоткового, треугольного или трапецеидального профиля.
3.66 канава нагорная: Канава, расположенная с нагорной стороны от дороги для перехвата стекающей по склону воды и с отводом ее от дороги.
3.67 коэффициент уплотнения грунта: Отношение фактической плотности сухого грунта в конструкции к максимальной плотности того же сухого грунта, определяемой в лаборатории при испытании методом стандартного уплотнения.
3.68 морозозащитный слой: Дополнительный слой основания дорожной одежды из непучинистых материалов, обеспечивающий совместно с другими слоями основания и покрытия защиту конструкции от недопустимых деформаций морозного пучения.
3.69 нестабильные слои насыпи: Слои из мерзлых или талых переувлажненных грунтов, которые в насыпи имеют степень уплотнения, не отвечающую требованиям настоящего свода правил, вследствие чего при оттаивании или длительном действии нагрузок могут возникать остаточные деформации слоя.
3.70 откос: Боковая наклонная поверхность, ограничивающая искусственное земляное сооружение.
3.71 основание выемки: Массив грунта ниже границы рабочего слоя.
3.72 основание насыпи: массив грунта в условиях естественного залегания, располагающийся ниже насыпного слоя.
3.73 поверхностный водоотвод: Устройства, предназначенные для отвода воды с поверхности дороги; дренажные устройства, служащие для отвода воды с поверхности земляного полотна.
3.74 рабочий слой земляного полотна (подстилающий грунт): Верхняя часть полотна в пределах от низа дорожной одежды до уровня, соответствующего 2/3 глубины промерзания конструкции, но не менее 1,5 м, считая от поверхности покрытия.
3.75 разделение: Предотвращение взаимного проникновения частиц материалов смежных слоев дорожных конструкций.
3.76 стабилизация: Упрочнение, придание постоянной большей устойчивости дискретным (сыпучим) материалам слоев дорожных конструкций, в том числе с использованием геосинтетических материалов;
3.77 стабильные слои насыпи: Слои, сооружаемые из талых и сыпучемерзлых грунтов, степень уплотнения которых в насыпи соответствует требованиям настоящего свода правил.
3.78 теплоизоляция: Ограничение теплового потока между объектом и средой.
3.79 фильтрация: Пропускание жидкости в структуру материала или сквозь нее с одновременным сдерживанием грунтовых и подобных им частиц.
Дорожные одежды
3.80 дорожная конструкция: Комплекс, включающий дорожную одежду и земляное полотно с дренажными, водоотводными, удерживающими и укрепительными конструктивными элементами.
3.81 дорожная одежда: конструктивный элемент автомобильной дороги, воспринимающий нагрузку от транспортных средств и передающий ее на земляное полотно.
3.82 дорожная одежда жесткая: Дорожная одежда с цементобетонными монолитными покрытиями, со сборными покрытиями из железобетонных или армобетонных плит с основанием из цементобетона или железобетона.
3.83 дорожная одежда капитальная: Дорожная одежда, обладающая наиболее высокой работоспособностью, соответствующей условиям движения и срокам службы дорог высоких категорий.
3.84 дорожная одежда нежесткая: Дорожная одежда, не содержащая в своем составе конструктивных слоев из монолитного цементобетона, сборного железобетона или армобетона.
3.85 дорожных одежд классификация: разделение дорожных одежд по типам исходя из их капитальности, характеризующей работоспособность дорожной одежды.
3.86 дополнительные слои основания: Слои между несущим основанием и подстилающим грунтом, предусматриваемые для обеспечения требуемой морозоустойчивости и дренирования конструкции, позволяющие снижать толщину вышележащих слоев из дорогостоящих материалов. В зависимости от функции дополнительный слой бывает морозозащитным, теплоизолирующим, дренирующим. Дополнительные слои устраивают из песка и других местных материалов в естественном состоянии, в том числе с применением геосинтетических материалов; из местных грунтов, обработанных различного вида вяжущими или стабилизаторами, а также из смесей с добавками пористых заполнителей.
3.87 нормативная осевая нагрузка: Полная нагрузка от наиболее нагруженной оси условного двухосного автомобиля, к которой приводятся все автомобили с меньшими осевыми нагрузками, устанавливаемая сводами правил для дорожных одежд при заданной капитальности и используемая для определения расчетной нагрузки при расчете дорожной одежды на прочность.
3.88 основание: Часть конструкции дорожной одежды, расположенная под покрытием и обеспечивающая совместно с покрытием перераспределение напряжений в конструкции и снижение их величины в грунте рабочего слоя земляного полотна (подстилающем грунте), а также морозоустойчивость и осушение конструкции. Следует различать несущую часть основания (несущее основание) и его дополнительные слои.
3.89 основание дорожной одежды: Несущая прочная часть дорожной одежды, обеспечивающая совместно с покрытием перераспределение и снижение давления на расположенные ниже дополнительные слои основания или грунт земляного полотна.
3.90 покрытие: Верхняя часть дорожной одежды, состоящая из одного или нескольких единообразных по материалу слоев, непосредственно воспринимающая усилия от колес транспортных средств и подвергающаяся прямому воздействию атмосферных агентов. По поверхности покрытия могут быть устроены слои поверхностных обработок различного назначения (для повышения шероховатости, защитные слои и т.п.), не учитываемые при оценке конструкции на прочность и морозоустойчивость.
3.91 покрытие дорожное сборное: Покрытие, состоящее из отдельных плит различной формы и размера, изготовленных из бетона, железобетона или другого композиционного материала, укладываемых на подготовленное основание и соединенных между собой каким-либо известным способом.
3.92 расчетная осевая нагрузка: Максимальная нагрузка на наиболее нагруженную ось для двухосных автомобилей или на приведенную ось для многоосных автомобилей, доля которых в составе и интенсивности движения с учетом перспективы изменения к концу межремонтного срока составляет не менее 5 %. Дорожная одежда при заданной капитальности не может рассчитываться на расчетную осевую нагрузку меньше нормативной.
3.93 расчетная удельная нагрузка: Удельная нагрузка, действующая на площадь отпечатка расчетной шины расчетного двухосного автомобиля, характеризующаяся величиной давления в пневмошине и диаметром круга, равновеликого отпечатку расчетного колеса, и непосредственно используемая в расчете.
4 Общие положения
4.1 Строительство автомобильных дорог должно осуществляться на основе планов территориального планирования объектов транспорта с учетом перспектив развития экономических районов и наиболее эффективного слияния строящейся дороги с существующей и проектируемой транспортной сетью.
4.2 Автомобильные дороги должны обеспечивать: безопасное и удобное движение автомобильных и других транспортных средств со скоростями, нагрузками и габаритами, установленными настоящим сводом правил, а также сервисное обслуживание пользователей автомобильными дорогами и безопасное движение пешеходов, соблюдение принципа зрительного ориентирования водителей; удобное и безопасное расположение примыканий и пересечений; необходимое обустройство автомобильных дорог, в том числе защитными дорожными сооружениями, наличие производственных объектов для ремонта и содержания дорог. Надежность конструкций и сооружений автомобильных дорог должна соответствовать требованиям ГОСТ Р 54257.
4.3 Автомобильные дороги в зависимости от условий проезда и доступа к ним транспортных средств подразделяются на автомагистрали, скоростные дороги и обычные дороги.
Категории автомобильных дорог в зависимости от расчетной интенсивности движения приведены в таблице 4.1.
Таблица 4.1
| Категория автомобильной дороги | Расчетная интенсивность движения, приведенных ед./сут. | |
| IA | Свыше 14000 | |
| (автомагистраль) | ||
| IБ | То же | |
| (скоростная дорога) | ||
| Обычные дороги | IВ | » 14000 |
| II | » 6000 | |
| III | » 2000 до 6000 | |
| IV | » 200 » 2000 | |
| V | » 200 | |
| Примечания 1. При применении одинаковых требований для дорог IA, IB, IB категорий в настоящем своде правил они отнесены к категории I. 2. Категорию дороги следует устанавливать в зависимости от ее значения в сети автомобильных дорог, а также требований заказчика. |
||
4.4 При определении расчетной интенсивности по прогнозным данным, коэффициенты приведения интенсивности движения различных транспортных средств к легковому автомобилю следует принимать по таблице 4.2.
Таблица 4.2
| Типы транспортных средств | Коэффициент приведения |
| Легковые автомобили и мотоциклы, микроавтобусы | 1,0 |
| Грузовые автомобили грузоподъемностью, т: | |
| до 2 включительно | 1,3 |
| свыше 2 » 6 » | 1,4 |
| » 6 » 8 » | 1,6 |
| » 8 » 14 » | 1,8 |
| » 14 | 2,0 |
| Автопоезда грузоподъемностью, т: | |
| до 12 включительно | 1,8 |
| свыше 12 » 20 » | 2,2 |
| » 20 »30 » | 2,7 |
| » 30 | 3,2 |
| Автобусы малой вместимости | 1,4 |
| То же, средней вместимости | 2,5 |
| » большой вместимости | 3,0 |
| Автобусы сочлененные и троллейбусы | 4,6 |
| Примечание - Коэффициенты приведения для специальных автомобилей следует принимать, как для базовых автомобилей соответствующей грузоподъемности. | |
4.5 Расчетную интенсивность движения следует принимать суммарно в обоих направлениях на основе данных экономических изысканий. При этом за расчетную надлежит принимать среднегодовую суточную приведенную к легковому автомобилю интенсивность движения за последний год перспективного периода.
В случаях, когда среднемесячная суточная интенсивность наиболее напряженного в году месяца более чем в 2 раза превышает установленную на основе экономических изысканий или расчетов среднегодовую суточную, последнюю для назначения категории дороги следует увеличивать в 1,5 раза.
4.6 Перспективный период при назначении категорий дорог, выборе элементов плана, продольного и поперечного профилей принимают равным 20 годам. Подъездные автомобильные дороги к промышленным предприятиям предусматривают на расчетный срок, соответствующий году достижения предприятием или его очередью полной проектной мощности, с учетом объема перевозок в период строительства предприятия.
Перспективный период для выбора дорожных одежд принимают с учетом межремонтных сроков их службы.
За начальный год расчетного перспективного периода принимают год завершения разработки проекта дороги (или самостоятельного участка дороги).
4.7 Автомобильные дороги общего пользования предназначены для пропуска автотранспортных средств габаритами: по длине одиночных автомобилей - до 12 м и автопоездов - до 20 м, по ширине - до 2,55 м, по высоте - до 4 м для дорог категорий I - IV и до 3,8 м для дорог категории V.
4.8 Принимаемые основные технические решения должны создавать предпосылки для обеспечения роста производительности труда, экономии основных строительных материалов и топливно-энергетических ресурсов. Их обосновывают разработкой вариантов, сравнивая технико-экономические показатели: стоимость строительства, затраты на ремонт и содержание дорог, потери, связанные с воздействием на окружающую среду при строительстве и эксплуатации, себестоимость перевозок, безопасность движения, изменение производственных условий обслуживаемых дорогами хозяйств и прилегающих к дорогам территорий и другие факторы. Для новых дорог с включением существующих дорог или их отдельных участков необходимо учитывать затраты на приведение земель, занимаемых существующими дорогами, но не используемых для движения, в состояние, пригодное для использования в хозяйственной деятельности.
4.9 При строительстве дорог в сложных инженерно-геологических условиях, когда сроки стабилизации земляного полотна существенно превышают установленные сроки строительства, допускается предусматривать стадийное устройство дорожной одежды.
4.10 Автомобильные дороги категорий I - II (III) рекомендуется прокладывать в обход населенных пунктов с устройством подъездов к ним. В целях обеспечения в дальнейшем возможной реконструкции дорог принимают расстояние от бровки земляного полотна до линии застройки населенных пунктов в соответствии с генеральными планами дорог, но не менее 200 м.
В отдельных случаях, когда по технико-экономическим расчетам установлена целесообразность проложения дороги категорий I - III через населенные пункты, их предусматривают в соответствии с требованиями СП 42.13330 и санитарных норм и правил.
4.11 Число полос движения дорог с многополосной проезжей частью, мероприятия по охране окружающей среды, выбор решений по пересечениям и примыканиям дорог, конструкции дорожных одежд, элементы обстановки, инженерные устройства (в том числе ограждения, велосипедные дорожки, освещение и средства связи), состав зданий и сооружений дорожной и автотранспортной служб в целях снижения единовременных затрат принимают с учетом стадийности их строительства по мере роста интенсивности движения. Для автомобильных дорог категории I в горной и пересеченной местности рекомендуется предусматривать раздельное трассирование проезжих частей встречных направлений с учетом стадийного увеличения числа полос движения и сохранения крупных самостоятельных форм ландшафта и памятников природы.
4.12 При проектировании автомобильных дорог необходимо предусматривать мероприятия по охране окружающей среды, обеспечивающие минимальное нарушение сложившихся экологических, геологических, гидрогеологических и других естественных условий. При разработке мероприятий необходимо учитывать бережное отношение к ценным сельскохозяйственным угодьям, зонам отдыха, культурно-историческим объектам и местам расположения лечебно-профилактических учреждений и санаториев. Расположение мостов, конструктивные и другие решения не должны приводить к резкому изменению режимов рек, а сооружение земляного полотна - к резкому изменению режима грунтовых и стока поверхностных вод.
Требования по обеспечению безопасности движения транспорта, зданий и сооружений дорожной и автотранспортных служб выполняют с учетом наличия запретных (опасных) зон и районов при объектах по изготовлению и хранению взрывчатых веществ, материалов и изделий на их основе. Размеры запретных (опасных) зон и районов определяются по специальным нормативным документам, утвержденным в установленном порядке, и по согласованию с органами государственного надзора, министерствами и ведомствами, в ведении которых находятся указанные объекты.
Предусматривают проектные решения и мероприятия по снижению влияния вредных факторов воздействия движения автотранспортных средств (загрязнение атмосферного воздуха, шум, вибрация) на население и окружающую среду в соответствии с требованиями санитарных правил и норм: СанПиН 2.2.1/2.1.1.1200, СанПиН 2.1.6.1032, СН 2.2.4/2.1.8.562, СанПиН 2.1.7.1287.
4.13 Предоставление земельных участков для размещения автомобильных дорог, зданий и сооружений дорожной и автотранспортной служб, водоотводных, защитных и других сооружений, полос для размещения идущих вдоль дорог коммуникаций осуществляется в соответствии с нормативными правовыми актами по предоставлению земель.
Земельные участки, предоставленные на период строительства автомобильных дорог под притрассовые карьеры и резервы, размещение временных городков строителей, производственных баз, подъездных дорог и других нужд строительства, подлежат возврату землепользователям после приведения их в состояние, соответствующее положениям нормативных документов. Организация строительных работ и санитарно-бытовое обеспечение персонала в целях обеспечения оптимальных условий труда, снижения риска нарушения здоровья работающих, а также населения, проживающего в зоне проведения работ, регламентируются СанПиН 2.2.3.1384.
5 Основные технические нормы
Расчетные скорости
5.1 Расчетные скорости движения для определения параметров плана, продольного и поперечного профилей, а также других параметров, зависящих от скорости движения принимают по таблице 5.1.
Таблица 5.1
| Категория дороги | Расчетные скорости, км/ч | ||
| Основные | Допускаемые на трудных участках местности | ||
| пересеченной | горной | ||
| IA | 150 | 120 | 80 |
| IБ | 120 | 100 | 60 |
| IB | 100 | 80 | 60 |
| II | 120 | 100 | 60 |
| III | 100 | 80 | 50 |
| IV | 80 | 60 | 40 |
| V | 60 | 40 | 30 |
Расчетные скорости, установленные в таблице 5.1 для трудных участков пересеченной и горной местности, допускается принимать только при соответствующем технико-экономическом обосновании с учетом местных условий для каждого конкретного участка проектируемой дороги.
Расчетные скорости на смежных участках автомобильных дорог не должны отличаться более чем на 20 %.
При разработке проектов реконструкции и капитального ремонта автомобильных дорог по нормам категорий IБ, IB и II допускается при соответствующем технико-экономическом обосновании сохранять элементы плана, продольного и поперечного профилей (кроме числа полос движения) на отдельных участках существующих дорог, если они соответствуют расчетной скорости, установленной для дорог категории III, а по нормам категорий III, IV - на категорию ниже соответственно.
Для подъездных автомобильных дорог к промышленным предприятиям по нормам категорий IБ и II при наличии в составе движения более 70 % грузовых автомобилей или при протяженности дороги менее 5 км следует принимать расчетные скорости, соответствующие категории III.
Примечание
- При наличии вдоль трассы автомобильных дорог капитальных дорогостоящих сооружений и лесных массивов, а также в случаях пересечения дорогами земель, занятых особо ценными сельскохозяйственными культурами и садами, в пределах населенного пункта, при соответствующем технико-экономическом обосновании (согласно 4.8), допускается принимать расчетные скорости, установленные в таблице 5.1 для трудных участков пересеченной местности.
Нормативные и расчетные нагрузки
5.2 Расчет дорожной одежды на прочность осуществляют с учетом нормативной осевой нагрузки, расчетной осевой нагрузки для конкретного потока и расчетной удельной нагрузки.
Нормативная осевая нагрузка принимается в зависимости от капитальности дорожной одежды:
| при капитальной дорожной одежде | 115 кН; |
| при облегченном и переходном типах дорожной одежды | 100 кН; |
| для маршрутов (дорог), предназначенных для следования тяжеловесных транспортных средств, осуществляющих международные перевозки | 130 кН. |
Принимают расчетную осевую нагрузку не меньше нормативной осевой нагрузки.
Принимают расчетную удельную нагрузку при расчете дорожной одежды равной давлению воздуха в пневматической шине (р), при диаметре круга, равновеликого отпечатку колеса, определяемому по формуле

где D - диаметр, см;
Q - расчетная осевая нагрузка, кН;
р - давление в шине, кг/см2;
γf = 0,95 - коэффициент надежности по нагрузке.
План и продольный профиль
5.3 В качестве элементов трассы, определяющих план и продольный профиль, следует принимать прямые и кривые постоянной и переменной кривизны с линейной и нелинейной закономерностью ее изменения. При назначении элементов плана и продольного профиля в качестве основных параметров следует принимать:
- продольные уклоны - не более 30 ‰;
- радиусы кривизны:
- для кривых в плане - не менее 3000 м,
- для кривых в продольном профиле:
- выпуклых - не менее 70000 м,
- вогнутых - не менее 8000 м;
- длины криволинейных участков продольного профиля:
- непрерывно выпуклых - не менее 300 м,
- непрерывно вогнутых - не менее 100 м.
Кривизну и ее изменение вдоль трассы назначают из условия плавного сопряжения элементов плана трассы и переломов проектной линии продольного профиля с учетом расчетной скорости, проектных решений по поперечному профилю покрытия проезжей части. При этом следует обеспечить для кривых в плане:
- скорость нарастания центробежного ускорения - не более 1,2 м/с3;
- коэффициент поперечной силы - в соответствии с таблицей 5.2;
- для кривых в профиле:
- расстояние видимости для остановки автомобилей - не менее 450 м;
- расстояние видимости встречного автомобиля - не менее 750 м;
- центробежное ускорение не более 1,2 м/с3.
Примечание - На криволинейных участках плана трассы с нелинейным изменением кривизны следует проверять расчетом максимальную скорость нарастания центробежного ускорения.
Таблица 5.2
| Расчетная скорость, км/ч | 150 | 120 | 100 | 80 | 60 | 50 | 40 | 30 |
| Коэффициент поперечной силы | 0,08 | 0,09 | 0,12 | 0,14 | 0,17 | 0,19 | 0,23 | 0,28 |
5.4 Если по условиям местности не представляется возможным выполнить требования 5.3 или выполнение их связано со значительными объемами работ и стоимостью строительства дороги, при проектировании допускается снижать нормы на основе технико-экономического сопоставления вариантов с учетом указаний 4.8. При этом предельно допустимые нормы надлежит принимать по таблице 5.3 исходя из расчетных скоростей движения по категориям дорог, приведенных в таблице 5.1.
Длины непрерывно выпуклых и вогнутых участков продольного профиля переменных радиусов, сопряженных в точках с нулевой кривизной, допускается уменьшать по сравнению со значениями, приведенными в 5.3, при условии обеспечения расстояний видимости, соответствующих расчетной скорости.
Таблица 5.3
| Расчетная скорость, км/ч | Наибольшие продольные уклоны, ‰ | Наименьшие радиусы кривых, м | ||||
| в плане | в продольном профиле | |||||
| выпуклых | вогнутых | |||||
| Основные | В горной местности | Основные | В горной местности | |||
| 150 | 30 | 1200 | 1000 | 30000 | 8000 | 4000 |
| 120 | 40 | 800 | 600 | 15000 | 5000 | 2500 |
| 100 | 50 | 600 | 400 | 10000 | 3000 | 1500 |
| 80 | 60 | 300 | 250 | 5000 | 2000 | 1000 |
| 60 | 70 | 150 | 125 | 2500 | 1500 | 600 |
| 50 | 80 | 100 | 100 | 1500 | 1200 | 400 |
| 40 | 90 | 60 | 60 | 1000 | 1000 | 300 |
| 30 | 100 | 30 | 30 | 600 | 600 | 200 |
В случаях необходимости резкого изменения направления дорог категорий II - V в горных условиях допускается устройство серпантина.
В особо трудных условиях горной местности (за исключением мест с абсолютными отметками более 3000 м над уровнем моря) для участков протяженностью до 500 м при соответствующем обосновании с учетом 4.8 допускается увеличение значений наибольших продольных уклонов, приведенных в таблице 5.3, но не более чем на 20 ‰.
При сооружении в горной и пересеченной местности проезжей части дорог категории I раздельно для направления на подъем и на спуск продольные уклоны для направлений спусков допускается увеличивать по сравнению с уклонами для движения на подъем, но не более чем на 20 ‰.
5.5 При назначении параметров элементов плана, продольного и поперечного профилей дорог по нормам, допускаемым 5.4, проводят оценку проектных решений по показателям скорости, безопасности движения и пропускной способности, в том числе в неблагоприятные периоды года.
5.6 При интенсивном движении автопоездов (не менее 25 % в составе грузового движения) ширину проезжей части и продольный профиль дорог назначают, исходя из условия наименьшего ограничения скорости и обеспечения безопасности движения. Назначение продольных уклонов и их экономическое обоснование необходимо рассматривать совместно с элементами поперечного профиля дороги.
5.7 Во всех случаях, когда смежные элементы плана трассы в месте их сопряжения отличаются по кривизне более чем 1/2000, предусматривают их плавное сопряжение кривыми с переменной кривизной - переходными кривыми. Линейность и нелинейность изменения кривизны назначают с учетом взаимного расположения сопрягаемых кривых, расчетных скоростей движения (постоянных, переменных) на переходной кривой и указаний раздела «Трассирование с учетом ландшафта». Скорость изменения кривизны на переходных кривых не должна превышать значений, указанных в таблице 5.4.
Таблица 5.4
| Расчетная скорость V, км/ч | 150 | 120 | 100 | 80 | 60 | 50 | 40 | 30 |
| Допустимая (максимальная) скорость изменения кривизны | 0,69 | 1,35 | 2,33 | 4,56 | 10,80 | 18,66 | 36,45 | 86,40 |
Наименьшие длины переходных кривых с линейным законом изменения кривизны (клотоид), сопрягающих прямые и кривые, в зависимости от радиуса этих кривых следует принимать по таблице 5.5.
Таблица 5.5
| Радиус круговой кривой, м | 30 | 50 | 60 | 80 | 100 | 150 | 200 | 250 | 300 | 400 | 500 | 600 - 1000 | 1000 - 2000 |
| Длина переходной кривой, м | 30 | 35 | 40 | 45 | 50 | 60 | 70 | 80 | 90 | 100 | 110 | 120 | 100 |
5.8 Наибольшие продольные уклоны на участках кривых в плане малых радиусов следует уменьшать согласно таблице 5.6.
Таблица 5.6
| Радиус кривой в плане, м | 50 | 45 | 40 | 35 | 30 |
| Уменьшение наибольших продольных уклонов по сравнению с указанными в таблице 5.3, ‰, не менее | 10 | 15 | 20 | 25 | 30 |
5.9 Ширину полос расчистки леса и кустарника, величину срезки откосов выемки и расстояние переноса строений на участках кривых в плане с внутренней стороны в целях обеспечения видимости определяют расчетом; при этом уровень срезки откосов выемки принимают одинаковым с уровнем бровки земляного полотна.
5.10 Длину участка с затяжным уклоном в горных условиях определяют в зависимости от величины уклона, но она не должна превышать значений, приведенных в таблице 5.7
Таблица 5.7
| Продольный уклон, ‰ | Длина участка, м, при высоте над уровнем моря, м | |||
| 1000 | 2000 | 3000 | 4000 | |
| 60 | 2500 | 2200 | 1800 | 1500 |
| 70 | 2200 | 1900 | 1600 | 1300 |
| 80 | 2000 | 1600 | 1500 | 1100 |
| 90 | 1500 | 1200 | 1000 | - |
5.11 На трудных участках дорог в горной местности допускаются затяжные уклоны (более 60 ‰) с обязательным включением участков с уменьшенными продольными уклонами (20 ‰ и менее) или площадок для остановки автомобилей с расстояниями между ними не более длин участков, указанных в таблице 5.7.
Размеры площадок для остановки автомобилей определяются расчетом, но должны назначаться не менее чем на 3 - 5 грузовых автомобилей, а выбор места их расположения определяют из условий безопасности стоянки, исключающей возможность появления осыпей, камнепадов и, по возможности, у источников воды.
Независимо от наличия площадок на затяжных спусках с уклонами более 50 ‰ предусматривают противоаварийные съезды, которые устраивают перед кривыми малых радиусов, расположенными в конце спуска, а также на прямых участках спуска через каждые 0,8 - 1,0 км. Элементы противоаварийных съездов определяют расчетом из условия безопасной остановки автопоезда.
5.12 Параметры элементов серпантина принимают по таблице 5.8.
Таблица 5.8
| Параметры элементов серпантина | Параметры серпантина при расчетной скорости движения, км/ч | ||
| 30 | 20 | 15 | |
| Наименьший радиус кривых в плане, м | 30 | 20 | 15 |
| Поперечный уклон проезжей части на вираже, ‰ | 60 | 60 | 60 |
| Длина переходной кривой, м | 30 | 25 | 20 |
| Уширение проезжей части, м | 2,2 | 3,0 | 3,5 |
| Наибольший продольный уклон в пределах серпантина, ‰ | 30 | 35 | 40 |
Серпантины радиусом менее 30 м допускаются только на дорогах категорий IV и V при запрещении движения автопоездов габаритом по длине свыше 11 м.
5.13 Расстояние между концом сопрягаемой кривой одного серпантина и началом сопрягающей кривой другого следует принимать возможно большим, но не менее 400 м для дорог категорий II и III, 300 м - для дорог категории IV и 200 м - для дорог категории V.
5.14 Проезжую часть на серпантине допускается уширять на 0,5 м за счет внешней обочины, а остальную часть уширения предусматривают за счет внутренней обочины и дополнительного уширения земляного полотна.
Условия видимости
5.15 Расстояние видимости на всем протяжении дороги должно быть не менее остановочного пути до препятствия. Наименьшие расстояния видимости следует принимать по таблице 5.9.
Таблица 5.9
| Расчетная скорость, км/ч | Наименьшее расстояние видимости, м | ||
| для остановки | встречного автомобиля | при обгоне | |
| 150 | 300 | - | - |
| 120 | 250 | 450 | 800 |
| 100 | 200 | 350 | 700 |
| 80 | 150 | 250 | 600 |
| 60 | 85 | 170 | 500 |
| 50 | 75 | 130 | 400 |
| 40 | 55 | 110 | - |
| 30 | 45 | 90 | - |
| 20 | 25 | 50 | - |
Наименьшее расстояние видимости для остановки должно обеспечивать видимость любых предметов, имеющих высоту 0,2 м и более, находящихся на середине полосы движения, с высоты глаз водителя автомобиля, равной 1,2 м от поверхности проезжей части.
При сооружении в горной местности участков подходов дорог к тоннелям элементы плана и профиля назначают, исходя из условий обеспечения необходимой видимости при заданной расчетной скорости.
5.16 Повсеместно применение наименьшего расстояния видимости приводит к созданию сложных дорожных условий: затрудняется или становится невозможным обгон, увеличивается напряженность работы водителя, возрастает вероятность дорожно-транспортных происшествий.
5.17 Расстояние видимости в продольном профиле обеспечивается благодаря вписыванию вертикальных выпуклых кривых. Наименьшие радиусы выпуклых вертикальных кривых приведены в таблице 5.3 (расчетное время реакции водителя 1,0 с), а минимальные радиусы вертикальных кривых - в таблице 5.10 при времени реакции водителя 1,0 и 2,0 с.
Таблица 5.10
| Условия применения | Минимальные радиусы выпуклых вертикальных кривых, м, при расчетной скорости движения, км/ч | |||
| 80 | 100 | 120 | 150 | |
| В сложных условиях (расчетное время реакции водителя 1,0 с) | 5000 | 10000 | 15000 | 27000 |
| В нормальных условиях (расчетное время реакции водителя 2,0 с) | 10000 | 20000 | 30000 | 45000* |
| * Из условия расчетного времени реакции водителя 2,5 с. | ||||
5.18 В трудных условиях холмистого рельефа для осуществления обгонов необходимо не реже чем через 3 - 4 км устраивать на прямых и кривых больших радиусов специальные обгонные участки с обеспеченной видимостью. Минимальную длину обгонного участка принимают в зависимости от расчетной скорости движения на подходах к этому участку, обеспечиваемой геометрическими элементами. Длины обгонных участков проведены в таблице 5.11.
Таблица 5.11
| Расчетная скорость, км/ч | 120 | 100 | 80 | 60 | 50 | 40 | 30 |
| Длина обгонного участка, км | 2,0 - 2,5 | 1,5 - 1,7 | 1,0 - 1,1 | 0,75 | 0,60 | 0,50 | 0,40 |
5.19 Во всех случаях, где по местным условиям возможно попадание на дорогу с придорожной полосы людей и животных, следует обеспечить боковую видимость прилегающей к дороге полосы на расстоянии 25 м от кромки проезжей части для дорог с расчетной скоростью 80 км/ч и более и 15 м - для дорог с расчетной скоростью до 80 км/ч.
Поперечный профиль
5.20 Основные параметры поперечного профиля проезжей части и земляного полотна автомобильных дорог принимают в зависимости от их категории по таблице 5.12.
Таблица 5.12
| Ширина земляного полотна, м | Категория дороги | Число полос движения | Ширина, м | ||||||
| полосы движения | укрепленной полосы обочины | Центральной разделительной полосы | Остановочной полосы | обочины, см. 5.21 | укрепленной полосы на разделительной полосе | ||||
| 28,5; 36; 43,5 | IA | 4; 6; 8 | 3,75 | 0,75 | См. 5.28 | 6 | 2,50, см. 5.22 | 3,75 | 1 |
| 27,5; 35; 42,5 | IБ | 4; 6; 8 | 3,75 | 0,75 | 5 | 2,50, см. 5.22 | 3,75 | 1 | |
| 21*; 28*; 17,5* | IB | 4; 6; 8 | 3,75/3,50 | 0,75/0,50 | 5 | 2,50, см. 5.22 | 3,75 | 1 | |
| 15; 12 | II | 2; 4 | 3,75/3,50 | 0,75/0,50 | - | 2,50, см. 5.22 | 3,75/2,5 | - | |
| 12 | III | 2 | 3,0 | 0,50 | - | - | 2,5 | - | |
| 10 | IV | 2 | 3,0 | 0,50 | - | - | 2,0 | - | |
| 4,5 + 3,5 = 8 | V | 1 | 4,5 | - | - | - | 1,75 | - | |
| * Наименьшая ширина центральной разделительной полосы согласно 5.29. Примечания: 1 Ширину центральной разделительной полосы с ограждением по оси на дорогах категории IB допускается принимать равной ширине полосы для установки ограждения плюс полоса безопасности. 2 В обоснованных случаях на дорогах категории II допускается устройство четырехполосной проезжей части с шириной полосы движения 3,5 м при расчетной скорости движения не более 100 км/ч. |
|||||||||
5.21 Ширину обочин дорог на особо трудных участках горной местности, на участках, проходящих по особо ценным земельным угодьям, а также в местах с переходно-скоростными полосами и с дополнительными полосами на подъем при соответствующем технико-экономическом обосновании, с разработкой мероприятий по организации и безопасности движения допускается уменьшать до 1,5м - для дорог категорий IA, IБ, IB и II и до 1 м - для дорог остальных категорий.
5.22 На участках автомобильных дорог категорий I и II, где интенсивность движения за первые пять лет эксплуатации дорог достигает 50 % и более расчетной перспективной, в местах, определяемых и обосновываемых проектом, а также в местах пересечений, примыканий и съездов с дорог категорий I и II (на которых не предусматривается устройство переходно-скоростных полос) на обочинах на расстоянии не менее 100 м в обе стороны предусматривают устройство остановочных полос шириной 2,5 м согласно 6.38.
5.23 Число полос движения на дорогах категории I устанавливают в зависимости от интенсивности движения и рельефа местности по таблице 5.13.
Таблица 5.13
| Рельеф местности | Интенсивность движения, приведенных ед./сут. | Число полос движения |
| Равнинный и пересеченный | Свыше 14000 до 40000 | 4 |
| » 40000 » 80000 | 6 | |
| » 80000 | 8 | |
| Горный | Свыше 14000 до 34000 | 4 |
| » 34000 » 70000 | 6 | |
| » 70000 | 8 |
При стадийном сооружении дороги ширину полосы отвода и параметры искусственных сооружений и земляного полотна рассчитывают на перспективное число полос движения.
При определении сроков стадийного увеличения числа полос движения, следует исходить из достигаемого на определенный период уровня удобств движения.
Необходимое число полос движения определяется технико-экономическим расчетом из условия минимума суммарных приведенных затрат. При этом учитывают рациональную загрузку дороги, характеризуемую коэффициентом загрузки.
В таблице 5.14 приведены предельные значения коэффициентов загрузки, соответствующие предельным условиям функционирования дорог различного назначения, требующих реконструкции.
Таблица 5.14
| Автомобильные дороги | Категория | Коэффициент загрузки дороги |
| Подъездные к аэропортам классов I и II, морским и речным портам группы I и II | IA | 0,60 |
| Автомагистрали, скоростные магистральные дороги | IA, IБ | 0,65 |
| Обычные дороги | IB, II и III | 070 |
Строительство дорог с многополосной проезжей частью надлежит обосновывать сопоставлением с вариантами сооружения дорог по раздельным направлениям.
5.24 Дополнительные полосы проезжей части для грузового транспорта в сторону подъема при смешанном составе транспортного потока следует предусматривать на участках дорог категории II, исключая дороги с четырьмя полосами движения, а также на участках дорог категории III при интенсивности движения свыше 4000 приведенных ед./сут. (достигаемой в первые пять лет эксплуатации), при продольном уклоне более 30 ‰ и длине участка свыше 1 км, при уклоне более 40 ‰ и длине участка свыше 0,5 км.
Ширину дополнительной полосы движения принимают равной 3,5 м на всем протяжении подъема.
Протяженность дополнительной полосы за подъемом принимают по таблице 5.15.
Таблица 5.15
| Интенсивность движения в сторону подъема, приведенных ед./сут. | 4000 | 5000 | 6500 | 8000 и более |
| Общая протяженность полосы за пределами подъема, м | 50 | 100 | 150 | 200 |
Переход к уширенной проезжей части следует осуществлять на участке длиной 60 м.
5.25 Ширину проезжей части дорог в пределах средней части вогнутых кривых в продольном профиле, сопрягающих участки продольных уклонов с алгебраической разностью 60 ‰ и более, увеличивают с каждой стороны для дорог категорий II и III на 0,5 м, а для дорог категорий IV и V - на 0,25 м по сравнению с нормами, приведенными в таблице 5.12.
Длина участков с уширенной проезжей частью должна быть для дорог категорий II и III не менее 100 м, для дорог категорий IV и V - не менее 50 м.
Переход к уширенной проезжей части следует осуществлять на участке длиной 25 м для дорог категорий II и III и на участке 15 м - для дорог категорий IV и V.
5.26 На участках дорог категории V с уклонами более 60 ‰ в местах с неблагоприятными гидрологическими условиями и с легкоразмываемыми грунтами, с уменьшенной шириной обочин предусматривают устройство разъездов. Расстояния между разъездами принимают равными расстояниям видимости встречного автомобиля, но не более 1 км. Ширину земляного полотна и проезжей части на разъездах принимают по нормам дорог категории IV, а наименьшую длину разъезда - 30 м. Переход от однополосной проезжей части к двухполосной осуществляют на протяжении 10 м.
5.27 Ширина насыпей автомобильных дорог поверху на участке примыкания к мостам и путепроводам длиной не менее 10 м должна превышать расстояние между перилами искусственных сооружений на 0,5 м в каждую сторону. При необходимости производят соответствующее уширение земляного полотна, а также уширение проезжей части до ширины проезжей части на мостах с учетом и полос безопасности; переход от уширенного земляного полотна к нормативному выполняют на длине 15 - 25 м.
5.28 Ширину разделительной полосы на участках дорог, где в перспективе может потребоваться увеличение числа полос движения, увеличивают на 7,5 м по сравнению с показателями таблицы 5.12 и принимают равной: не менее 13,5 м - для дорог категории IA, не менее 12,5 м - для дорог категории IБ.
Поверхности разделительных полос в зависимости от их ширины, применяемых грунтов, вида укрепления и природно-климатических условий придают уклон к середине разделительной полосы или в сторону проезжей части. При уклоне поверхности разделительной полосы к середине предусматривают устройство специальных коллекторов для отвода воды.
5.29 Ширину разделительной полосы на участках дорог категории I, проложенных по ценным землям, на особо трудных участках дорог в горной местности, на больших мостах, при устройстве дорог в застроенных районах и т.п., при соответствующих технико-экономических обоснованиях допускается уменьшать до ширины, равной ширине полосы для установки ограждений плюс 2 м.
Переход от уменьшенной ширины разделительной полосы к ширине полосы, принятой на дороге, следует осуществлять с обеих сторон с отгоном 100:1.
Разделительные полосы предусматривают с разрывами через 2 - 5 км для организации пропуска движения автотранспортных средств и для проезда специальных машин в периоды ремонта дорог. Величину разрыва устанавливают расчетом с учетом состава транспортного потока и радиуса поворота автомобиля или, если не производится расчет, величиной 30 м. В периоды, когда они не используются, их следует закрывать специальными съемными ограждающими устройствами.
5.30 Проезжую часть предусматривают с двускатным поперечным профилем на прямолинейных участках дорог всех категорий и, как правило, на кривых в плане радиусом 3000 м и более для дорог категории I и радиусом 2000 м и более - для дорог других категорий.
На кривых в плане меньшим радиусом предусматривают устройство проезжей части с односкатным поперечным профилем (виражей), исходя из условий обеспечения безопасности движения автомобилей с наибольшими скоростями при данных радиусах кривых.
5.31 Поперечные уклоны проезжей части (кроме участков кривых в плане, на которых предусматривается устройство виражей) принимают в зависимости от числа полос движения и климатических условий по таблице 5.16.
Таблица 5.16
| Категория дороги | Поперечный уклон, % | |||
| Дорожно-климатические зоны | ||||
| I | II, III | IV | V | |
| I | ||||
| а) при двускатном поперечном профиле каждой проезжей части | 15 | 20 | 25 | 15 |
| б) при односкатном профиле: | ||||
| первая и вторая полосы от разделительной полосы | 15 | 20 | 20 | 15 |
| третья и последующие полосы | 20 | 25 | 25 | 20 |
| II - IV | 15 | 20 | 20 | 15 |
На гравийных и щебеночных покрытиях поперечный уклон принимают 25 - 30 ‰, а на покрытиях из грунтов, укрепленных местными материалами, и на мостовых из колотого и булыжного камня - 30 - 40 ‰.
5.32 Поперечные уклоны обочин при двускатном поперечном профиле следует принимать на 10 - 30 ‰ больше поперечных уклонов проезжей части. В зависимости от климатических условий и типа укрепления обочин допускаются следующие величины поперечных уклонов:
- 30 - 40 ‰ - при укреплении с применением вяжущих;
- 40 - 60 ‰ - при укреплении гравием, щебнем, шлаком или замощении каменными материалами и бетонными плитами;
- 50 - 60 ‰ - при укреплении дернованием или засевом трав.
- Для районов с небольшой продолжительностью снегового покрова и отсутствием гололеда для обочин, укрепленных дернованием, может быть допущен уклон 50 - 80 ‰.
Примечание - При устройстве земляного полотна из крупно- и среднезернистых песков, а также из тяжелых суглинистых грунтов и глин уклон обочин, укрепленных засевом трав, допускается принимать равным 40 ‰.
5.33 Односкатный поперечный профиль закругления (вираж) следует предусматривать при радиусах кривизны меньше, чем 3000 м для дорог категории I и 2000 м - для дорог категорий II - V. Уклоны виража на всем участке закругления, включая круговую кривую и примыкание к ней участков кривых с переменной кривизной, назначают в зависимости от радиусов кривизны по таблице 5.17.
Таблица 5.17
| Радиусы кривых в плане, м | Поперечный уклон проезжей части на виражах, ‰ | ||
| основной, наиболее распространенный | в районах с частым гололедом | ||
| на дорогах категорий I - V | на подъездных дорогах к промышленным предприятиям | ||
| От 3000 до 1000 для дорог I категории | 20 - 30 | - | 20 - 30 |
| От 2000 до 1000 для дорог II - V категорий | 20 - 30 | - | 20 - 30 |
| От 1000 до 800 | 30 - 40 | - | 30 - 40 |
| » 800 » 700 | 30 - 40 | 20 | 30 - 40 |
| От 700 до 650 | 40 - 50 | 20 | 40 |
| » 650 » 600 | 50 - 60 | 20 | 40 |
| » 600 » 500 | 60 | 20 - 30 | 40 |
| » 500 » 450 | 60 | 30 - 40 | 40 |
| » 450 » 400 | 60 | 40 - 60 | 40 |
| » 400 и менее | 60 | 60 | 40 |
| Примечание - Меньшие значения поперечных уклонов на виражах соответствуют большим радиусам кривых, а большие значения - меньшим радиусам. | |||
Если расстояние между двумя смежными закруглениями, обращенными радиусами в одну сторону, меньше суммы длин отгонов виражей для этих закруглений, то между ними предусматривают также непрерывно односкатный профиль с уклоном этих виражей. Если уклоны этих смежных виражей неодинаковы, то предусматривают плавный отгон их разницы. При реконструкции, в целях уменьшения объемов работ по переустройству покрытия, на таких участках трассы допускается принимать переменные значения поперечных уклонов, соответствующие неполным отгонам этих смежных виражей. При этом минимальный уклон односкатного профиля должен быть не менее 20 ‰, а дополнительный продольный уклон наружной кромки проезжей части по отношению к проектному продольному уклону не должен превышать соответствующие значения, принимаемые для участков отгона виража согласно 5.34.
В районах с незначительной продолжительностью снегового покрова и редкими случаями гололеда наибольший поперечный уклон проезжей части на виражах допускается принимать до 100 ‰.
На особо трудных участках по условиям застройки или рельефа местности допускается разработка проектов виражей с переменными поперечными уклонами (типа «ступенчатый вираж») и уширенной проезжей частью дорог.
5.34 Переход от двускатного профиля дороги к односкатному следует осуществлять на предшествующих виражу прямолинейном и криволинейном участках трассы, радиусы кривизны которых больше значений, приведенных в 5.33. Длину участка отгона виража определяют из условия обеспечения минимального и максимального дополнительного уклона наружной кромки проезжей части, по отношению к проектному продольному уклону.
Виражи на многополосных дорогах категории I, рекомендуется предусматривать с раздельными поперечными уклонами для проезжих частей разных направлений и необходимыми мероприятиями по отводу воды с проезжих частей и разделительной полосы.
На вираже поперечный уклон обочин и уклон проезжей части дороги принимают один и тот же.
Переход от нормального уклона обочин при двускатном профиле к уклону проезжей части рекомендуется производить на протяжении 10 м до начала отгона виража.
Дополнительный продольный уклон наружной кромки проезжей части по отношению к проектному продольному уклону на участках отгона виража принимают по таблице 5.18.
Таблица 5.18
| Категория дороги | Тип местности | Уклон, ‰ |
| I и II | Любой | 5 |
| III - V | В равнинной местности | 10 |
| III - V | В горной местности | 20 |
5.35 При радиусах кривых в плане 1000 м и менее предусматривают уширение проезжей части с внутренней стороны за счет обочин, с тем чтобы ширина обочин была не менее 1,5 м для дорог категорий I и II и не менее 1 м - для дорог остальных категорий.
Величины полного уширения двухполосной проезжей части дорог на криволинейных участках плана переменной кривизны должны быть пропорциональны кривизне трассы в каждой ее точке в соответствии с таблицей 5.19.
Таблица 5.19
| Радиусы кривых в плане, м | Значение уширения, м, для автомобилей и автопоездов с расстоянием от переднего бампера до задней оси автомобиля или автопоезда, м | |||
| автомобилей - 7 и менее, автопоездов - 11 и менее | 13 | 15 | 18 | |
| 1000 | - | - | - | 0,4 |
| 850 | - | 0,4 | 0,4 | 0,5 |
| 650 | 0,4 | 0,5 | 0,5 | 0,7 |
| 575 | 0,5 | 0,6 | 0,6 | 0,8 |
| 425 | 0,5 | 0,7 | 0,7 | 0,9 |
| 325 | 0,6 | 0,8 | 0,9 | 1,1 |
| 225 | 0,8 | 1,0 | 1,0 | 1,5 |
| 140 | 0,9 | 1,4 | 1,5 | 2,2 |
| 95 | 1,1 | 1,8 | 2,0 | 3,0 |
| 80 | 1,2 | 2,0 | 2,3 | 3,5 |
| 70 | 1,3 | 2,2 | 2,5 | - |
| 60 | 1,4 | 2,8 | 3,0 | - |
| 50 | 1,5 | 3,0 | 3,5 | - |
| 40 | 1,8 | 3,5 | - | - |
| 30 | 2,2 | - | - | - |
При недостаточной ширине обочин для размещения уширений проезжей части с соблюдением этих условий предусматривают соответствующее уширение земляного полотна. Уширение проезжей части выполняют пропорционально расстоянию от начала криволинейного участка трассы, после которого радиусы кривизны меньше 2000 м.
Полное уширение проезжей части для дорог с четырьмя полосами движения и более увеличивают соответственно числу полос, а для однополосных дорог - уменьшают в два раза по сравнению с указанными в таблице 5.19.
В горной местности в виде исключения допускается размещать уширения проезжей части на кривых в плане частично с внешней стороны закругления.
Целесообразность применения кривых с уширениями проезжей части более 2 - 3 м необходимо обосновывать сопоставлением с вариантами увеличения радиусов кривых в плане, при которых не требуется устройств таких уширений.
Трассирование с учетом ландшафта
5.36 Трассу вновь строящихся дорог, а при соответствующем технико-экономическом обосновании и реконструируемых дорог, следует предусматривать в виде плавной линии в пространстве. При этом необходима взаимная увязка элементов плана, продольного и поперечного профилей между собой и с окружающим ландшафтом, с оценкой их влияния на условия движения и зрительное восприятие дороги с учетом требований настоящего подраздела.
Плавность дороги проверяют расчетом через видимую кривизну ведущей линии и видимую ширину проезжей части в экстремальной точке в картинной плоскости. Для оценки зрительной ясности дороги рекомендуется построение перспективных изображений дороги.
Для дорог категорий I и II не допускается сочетание продольных уклонов, кривых в плане и продольном профиле с такими величинами, при которых создается впечатление провалов.
5.37 Закругления в плане и продольном профиле рекомендуется совмещать. При этом кривые в плане должны быть на 100 - 150 м длиннее кривых в продольном профиле, а смещение вершин кривых должно быть не более 1/4 длины меньшей из них.
Следует избегать сопряжений концов кривых в плане с началом кривых в продольном профиле. Расстояние между ними должно быть не менее 150 м. Если кривая в плане расположена в конце спуска длиной свыше 500 м и с уклоном более 30 ‰, то радиус ее должен быть увеличен не менее чем в 1,5 раза по сравнению с величинами, приведенными в таблице 5.3, с совмещением кривой в плане и вогнутой кривой в продольном профиле в конце спуска.
5.38 Длину прямых в плане следует ограничивать согласно таблице 5.20.
Таблица 5.20
| Категория дороги | Предельная длина прямой в плане, м, на местности | |
| равнинной | пересеченной | |
| I | 3500 - 5000 | 2000 - 3000 |
| II, III | 2000 - 3500 | 1500 - 2000 |
| IV, V | 1500 - 2000 | 1500 |
5.39 Минимальные радиусы смежных закруглений в плане и максимальные скорости изменения кривизны сопрягающих их смежных переходных кривых рекомендуется назначать одинаковыми или различающимися не более чем в 1,3 раза.
5.40 При малых углах поворота дороги в плане рекомендуется применять радиусы круговых кривых не менее указанных в таблице 5.21.
Таблица 5.21
| Угол поворота, град | 1 | 2 | 3 | 4 | 5 | 6 | 7 - 8 |
| Наименьший радиус круговой кривой, м | 30000 | 20000 | 10000 | 6000 | 5000 | 3000 | 2500 |
5.41 Не рекомендуется короткая прямая вставка между двумя кривыми в плане, направленными в одну сторону. При длине ее менее 100 м рекомендуется заменять эти кривые одной кривой большего радиуса, при длине 100 - 300 м рекомендуется прямую вставку заменять переходной кривой большего параметра. Прямая вставка как самостоятельный элемент трассы допускается для дорог категорий I и II при ее длине более 700 м, для дорог категорий III и IV - более 300 м.
5.42 Недопустимы на участках прямых в плане длинные прямые вставки в продольном профиле. Их предельные длины приведены в таблице 5.22.
Таблица 5.22
| Радиус вогнутой кривой в продольном профиле, м | Алгебраическая разность продольных уклонов, ‰ | ||||||
| 20 | 30 | 40 | 50 | 60 | 80 | 100 | |
| Наибольшая длина прямой вставки в продольном профиле, м | |||||||
| Для дорог категорий I и II | |||||||
| 4000 | 150 | 100 | 50 | 0 | 0 | 0 | - |
| 8000 | 360 | 250 | 200 | 170 | 140 | 110 | - |
| 12000 | 680 | 500 | 400 | 350 | 250 | 200 | - |
| 20000 | - | - | 850 | 700 | 600 | 550 | - |
| 25000 | - | - | - | - | 900 | 800 | - |
| Для дорог категорий III и IV | |||||||
| 2000 | 120 | 100 | 50 | 0 | 0 | 0 | 0 |
| 6000 | 550 | 440 | 320 | 220 | 140 | 60 | 0 |
| 10000 | - | - | 680 | 600 | 420 | 300 | 200 |
| 15000 | - | - | - | - | - | 800 | 600 |
Велосипедные дорожки и тротуары
5.43 Велосипедные дорожки устраивают за пределами проезжей части дорог при соотношениях интенсивностей движения автомобилей и велосипедистов, указанных в таблице 5.23.
Таблица 5.23
| Интенсивность движения автомобилей (суммарная в двух направлениях), авт/ч | До 400 | 600 | 800 | 1000 | 1200 |
| Расчетная интенсивность движения велосипедистов, вел/ч | 70 | 50 | 30 | 20 | 15 |
В сельских поселениях велосипедные дорожки могут быть совмещены с пешеходными.
5.44 Велосипедные дорожки располагают на отдельном земляном полотне, у подошвы насыпей и за пределами выемок или на специально устраиваемых бермах.
На подходах к искусственным сооружениям велосипедные дорожки допустимо размещать на обочине с отделением их от проезжей части ограждениями или разделительными полосами.
5.45 Ширина разделительной полосы между автомобильной дорогой и параллельной или свободно трассируемой велосипедной дорожкой должна быть не менее 1,5 м. В стесненных условиях допускается разделительная полоса шириной 1,0 м, возвышающаяся над проезжей частью не менее чем на 0,15 м, с окаймлением бордюром.
5.46 Основные параметры велосипедных дорожек приведены в таблице 5.24.
Таблица 5.24
| Нормируемый параметр | Рекомендуемые значения | |
| при новом строительстве | минимальные при благоустройстве и в стесненных условиях | |
| Расчетная скорость движения, км/ч | 25 | 15 |
| Ширина проезжей части, м, для движения: | ||
| однополосного одностороннего | 1,0 | 0,75 |
| двухполосного одностороннего | 1,75 | 1,50 |
| двухполосного со встречным движением | 2,50 | 2,00 |
| Велопешеходная дорожка с разделением пешеходного и велосипедного движения | 4,00* | 3,25** |
| Велопешеходная дорожка без разделения пешеходного и велосипедного движения | 2,50*** | 2,00**** |
| Велосипедная полоса | 1,20 | 0,90 |
| Ширина обочин велосипедной дорожки, м | 0,5 | 0,5 |
| Наименьший радиус кривых в плане, м: | ||
| при отсутствии виража | 50 | 15 |
| при устройстве виража | 20 | 10 |
| Наименьший радиус вертикальных кривых, м: | ||
| выпуклых | 500 | 400 |
| вогнутых | 150 | 100 |
| Наибольший продольный уклон, ‰ | 60 | 70 |
| Поперечный уклон проезжей части, ‰ | 20 | 20 |
| Уклон виража, ‰, при радиусе: | ||
| 10 - 20 м | Более 40 | 30 |
| 20 - 50 м | 30 | 20 |
| 50 - 100 м | 20 | 15 - 20 |
| Габарит по высоте, м | 2,50 | 2,25 |
| Минимальное расстояние до бокового препятствия, м | 0,50 | 0,50 |
| * Ширина пешеходной дорожки 1,5 м, велосипедной - 2,5 м. ** Ширина пешеходной дорожки 1,5 м, велосипедной - 1,75 м. *** При интенсивности движения не более 30 вел/ч и 15 пеш/ч. **** При интенсивности движения не более 30 вел/ч и 50 пеш/ч. |
||
Однополосные велосипедные дорожки располагают с наветренной стороны от дороги (в расчете на господствующие ветры в летний период), двухполосные - при возможности по обеим сторонам дороги.
5.47 Велосипедные дорожки должны иметь твердое покрытие из асфальтобетона, бетона или каменных материалов, обработанных вяжущим.
Тротуары предусматривают в соответствии с требованиями СП 42.13330.
6 Пересечения и примыкания
Пересечения и примыкания автомобильных дорог
6.1 Пересечения и примыкания автомобильных дорог проектируют, исходя из категорий пересекаемых дорог с учетом перспективной интенсивности и состава движения по отдельным направлениям. При проектировании учитывают возможность стадийного развития узла.
6.2 Пересечения и примыкания дорог в плане располагают на прямых участках или на кривых радиусами не менее 2000 м - на дорогах категорий IA, IБ, IB и II и с радиусами не менее 800 м - на дорогах категорий III и IV.
Продольные уклоны дорог на подходах к пересечениям и примыканиям в одном уровне на протяжении расстояний видимости для остановки автомобиля (согласно таблицы 5.9) не должны превышать 40 ‰, чтобы обеспечить удовлетворительные условия для переменных режимов движения (торможения, разгона, переплетения, поворота).
6.3 В целях уменьшения помех от местного движения, повышения скоростей, удобства и безопасности движения основных потоков на автомобильных дорогах категорий I - III, количество пересечений, съездов и въездов должно быть возможно меньшим. Пересечения и примыкания на дорогах категории IA вне пределов населенных пунктов предусматривают не чаще чем через 10 км, на дорогах категорий IБ и II - 5 км, а на дорогах категории III - 2 км с учетом конкретных условий (застройка, начертание существующей сети дорог и т.д.).
6.4 Все съезды и въезды на подходах к дорогам категорий IБ, IB, II и III должны иметь покрытия:
- при песчаных, супесчаных и легких суглинистых грунтах - на протяжении 100 м;
- при черноземах, глинистых, тяжелых и пылеватых суглинистых грунтах - 200 м.
- Протяженность покрытий въездов на дороги категории IV предусматривают в два раза меньше, чем покрытий въездов на дороги категорий I - III.
- Обочины на съездах и въездах при длине, установленной в настоящем пункте, следует укреплять на ширину не менее 0,5 - 0,75 м.
6.5 Полевые дороги и скотопрогоны при пересечении с дорогами категорий I - III следует отводить под ближайшие искусственные сооружения с их соответствующим обустройством.
В случае отсутствия таких сооружений на участках дорог протяженностью свыше 2 км при необходимости предусматривают их устройство.
Габариты искусственных сооружений для полевых дорог и скотопрогонов при отсутствии специальных требований заинтересованных организаций принимают по таблице 6.1.
Таблица 6.1
| Назначение сооружения | Ширина, м | Высота, м |
| Для полевых дорог | 6 | 4,5 |
| Для прогона скота | 4 | 2,5 |
6.6 При наличии интенсивного движения пешеходов на основной дороге в зоне влияния объектов сервиса следует предусматривать оборудованные пешеходные переходы (наземные - нерегулируемые и со светофорным регулированием), пешеходные переходы в разных уровнях - надземные и подземные).
На дорогах категории I устраиваются пешеходные переходы только в разных уровнях (подземные или надземные).
Целесообразность введения светофорного регулирования, строительства пешеходных переходов в разных уровнях на дорогах категорий II и III в каждом конкретном случае определяют исходя из значений и соотношения интенсивности движения пешеходных и транспортных потоков на основе результатов технико-экономических расчетов.
6.7 Выбор типа пешеходного перехода определяется соотношением интенсивности движения пешеходов Nпеш и транспорта по основной дороге Na (рисунок 6.1).

I - нерегулируемые переходы; II - переходы со светофорным регулированием;
III - пешеходные переходы в разных уровнях (надземные и подземные)
Рисунок 6.1 - Области применения пешеходных переходов различных типов
6.8 На территории малого населенного пункта протяженностью до 0,5 км допускается устройство не более двух наземных пешеходных переходов с интервалом 150 - 200 м; в крупных населенных пунктах интервал между пешеходными переходами должен быть не более 300 м. Места расположения наземных пешеходных переходов должны быть видимы с основной дороги на расстоянии не менее 150 м.
6.9 При устройстве пешеходных переходов в разных уровнях обязательно принятие мер по устранению возможности выхода пешеходов на проезжую часть основной дороги (пешеходные ограждения и сетки на оси разделительных полос).
Подземные и надземные пешеходные переходы обозначаются соответствующими знаками, устанавливаемыми у лестничных сходов пешеходных тоннелей, мостов и путепроводов.
Пересечения и примыкания в одном уровне
6.10 Выбор схем пересечений и примыканий в одном уровне производится на основе экономического сопоставления вариантов с учетом категорий пересекающихся дорог, пропускной способности, безопасности и удобства движения по ним, стоимости строительства, затрат времени пассажиров, транспортных и дорожно-эксплуатационных расходов, стоимости отводимых под строительство земель.
6.11 Пересечения и примыкания автомобильных дорог в одном уровне проектируют в виде:
простых пересечений и примыканий при суммарной перспективной интенсивности движения менее 2000 приведенных ед./сут.;
канализированных пересечений и примыканий с островками и зонами безопасности при суммарной перспективной интенсивности движения от 2000 до 8000 приведенных ед./сут.;
кольцевых пересечений при суммарной перспективной интенсивности движения от 2000 до 8000 приведенных ед./сут. и относительном равенстве интенсивностей движения на пересекающихся дорогах, при условии, что они отличаются не более чем на 20 %, а количество автомобилей, совершающих левый поворот, составляет не менее 40 % суммарной интенсивности движения на пересекающихся дорогах.
6.12 Круговая проезжая часть должна быть шириной не менее 11,25 м. Диаметр центрального островка принимают согласно расчету, но не менее 60 м. При этом длина зоны перераспределения потоков на кольцевых проездах развязки между двумя соседними примыканиями дорог должна быть не менее указанной в таблице 6.2.
Таблица 6.2
Длина зоны перераспределения автомобильных потоков на кольцевых проездах развязки
| Длина зоны перераспределения, м | Пропускная способность зоны перераспределения потоков, приведенных ед/ч при скорости, км/ч | ||
| 40 | 50 | 60 | |
| 30 | 700 | 550 | 400 |
| 60 | 1000 | 800 | 650 |
| 90 | 1200 | 950 | 800 |
| 120 | 1400 | 1150 | 950 |
| 150 | 1600 | 1350 | 1100 |
| Примечание - Скорость автомобильного потока 40 км/ч обеспечивает максимальную пропускную способность развязки; скорость 60 км/ч - оптимальная расчетная скорость для движения грузовых автомобилей на развязках. | |||
6.13 Выделение полос движения на основных дорогах направляющими островками без возвышения над проезжей частью предусматривают в виде разметки соответствующих зон.
6.14 Пересечения и примыкания дорог в одном уровне независимо от схемы пересечений рекомендуется выполнять под прямым или близким к нему углом. В случаях, когда транспортные потоки не пересекаются, а разветвляются или сливаются, допускается устраивать пересечения дорог под любым углом с учетом обеспечения видимости.
6.15 Наименьший радиус кривых при сопряжениях дорог в местах пересечений или примыканий в одном уровне принимают в зависимости от категории дороги, с которой происходит съезд, независимо от угла пересечения и примыкания при съездах с дорог:
- категорий I, II - не менее 25 м;
- категории III - 20 м;
- категорий IV, V - 15 м.
При расчете на регулярное движение автопоездов (более 25 % в составе потока) радиусы кривых на съездах следует увеличивать до 30 м.
Сопряжение дорог в одном уровне выполняют с применением переходных кривых.
6.16 На пересечениях и примыканиях автомобильных дорог в одном уровне должна быть обеспечена видимость пересекающего или примыкающего направления на расстояние, указанное в таблице 5.9, в зависимости от категорий пересекающихся дорог.
Расположение примыканий на участках выпуклых кривых в продольном профиле и с внутренней стороны закруглений в плане допускается только при техническом обосновании.
6.17 Обеспечение видимости в местах расположения пересечений и примыканий дорог - важнейший фактор организации движения и его безопасности. В зоне пересечения или примыкания необходимо обеспечить видимость водителям, подъезжающим по главной и второстепенной дорогам, из условия остановки автомобилей до пересекаемых полос движения (рисунок 6.2).

а - на пересечениях автомобильных дорог в одном уровне;
б - на примыканиях автомобильных дорог в одном уровне;
La и Lд - расстояние видимости поверхности дороги;
L6 - расстояние боковой видимости; граница зоны видимости показана пунктиром
Рисунок 6.2 - Схемы обеспечения видимости
6.18 Расстояния видимости поверхности дороги La и Lд должны соответствовать расчетным скоростям движения на пересекаемых дорогах (А-А и Д-Д) и продольным уклонам на подходах (таблица 6.3).
Таблица 6.3
| Продольный уклон, ‰ | Расчетная скорость, км/ч | ||||||
| 150 | 120 | 100 | 80 | 60 | 50 | 40 | |
| Минимальные расстояния видимости поверхности дороги, м | |||||||
| Плюс 40 | 230 | 160 | 130 | 90 | 65 | 50 | 40 |
| Плюс 20 | 240 | 165 | 135 | 95 | 70 | 55 | 45 |
| 0 | 250 | 175 | 140 | 100 | 75 | 60 | 50 |
| Минус 20 | 260 | 180 | 145 | 105 | 80 | 65 | 55 |
| Минус 40 | 270 | 190 | 150 | 110 | 85 | 70 | 60 |
При этом расположение глаз водителя принимают на расстоянии 1,75 м от кромки проезжей части и на высоте 1,20 м над проезжей частью. Кроме того, главная дорога при приближении к пересечению должна просматриваться на расстоянии, большем приведенного в таблице 6.3, для своевременного фиксирования пересечения водителями автомобилей, движущихся по главной дороге, и для возможности оценки обстановки на ней (обзорности) водителями автомобилей, остановившихся на второстепенной дороге (рисунок 6.3) Это необходимо при расположении пересечений в зоне вертикальных выпуклых и горизонтальных кривых для назначения их радиусов. Автомобиль, подъезжающий по второстепенной дороге, останавливается в 10 м от кромки проезжей части главной дороги.
6.19 Расстояние обзорности Lобз соответствует расстоянию видимости из условия обгона и принимается не меньше 600 м. На дорогах категорий III - V, если не предполагается в перспективе перевод дороги в более высокую категорию, можно уменьшить Lобз на дорогах категории III - до 400 м, на дорогах категории IV - до 300 м и на дорогах категории V - до 200 м.

Рисунок 6.3 - Схема видимости по главной дороге и обзорности с второстепенной дорогой
В пределах зоны видимости посадка насаждений и застройка не допускаются, а имеющиеся должны быть устранены, если они не представляют собой особой ценности.
Пересечения и примыкания в разных уровнях (транспортные развязки)
6.20 Пересечения и примыкания в разных уровнях (транспортные развязки) надлежит принимать в следующих случаях:
- на дорогах категорий IА и IБ - с автомобильными дорогами всех категорий;
- на дорогах категории IB - с дорогами, расчетная интенсивность движения на которых превышает 1000 ед./сут.;
- на дорогах категории IB с числом полос движения шесть и более - с автомобильными дорогами всех категорий;
- на дорогах категорий II и III - между собой при суммарной расчетной интенсивности движения более 12000 ед./сут.
Транспортные развязки проектируют с таким расчетом, чтобы на дорогах категорий I и II не было левых поворотов, а также въездов и съездов с левыми поворотами, при которых пересекались бы в одном уровне потоки основных направлений движения.
6.21 В зависимости от размеров, состава и распределения движения по направлениям, а также от местных условий можно применять различные схемы развязок в разных уровнях. Типы транспортных развязок, а также геометрические параметры их соединительных ответвлений следует принимать с учетом обеспечения требуемой пропускной способности.
6.22 Элементы соединительных ответвлений транспортных развязок в целях уменьшения общей площади их размещения предусматривают исходя из переменной скорости движения.
Правоповоротные съезды на пересечениях в разных уровнях предусматривают из условия обеспечения расчетных скоростей на них не менее 60 км/ч для съездов с дорог категорий I и II и не менее 50 км/ч - с дорог категории III, причем при острых углах примыкания дорог их следует выполнять единой кривой без прямых вставок. Сопряжения с применением обратных кривых допускаются только при техническом обосновании.
Радиусы кривых левоповоротных съездов пересечений и примыканий с элементами транспортных развязок типа «клеверный лист» следует принимать равными не менее 60 м для дорог категорий I и II и не менее 50 м для дорог категории III. Левоповоротные съезды должны сопрягаться с участками прямых направлений через переходные кривые.
Примечание
- В особо стесненных условиях при пересечении или примыкании автомобильных дорог категорий IV и V допускается устройство «обжатых» транспортных развязок с уменьшением радиусов левоповоротных съездов до 30 м.
Съезды с дорог категорий I - III и въезды на них следует осуществляют с устройством переходно-скоростных полос в соответствии с 6.38 - 6.42.
6.23 Ширину проезжей части на всем протяжении левоповоротных съездов пересечений и примыканий в разных уровнях принимают 5,5 м, а правоповоротных съездов - 5,0 м без дополнительного уширения на кривых.
Ширина обочин с внутренней стороны закруглений должна быть не менее 1,5 м, с внешней - 3 м.
Продольные уклоны на съездах принимают не более 40 ‰. На однополосных съездах следует предусматривать устройство виражей с поперечным уклоном 20 ‰ - 60 ‰ в зависимости от принятых значений скорости движения, радиуса кривой и коэффициента сцепления шины с дорогой.
Минимальные радиусы выпуклых кривых в продольном профиле на съездах следует принимать в соответствии с расчетными скоростями по таблице 5.3.
6.24 Двухполосные съезды проектируют для дорог категории I из условия, что каждая полоса движения имеет ширину 3,75 м, и предусматривают уширение на кривых в соответствии с таблицей 5.19.
6.25 Число полос движения на соединительных ответвлениях принимают с учетом расчетной интенсивности движения и пропускной способности съезда.
Соединительные ответвления второстепенных направлений, а также в стесненных условиях или в холмистой местности допускается проектировать совмещенными для встречных направлений, которые должны быть разделены на участках примыканий к дорогам категорий IA, IБ, IB и II путем вписывания радиусов закруглений, соответствующих требованиям 6.22 для левоповоротных соединительных ответвлений.
Соединительные ответвления длиной 500 м и более проектируют с двумя полосами движения, независимо от интенсивности движения, для обеспечения возможности обгона тихоходных транспортных средств.
6.26 Для пересечений в разных уровнях разрабатывают мероприятия по обеспечению боковой видимости, видимости при движении на кривых и видимости в зонах выезда со съездов на автомобильные дороги (рисунок 6.4).

1 - границы зоны видимости внутри кривых;
2 - границы зоны боковой видимости;
3 - границы зоны видимости на въездах и съездах на магистраль
Рисунок 6.4 - Обеспечение видимости на пересечениях в разных уровнях типа «клеверного листа»
Минимальные расстояния боковой видимости от кромки проезжей части следует принимать 25 м для дорог категорий I - III и 15 м - для дорог категорий IV - V. Боковая видимость обеспечивается путем планировки и расчистки прилегающей территории. Тротуары и велосипедные дорожки рекомендуется удалять от земляного полотна на расстояние не меньше боковой видимости.
На кривых в плане с внутренней стороны должна быть обеспечена видимость поверхности дорог и в соответствии с расчетными скоростями движения на подходах к кривым и в пределах кривых, в зависимости от их параметров (радиус, поперечный уклон, коэффициент поперечного сцепления), а также в соответствии с допускаемыми скоростями движения. Особое внимание обеспечению видимости внутри кривых следует уделять:
в зоне съезда с основных дорог, так как съезжающие автомобили при неопределенности ситуации впереди значительным снижением скоростей и резким изменением траекторий движения могут создавать помехи основным потокам и предопределять аварийную обстановку;
- в зоне выезда на дорогу со съезда, так как водители должны быстро оценивать обстановку в секторе до 180°.
- В зоне выезда со съездов необходимо обеспечивать видимость автомобилей, движущихся по основной дороге и препятствующих выезду на нее. Треугольник минимальной видимости на выезде со съезда может быть построен из условия расчетной скорости движения на ней и скорости на съезде. Расстояния видимости поверхности дороги и съезда в соответствии с указанными скоростями откладываются по осям крайней полосы движения главной дороги и съезда от их сечений в точке сопряжения кромок проезжих частей навстречу движению и соединяются (см. рисунок 6.4).
- Обеспечение видимости внутри кривых и в зонах выездов на основную дорогу осуществляют путем срезки откосов или удаления препятствий на уровне бровок земляного полотна.
- В зоне пересечений в разных уровнях, как правило, не допускается устройство стоянок автомобилей, автобусных остановок и других сооружений, ограничивающих видимость или влияющих на режимы движения.
Примечания
1 При обеспечении боковой видимости следует учитывать положение дороги в насыпи или в выемке, так как это влияет на величину расстояния боковой видимости.
2 Боковую видимость с внутренней стороны кривых на съездах целесообразно уточнять из условия ее обеспечения с расстояния видимости поверхности дороги. Для этого из конечных точек расстояний видимости поверхности дороги, принятых для определения видимости внутри кривых, проводят прямые, равные расстоянию боковой видимости, а сопрягают их дальние точки обертывающей (см. на рис. 6.4 пунктир внутри левого поворотного съезда).
3 При определении видимости рекомендуется учитывать продольный уклон на съездах и на основных дорогах, за счет которого расстояние видимости поверхности дороги увеличивается на спусках примерно на 5 м на каждые 20 ‰ уклона, а на подъемах соответственно уменьшается.
6.27 В зоне пересечений и примыканий дорог в разных уровнях при наличии специальных заданий следует предусматривать дублирующие запасные пересечения в одном уровне. Дублирующие пересечения в одном уровне проектируют на одну или две категории ниже принятой для основной дороги с применением покрытий проезжей части переходного типа. Места расположения дублирующих пересечений согласовывают с заинтересованными организациями.
6.28 Путепроводы транспортных развязок через дороги всех категорий должны соответствовать требованиям СП 35.13330.
6.29 При назначении габарита приближения конструкций сооружений следует учитывать возможность перспективного развития дороги.
Пересечения автомобильных дорог с железными дорогами и другими коммуникациями
6.30 Пересечения автомобильных дорог с магистральными железными дорогами предусматривают вне пределов станций и путей маневрового движения преимущественно на прямых участках пересекающихся дорог. Острый угол между пересекающимися дорогами в одном уровне должен быть не менее 60°.
6.31 Пересечения автомобильных дорог категорий I - III с железными дорогами предусматривают в разных уровнях.
Пересечения автомобильных дорог категорий IV и V с железными дорогами предусматривают в разных уровнях из условия обеспечения безопасности движения при:
пересечении трех и более главных железнодорожных путей или когда пересечение располагается на участках железных дорог со скоростным (свыше 120 км/ч) движением или при интенсивности движения более 100 поездов в сутки;
расположении пересекаемых железных дорог в выемках, а также в случаях, когда не обеспечены нормы видимости согласно 6.17;
движении по автомобильным дорогам троллейбусов или устройстве на них совмещенных трамвайных путей.
6.32 На вновь строящихся и реконструируемых автомобильных дорогах и подъездных дорогах к промышленным предприятиям на переездах должна быть обеспечена видимость, при которой водитель автомобиля, находящегося от переезда на расстоянии не менее расстояния видимости для остановки (согласно таблице 5.9 в зависимости от категории дороги), мог видеть приближающийся к переезду поезд не менее чем за 400 м, а машинист приближающегося поезда мог видеть середину переезда на расстоянии не менее 1000 м.
6.33 Для существующих переездов удовлетворительной считается такая видимость, при которой из автомобиля, находящегося от ближайшего рельса на расстоянии 50 м и менее, приближающийся с любой стороны поезд виден на расстоянии, приведенном в таблице 6.4.
Таблица 6.4
| Скорость поезда, км/ч | 121 - 140 | 81 - 120 | 41 - 80 | 26 - 40 | 25 и менее |
| Расстояние видимости, м | 500 | 400 | 250 | 150 | 100 |
6.34 Ширину проезжей части автомобильных дорог на пересечениях в одном уровне с железными дорогами принимают равной ширине проезжей части дороги на подходах к пересечениям, а на автомобильных дорогах категории V - не менее 6,0 м на расстоянии 200 м в обе стороны от переезда.
Автомобильная дорога на расстоянии не менее 2 м от крайнего рельса должна иметь в продольном профиле горизонтальную площадку, кривую большого радиуса или уклон, обусловленный превышением одного рельса над другим, когда пересечение располагается в месте закругления железной дороги.
Подходы автомобильной дороги к пересечению на протяжении 50 м следует предусматривать с продольным уклоном не более 30 ‰.
Ограждающие тумбы и столбы шлагбаумов на пересечениях располагают на расстоянии не менее 0,75 м, а стойки габаритных ворот - на расстоянии не менее 1,75 м от кромки проезжей части.
6.35 При прокладке путепроводов над железнодорожными путями наряду с требованиями по обеспечению габаритов приближения строений к железнодорожным путям необходимо:
- обеспечить видимость пути и сигналов, требуемую по условиям безопасности движения поездов;
- предусмотреть водоотвод с учетом устойчивости земляного полотна железных дорог.
6.36 При пересечении автомобильных дорог с трубопроводами водопровод, канализация, газопровод, нефтепровод, теплофикационные трубопроводы и т.п.), а также с кабелями линий связи и электропередачи необходимо соблюдать требования нормативных документов на эти коммуникации.
Пересечения различных подземных коммуникаций с автомобильными дорогами рекомендуется предусматривать под прямым углом. Прокладка этих коммуникаций (кроме мест пересечений) под насыпями дорог не допускается.
6.37 Вертикальное расстояние от проводов воздушных телефонных и телеграфных линий до проезжей части в местах пересечений автомобильных дорог должно быть не менее 5,5 м (в теплое время года). Возвышение проводов при пересечении с линиями электропередачи должно быть, м, не менее:
| 6 - | при напряжении | до | 1 | кВ; |
| 7 - | » | » | 110 | » |
| 7,5 - | » | » | 150 | » |
| 8 - | » | » | 220 | » |
| 8,5 - | » | » | 330 | » |
| 9 - | » | » | 500 | » |
| 16 - | » | » | 750 | » |
Примечание - Расстояние определяется при высшей температуре воздуха без учета нагрева проводов электрическим током или при гололеде без ветра.
Расстояние от бровки земляного полотна до основания опор воздушных телефонных и телеграфных линий, а также высоковольтных линий электропередачи при пересечении дорог принимают не менее высоты опор.
Наименьшее расстояние от бровки земляного полотна до опор высоковольтных линий электропередачи, расположенных параллельно автомобильным дорогам, принимают равным высоте опор плюс 5 м.
Опоры воздушных линий электропередачи, а также телефонных и телеграфных линий допускается располагать на меньшем удалении от дорог при их расположении в стесненных условиях, на застроенных территориях, в ущельях и т.п., при этом расстояние по горизонтали для высоковольтных линий электропередачи должно составлять:
- а) при пересечении от любой части опоры до подошвы насыпи дороги или до наружной бровки боковой канавы для дорог:
- категорий I и II при напряжении до 220 кВ - 5 м и при напряжении 330 - 500 кВ - 10 м;
- остальных категорий при напряжении до 20 кВ - 1,5 м, от 35 до 220 кВ - 2,5 м и при 330 - 500 кВ - 5 м;
- б) при параллельном следовании от крайнего провода при не отклоненном положении до бровки земляного полотна при напряжении до 20 кВ - 2 м, 35 - 110 кВ - 4 м, 150 кВ - 5 м, 220 кВ - 6 м, 330 кВ - 8 м и 500 кВ - 10 м.
На автомобильных дорогах в местах пересечения с воздушными линиями электропередачи напряжением 330 кВ и выше устанавливают дорожные знаки, запрещающие остановку транспорта в охранных зонах этих линий.
Охранные зоны электрических сетей напряжением свыше 1,0 кВ устанавливаются:
- а) вдоль воздушных линий электропередачи в виде земляного участка или воздушного пространства, ограниченных вертикальными плоскостями, отстоящими по обеим сторонам от крайних проводов при не отклоненном их положении на расстоянии, м:
10 - при напряжении до 20 кВ; 15 - » » 35 кВ; 20 - » » 110 кВ; 25 - » » 150, 220 кВ; 30 - » » 330, 500, ±400 кВ; 40 - » » 750, ±750 кВ; 55 - » » 1150 кВ; - б) вдоль подземных кабельных линий связи электропередачи в виде земельного участка, ограниченного вертикальными плоскостями, отстоящими по обеим сторонам линии от крайних кабелей на расстоянии 1 м.
В охранных зонах строительство и реконструкцию проводят на основании письменного согласия предприятий (организаций), в ведении которых находятся эти сети.
Переходно-скоростные полосы
6.38 Переходно-скоростные полосы предусматривают на пересечениях и примыканиях в одном уровне в местах съездов на дорогах категорий I - III, в том числе к зданиям и сооружениям, располагаемым в придорожной зоне: на дорогах категории I при интенсивности 50 приведенных ед./сут. и более съезжающих или въезжающих на дорогу (соответственно для полосы торможения или разгона); на дорогах категорий II и III при интенсивности 200 приведенных ед./сут. и более.
На транспортных развязках в разных уровнях переходно-скоростные полосы для съездов, примыкающих к дорогам категорий I - III, являются обязательным элементом независимо от интенсивности движения.
Переходно-скоростные полосы на дорогах категорий I - IV предусматривают в местах расположения площадок для остановок автобусов и троллейбусов, а на дорогах категорий I - III - также у автозаправочных станций и площадок для отдыха (у площадок, не совмещенных с другими сооружениями обслуживания, полосы разгона допускается не устраивать).
У постов дорожно-патрульной службы в соответствии с 5.22 следует предусматривать остановочные полосы длиной по нормам для полос разгона и торможения.
6.39 Длину полос разгона, торможения и отгона принимают по таблице 6.5.
Таблица 6.5
| Категории дорог | Продольный уклон, ‰ | Длина полос полной ширины, м | Длина отгона полос разгона и торможения, м | ||
| на спуске | на подъеме | для разгона | для торможения | ||
| IB, IB и II | 40 | - | 140 | 110 | 80 |
| 20 | - | 160 | 105 | 80 | |
| 0 | 0 | 180 | 100 | 80 | |
| - | 20 | 200 | 95 | 80 | |
| - | 40 | 230 | 90 | 80 | |
| III | 40 | - | 110 | 85 | 60 |
| 20 | - | 120 | 80 | 60 | |
| 0 | 0 | 130 | 75 | 60 | |
| - | 20 | 150 | 70 | 60 | |
| - | 40 | 170 | 65 | 60 | |
| IV | 40 | - | 30 | 50 1 | 30 |
| 20 | - | 35 | 45 | 30 | |
| 0 | 0 | 40 | 40 | 30 | |
| - | 20 | 45 | 35 | 30 | |
| - | 40 | 50 | 30 | 30 | |
Отгон полос торможения начинают с уступа величиной 0,5 м. При выходе со съезда должна быть обеспечена видимость конца переходно-скоростной полосы.
6.40 При сопряжении переходно-скоростных полос со съездами, имеющими самостоятельные проезжие части для поворачивающих автомобилей, длину переходноскоростных полос полной ширины допускается уменьшать в соответствии с расчетными скоростями на съездах (см. рисунки 6.5 и 6.6), но не менее чем до 50 м для дорог категорий IБ, IB и II и до 30 м - для дорог категории III.
Скорость движения υ, км/ч, на кривых в плане выражается формулой

где Rгор - радиус горизонтальной кривой, м;
iв - поперечный уклон виража;
γ2φ2 - используемая доля коэффициента сцепления в поперечном направлении, расчетная величина которого может быть определена исходя из норм минимальных значений радиусов для различных скоростей движения по таблице 6.6.
Таблица 6.6
| Скорость, км/ч | 80 | 60 | 50 | 40 | 30 | 20 |
| γ2φ2 | 0,14 | 0,17 | 0,19 | 0,23 | 0,28 | 0,35 |
Длина полос торможения в настоящем своде правил принята равной длине остановочных путей или расстоянию видимости поверхности проезжей части для дорог категорий I - II при скорости 80 км/ч, для дорог категории III при скорости 60 км/ч и для дорог категории IV - V при скорости 30 км/ч. Расстояние видимости Sвид, м, поверхности проезжей части определяют по формуле

где iпр - продольный уклон;
γ1φ1 + ωк + ωв - сумма коэффициентов сопротивления движению при торможении для различных скоростей, представленная в таблице 6.7.
Таблица 6.7
| Скорость, км/ч | 80 | 60 | 50 | 40 | 30 |
| γ1φ1 + ωк + ωв | 0,323 | 0,245 | 0,214 | 0,166 | 0,114 |
Зависимость длины полосы торможения от скорости движения представлена графиком (рисунок 6.5), который позволяет быстро определять возможную величину уменьшения длины полосы торможения при изменении радиуса сопряжения.

Рисунок 6.5 - График уменьшения длины полосы торможения при различных продольных уклонах в зависимости от радиуса сопряжения съездов

Рисунок 6.6 - График уменьшения длины полосы разгона при различных продольных уклонах в зависимости от радиуса сопряжения съездов
6.41 Переходно-скоростные полосы для левоповоротных съездов дорог категорий I и II транспортных развязок типа «клеверный лист» предусматривают в виде единых по длине полос для смежных съездов, включая участок путепровода.
На близком к горизонтальному и прямом в плане участке автомобильных дорог категории IA длину полос торможения определяют по таблице 6.8.
Таблица 6.8
| Элементы полос торможения | Наименьшая длина элемента полос торможения, м, в зависимости от расчетной скорости, км/ч | ||
| 150 | 120 | 80 | |
| Полоса отгона | 120 | 120 | 100 |
| Полоса полной ширины при расчетной скорости на съезде, км/ч, не менее: | |||
| 80 | 150 | 40 | 0 |
| 60 | 230 | 120 | 0 |
| 40 | 280 | 170 | 50 |
| Примечание - В случае расположения полос торможения на кривых в плане или на участках с продольными уклонами длину полосы торможения полной ширины устанавливают расчетом. | |||
6.42 Ширину переходно-скоростных полос принимают равной ширине основных полос проезжей части.
Ширину укрепленных полос на обочинах, прилегающих к переходно-скоростным полосам, принимают по таблице 5.12.
6.43 Переходно-скоростные полосы (рисунок 6.7) в зоне пересечений и примыканий перед сопрягающими кривыми и в местах автобусных остановок на дорогах категорий I - III за пределами остановочных площадок на длине 20 м отделяют от основных полос движения разделительной полосой шириной 0,75 м для дорог категорий I и II и 0,5 м - для дорог категории III. Эти разделительные полосы предусматривают в одном уровне с прилегающими полосами движения и выделяют разметкой.
Полосы торможения для левых поворотов на пересечениях и примыканиях в одном уровне дорог категорий II и III рекомендуется предусматривать с устройством направляющих островков, располагаемых в одном уровне с прилегающими полосами и выделяемых разметкой.

а - в зоне автобусных остановок;
б - на пересечениях;
в - на самостоятельных съездах и въездах
Рисунок 6.7 - Схемы переходно-скоростных полос
7 Земляное полотно
7.1 Земляное полотно предусматривают с учетом категории дороги, типа дорожной одежды, высоты насыпи и глубины выемки, свойств грунтов, используемых в земляном полотне, условий производства работ по возведению полотна, природных условий района строительства и особенностей инженерно-геологических условий участка строительства, опыта эксплуатации дорог в данном районе, исходя из обеспечения требуемых прочности, устойчивости и стабильности как самого земляного полотна, так и дорожной одежды при наименьших затратах на стадиях строительства и эксплуатации, а также при максимальном сохранении ценных земель и наименьшем ущербе окружающей природной среде.
7.2 Земляное полотно включает в себя следующие элементы:
- верхнюю часть земляного полотна (рабочий слой);
- тело насыпи (с откосными частями);
- основание насыпи;
- основание выемки;
- откосные части выемки;
- устройство для поверхностного водоотвода;
- устройства для понижения или отвода грунтовых вод (дренаж);
- поддерживающие и защитные геотехнические устройства и конструкции, предназначенные для защиты земляного полотна от опасных геологических процессов (эрозии, абразии, селей, лавин, оползней и т.п.).
7.3 Природные условия района строительства характеризуются комплексом погодно-климатических, инженерно-геологических (включая геоморфологические), гидрологических и геокриологических факторов. Для первоначальной оценки природных условий района строительства следует использовать дорожно-климатическое районирование территории в соответствии с приложением Б.
Особенности гидрологических и инженерно-геологических условий участка трассы следует оценивать в связи с типом местности по условиям увлажнения территории (таблица В.1), гидрологическими и мерзлотными условиями и процессами, включая воздействие техногенных факторов (с учетом освоенности территории), геоморфологическими особенностями (рельефом) и др.
По условиям увлажнения верхней толщи грунтов различают три типа местности:
- 1-й - сухие участки;
- 2-й - сырые участки с избыточным увлажнением в отдельные периоды года;
- 3-й - мокрые участки с постоянным избыточным увлажнением.
7.4 Параметры конструкции земляного полотна могут назначаться с применением:
- широко апробированных и не требующих дополнительного обоснования специальными расчетами типовых решений, отвечающими настоящему своду правил;
- индивидуальных конструктивных решений, требующих обоснования специальными расчетами (в том числе типовых решений, требующих индивидуальной привязки).
- Индивидуальные решения, а также индивидуальную привязку типовых решений следует применять:
- для насыпей с высотой откоса более 12 м;
- для насыпей на участках временного подтопления, а также при пересечении постоянных водоемов и водотоков;
- для насыпей, сооружаемых на болотах глубиной более 4 м с выторфовыванием или при наличии поперечных уклонов дна болота более 1:10;
- для насыпей, сооружаемых на слабых основаниях (7.25);
- при использовании в насыпях грунтов повышенной влажности;
- при возвышении поверхностей покрытия над расчетным уровнем воды менее, указанного в 7.11;
- при использовании в насыпях прослоек из геосинтетических материалов (разделительных, армирующих, дренирующих, капилляро-прерывающих, гидроизолирующих, теплоизолирующих и т.п.) для регулирования водно-теплового режима верхней части земляного полотна, а также при специальных поперечных профилях;
- при сооружении насыпей на просадочных грунтах;
- при сооружении насыпей из крупнообломочных грунтов размерами обломков более 0,2 м;
- для выемок высотой откоса более 12 м в нескальных грунтах и более 16 м в скальных при благоприятных инженерно-геологических условиях;
- для выемок в слоистых толщах, имеющих наклон пластов в сторону проезжей части;
- для выемок, вскрывающих водоносные горизонты или имеющи х в основании водоносный горизонт, а также в глинистых грунтах с коэффициентом консистенции более 0,5;
- для выемок высотой откоса более 6 м в пылеватых грунтах в районах избыточного увлажнения, а также в глинистых грунтах и скальных размягчаемых грунтах, теряющих прочность и устойчивость в откосах под воздействием погодно-климатических факторов;
- для выемок в набухающих грунтах при неблагоприятных условиях увлажнения;
- для насыпей и выемок, сооружаемых в сложных инженерно-геологических условиях: на косогорах круче 1:3, на участках с наличием или возможностью развития склоновых процессов, оврагообразования, карста, наледи, вечной мерзлоты и т.п.;
- при возведении земляного полотна с применением взрывов или гидромеханизации;
- при сооружении периодически затопляемых дорог при пересечении водопотоков;
- при применении теплоизоляционных слоев на участках вечномерзлых грунтов.
- Необходимо также предусматривать водоотводные, дренажные, поддерживающие, защитные и другие сооружения, обеспечивающие устойчивость земляного полотна в сложных условиях, а также участки сопряжения земляного полотна с мостами и путепроводами.
7.5 Основные нормативные требования, которые надлежит выполнять и контролировать при сооружении земляного полотна, и методы контроля приведены в таблице 7.1.
Кроме указанных параметров при осуществлении проектных решений могут требоваться особые контролируемые параметры, предусматриваемые в проекте (например, контроль осадок насыпей на слабых основаниях и т.п.).
Таблица 7.1
| Конструктивный элемент, вид работ и контролируемый параметр | Значение нормативных требований |
| 1 Подготовка основания земляного полотна | |
| 1.1 Толщина снимаемого плодородного слоя грунта | Не более 10 % результатов определений могут иметь отклонения от проектных значений до ±40 %, остальные - до ±20 % |
| 1.2 Снижение плотности естественного основания | Не более 10 % результатов определений могут иметь отклонения от проектных значений до 4 %, остальные должны быть не ниже проектных значений |
| 2 Возведение насыпей и разработка выемок | |
| 2.1 Снижение плотности слоев земляного полотна* | Не более 10 % результатов определений могут иметь отклонения от проектных значений до 4 %, а остальные должны быть не ниже проектных значений |
| 2.2 Высотные отметки продольного профиля | Не более 10 % результатов определений могут иметь отклонения от проектных значений до ±20 мм (100 мм), остальные - до ±10 мм |
| 2.3 Расстояния между осью и бровкой земляного полотна | Не более 10 % результатов определений могут иметь отклонения от проектных значений до ±20 см; остальные - до ±10 см |
| 2.4 Поперечные уклоны | Не более 10 % результатов определений могут иметь отклонения от проектных значений в пределах от минус 0,010 мм до плюс 0,015 мм, остальные - до ±0,005 |
| 2.5 Уменьшение крутизны откосов | Не более 10 % результатов определений могут иметь отклонения от проектных значений до 20 %, остальные - до 10 % |
| 3 Устройство водоотвода | |
| 3.1 Увеличение поперечных размеров кюветов, нагорных и других канав (по дну) | Не более 10 % результатов определений могут иметь отклонения от проектных значений до 10 см, остальные - до 5 см |
| 3.2 Глубина кюветов, нагорных и других канав (при условии обеспечения стока) | Не более 10 % результатов определений могут иметь отклонения от проектных значений до ±10 см, остальные - до ±5 см |
| 3.3 Поперечные размеры дренажей | Не более 10 % результатов определений могут иметь отклонения от проектных значений до ±10 см, остальные - до ±5 см |
| 3.4 Продольные уклоны дренажей | Не более 10 % результатов определений могут иметь отклонения от проектных значений до ±0,002, остальные -до ±0,001 |
| 3.5 Ширина насыпных берм | Не более 10 % результатов определений могут иметь отклонения от проектных значений до ±30 см, остальные - до ±15 см |
| 4 Устройство присыпных обочин | |
| 4.1 Снижение плотности грунта в обочинах | Не более 10 % результатов определений могут иметь отклонения от проектных значений до 4 %, остальные должны быть не ниже проектных значений |
| 4.2 Толщина укрепления | Не более 10 % результатов определений могут иметь отклонения от проектных значений в пределах от минус 22 до 30 мм, остальные - до ±15 мм. |
| 4.3 Поперечные уклоны обочин | Не более 10 % результатов определений могут иметь отклонения от проектных значений в пределах от минус 0,010 до плюс 0,015, остальные - до ±0,005 |
| * При отсыпке земляного полотна из скальных (крупнообломочных) грунтов этот показатель для оценки качества не используется. | |
Грунты
7.6 Грунты, используемые в дорожном строительстве, по происхождению, составу, состоянию в природном залегании, набуханию, просадочности и степени цементации льдом подразделяются в соответствии с ГОСТ 25100. Разновидности грунтов по характеру и степени засоления устанавливают в соответствии с таблицей В.3 приложения В.
Грунты для рабочего слоя земляного полотна следует дополнительно подразделять по составу (глинистые грунты), набухаемости, относительной просадочности и склонности к морозному пучению, а также по льдистости и просадочности при оттаивании в соответствии с таблицами В.2, В.4 - В.10 приложения В.
Грунты для сооружения насыпей и рабочего слоя подразделяют по степени увлажнения, в соответствии с таблицей В.11 приложения В. При этом к грунтам с допустимой влажностью следует относить грунты, влажность которых соответствует требованиям таблицы В.12 приложения В.
7.7 К особым грунтам следует относить: торфяные и заторфованные; сапропели; илы; иольдиевые глины; лессы; аргиллиты и алевролиты; мергели, глинистые мергели и мергелистые глины; трепел; тальковые и пирофиллитовые; дочетвертичные глинистые грунты, глинистые сланцы и сланцевые глины; черноземы; пески барханные; техногенные грунты (отходы промышленности).
7.8 К слабым следует относить связные грунты, имеющие прочность на сдвиг в условиях природного залегания менее 0,075 МПа (при испытании прибором вращательного среза) или модуль осадки более 50 мм/м при нагрузке 0,25 МПа (модуль деформации ниже 5,0 МПа). При отсутствии данных испытаний к слабым грунтам следует относить торф и заторфованные грунты, илы, сапропели, глинистые грунты с коэффициентом консистенции свыше 0,5, иольдиевые глины, грунты мокрых солончаков.
7.9 К дренирующим следует относить грунты, имеющие при максимальной плотности при стандартном уплотнении по ГОСТ 22733 коэффициент фильтрации не менее 0,5 м/сут.
7.10 Пески со степенью неоднородности по ГОСТ 25100 менее 3, а также мелкие пески с содержанием по массе не менее 90 % частиц размером 0,10 - 0,25 мм следует относить к однородным.
Рабочий слой земляного полотна
7.11 Для обеспечения устойчивости и прочности рабочего слоя земляного полотна и дорожной одежды возвышение поверхности покрытия над расчетным уровнем грунтовых вод, верховодки или длительно (более 30 сут.) стоящих поверхностных вод, а также над поверхностью земли на участках с необеспеченным поверхностным стоком или над уровнем кратковременно (менее 30 сут.) стоящих поверхностных вод должно соответствовать требованиям таблицы 7.2.
За расчетный уровень грунтовых вод надлежит принимать максимально возможный осенний (перед промерзанием) уровень за период между восстановлениями прочности дорожных одежд (капитальными ремонтами). В районах, где наблюдаются частые продолжительные оттепели, за расчетный принимают максимально возможный весенний уровень грунтовых вод за период между капитальными ремонтами. В районах с глубиной промерзания менее толщины дорожной одежды за расчетный уровень принимают максимальный возможный уровень грунтовых вод требуемой вероятности превышения в период его сезонного максимума. Положение расчетного уровня грунтовых вод устанавливают по данным разовых краткосрочных замеров на период изысканий и прогнозов, составляемых организациями гидрогеологической службы страны. При отсутствии указанных данных, а также при наличии верховодки за расчетный допускается принимать уровень, определяемый по верхней линии оглеения грунтов.
Возвышения поверхности покрытия дорожной одежды над уровнем подземных вод или в слабо- и среднезасоленных грунтах следует увеличивать на 20 % (для суглинков и глин - 30 %), а при сильнозасоленных грунтах - 40 - 60 %.
В районах постоянного искусственного орошения возвышение поверхности покрытия над зимне-весенним уровнем грунтовых вод в зонах IV, V следует увеличивать на 0,4 м, а в зоне III - на 0,2 м.
При невозможности или нецелесообразности обеспечения требуемого возвышения должны быть предусмотрены специальные меры по регулированию водно-теплового режима рабочего слоя (замена грунта, устройство прослоек, в том числе из геосинтетических материалов, и т.п.), обосновываемых соответствующими расчетами.
Таблица 7.2
| Грунт рабочего слоя | Наименьшее возвышение поверхности покрытия, м, в пределах дорожно-климатических зон | |||
| II | III | IV | V | |
| Песок мелкий, супесь легкая крупная, супесь легкая | 1,1 0,9 | 0,9 0,7 | 0,75 0,55 | 0,5 0,3 |
| Песок пылеватый, супесь пылеватая | 1,5 1,2 | 1,2 1,0 | 1,1 0,8 | 0,8 0,5 |
| Суглинок легкий, суглинок тяжелый, глины | 2,2 1,6 | 1,8 1,4 | 1,5 1,1 | 1,1 0,8 |
| Супесь тяжелая пылеватая, суглинок легкий пылеватый, суглинок тяжелый пылеватый | 2,4 1,8 | 2,1 1,5 | 1,8 1,3 | 1,2 0,8 |
| Примечание - В числителе - возвышение поверхности покрытия над уровнем грунтовых вод, верховодки или длительно (более 30 сут.) стоящих поверхностных вод, в знаменателе - то же, над поверхностью земли на участках с необеспеченным поверхностным стоком или над уровнем кратковременно (менее 30 сут.) стоящих поверхностных вод. | ||||
7.12 Возвышение поверхности покрытия на участках насыпей, сооружаемых с откосами крутизной менее 1:1,5, а также с бермами, допускается уточнять на основании расчета.
7.13 Минимальное возвышение поверхности покрытия в дорожно-климатической зоне I устанавливают на основе теплотехнических расчетов (7.49), но не менее норм для дорожно-климатической зоны II согласно приложению Б.
7.14 При наличии в рабочем слое различных грунтов возвышение следует назначать по грунту, для которого требуемое возвышение имеет наибольшее значение.
7.15 При использовании в пределах 2/3 глубины промерзания грунтов групп III - V по пучинистости (таблицы В.6 и В.7 приложения В) при назначении конструкции дорожной одежды величину морозного пучения проверяют расчетом по результатам испытаний. Для дорог в зонах II и III при глубине промерзания до 1,5 м допускается величину морозного пучения определять по таблице В.8 приложения В.
В условиях дорожно-климатических зон IV и V рабочий слой должен состоять из ненабухающих и непросадочных грунтов (таблицы В.4 и В.5 приложения В) на глубину 1 и 0,8 м от поверхности цементобетонного и асфальтобетонного покрытий соответственно.
7.16 Степень уплотнения грунта рабочего слоя, определяемая величиной коэффициента уплотнения, должна отвечать требованиям таблицы 7.3.
Таблица 7.3
| Элементы земляного полотна | Глубина расположения слоя от поверхности покрытия, м | Наименьший коэффициент уплотнения грунта при типе дорожных одежд | |||||
| капитальном | облегченном и переходном | ||||||
| в дорожно-климатических зонах | |||||||
| I | II, III | IV, V | I | II, III | IV, V | ||
| Рабочий слой | До 1,5 | 0,98 - 0,96 | 1,0 - 0,98 | 0,98 - 0,95 | 0,95 - 0,93 | 0,98 - 0,95 | 0,95 |
| Неподтопляемая часть насыпи | Свыше 1,5 до 6 | 0,95 - 0,93 | 0,95 | 0,95 | 0,93 | 0,95 | 0,90 |
| Свыше 6 | 0,95 | 0,98 | 0,95 | 0,93 | 0,95 | 0,90 | |
| Подтопляемая часть насыпи | Свыше 1,5 до 6 | 0,96 - 0,95 | 0,98 - 0,95 | 0,95 | 0,95 - 0,93 | 0,95 | 0,95 |
| Свыше 6 | 0,96 | 0,98 | 0,98 | 0,95 | 0,95 | 0,95 | |
| В рабочем слое выемки ниже зоны сезонного промерзания | До 1,2 | - | 0,95 | - | - | 0,95 - 0,92 | - |
| До 0,8 | - | - | 0,95 - 0,92 | - | - | 0,90 | |
| Примечание - Большие значения коэффициента уплотнения грунта следует принимать при цементобетонных покрытиях и цементогрунтовых основаниях, а также при дорожных одеждах облегченного типа, меньшие значения - во всех остальных случаях. | |||||||
В районах поливных земель при возможности увлажнения земляного полотна требования к плотности грунта для всех типов дорожных одежд принимают такими же, как указано в графах для дорожно-климатических зон II и III.
Для земляного полотна, сооружаемого в районах распространения островной высокотемпературной вечной мерзлоты, коэффициенты уплотнения принимают как для дорожно-климатической зоны II.
7.17 При сохранении стабильной плотности и влажности грунтов в дорожно-климатических зонах II и III допускается при обосновании более значительное уплотнение верхней части рабочего слоя земляного полотна для использования в качестве нижнего конструктивного слоя дорожной одежды.
7.18 В зонах IV и V следует рассматривать вопрос о повышении плотности грунтов рабочего слоя земляного полотна по сравнению с таблицей 7.3 при соответствующем технико-экономическом обосновании и при условии защиты грунта, набухающего при увлажнении в процессе эксплуатации дороги. Для зоны V следует рассматривать вопрос о повышении степени уплотнения (до 1 - 1,05) верхней части рабочего слоя толщиной 0,2 - 0,3 м. Тоже предусматривают на дорогах категории I во всех дорожно-климатических зонах. В этих случаях наличие слоя с повышенной степенью уплотнения может учитываться при расчете дорожных одежд.
7.19 Требуемую степень уплотнения крупнообломочных природных и техногенных грунтов в рабочем слое устанавливают по результатам пробного уплотнения.
7.20. Не допускается использовать в пределах рабочего слоя особые грунты (7.7), а также грунты с влажностью более нормальной (таблица В.11 приложения В) без специальных технико-экономических обоснований, учитывающих результаты их непосредственных испытаний.
7.21 При соблюдении требований 7.11 - 7.16, 7.18, 7.20 допускаются применение типовых конструкций дорожных одежд без морозозащитных слоев и использование табличных значений расчетной влажности (с учетом расчетной схемы увлажнения, таблица В.13 приложения В) и показателей механических свойств грунтов рабочего слоя при расчете дорожных одежд.
При невозможности или нецелесообразности выполнения требований указанных пунктов предусматривают мероприятия по обеспечению прочности и устойчивости рабочего слоя или по усилению дорожной одежды:
- устройство морозозащитного слоя;
- регулирование водно-теплового режима земляного полотна с помощью гидроизолирующих, теплоизолирующих, дренирующих или капилляропрерывающих прослоек из геосинтетических материалов;
- укрепление и улучшение грунта рабочего слоя с использованием вяжущих, гранулометрических добавок и др.;
- применение армирующих прослоек из геосинтетических материалов;
- понижение уровня подземных вод с помощью дренажа;
- применение специальных поперечников земляного полотна в целях его защиты от поверхностной воды (уположенные откосы, бермы);
- сооружение дорожных одежд с техническим перерывом или в две стадии.
- Указанные мероприятия назначают на основе технико-экономических расчетов.
7.22 Рабочий слой проектируют в комплексе с дорожной одеждой для получения наиболее оптимальных решений.
Расчетные характеристики грунтов рабочего слоя определяют с учетом расчетной схемы увлажнения, устанавливаемой по таблице В.13 приложения В.
Насыпи
7.23 Для устройства насыпей ниже границы рабочего слоя разрешается без ограничений применять грунты и отходы промышленности, мало меняющие прочность и устойчивость под воздействием погодно-климатических факторов (циклов увлажнения-высушивания, промерзания-оттаивания). Грунты, а также отходы промышленного производства, изменяющие прочность и устойчивость под воздействием этих факторов и нагрузок с течением времени, в том числе особые грунты, допускается применять с ограничениями, обосновывая их применение результатами испытаний и специальных расчетов. В необходимых случаях предусматривают специальные конструктивные меры по защите неустойчивых грунтов от воздействия погодно-климатических факторов.
При использовании крупнообломочных грунтов с обломками более 0,2 м предусматривают выравнивающий слой между насыпью и дорожной одеждой толщиной не менее 0,5 м из грунта с размерами обломков не более 0,2 м.
7.24 На сопряжении с мостами насыпи на длине поверху не менее высоты насыпи плюс 2 м (считая от устоя) и понизу не менее 2 м необходимо возводить из непучинистых дренирующих грунтов.
7.25 Насыпи возводят с учетом несущей способности основания. Основания разделяют на прочные и слабые.
К слабым следует относить основания насыпей высотой до 12 м, в которых в пределах активной зоны имеются слои слабых грунтов (7.8) мощностью не менее 0,5 м.
Мощность активной зоны следует принимать ориентировочно равной ширине насыпи понизу. Если слои слабых грунтов располагаются на глубинах, больших ширины насыпи понизу, а также при насыпях высотой более 12 м, мощность активной зоны устанавливают расчетом.
При насыпях высотой более 12 м, отнесение основания к прочному или слабому должно быть обосновано расчетами на устойчивость.
Расчеты устойчивости основания насыпей могут быть основаны на использовании методов, обеспечивающих возможность:
- анализировать напряженное состояние основания с учетом прочности грунта основания на сдвиг, с определением степени развития в основании областей пластических деформаций;
- оценивать устойчивость основания при определении наиболее вероятной опасной поверхности скольжения.
- При высоте насыпи более 3 м в качестве расчетной нагрузки принимают нагрузку от собственной массы насыпи. При высоте насыпи менее 3 м дополнительно учитывают нагрузку от воздействия транспорта путем условного увеличения высоты насыпи.
- Указанные расчеты должны выполняться с использованием специальных методических документов, разрабатываемых в установленном порядке.
7.26 Крутизну откосов насыпей на прочном основании назначают в соответствии с таблицей 7.4.
Таблица 7.4
| Грунты насыпи | Наибольшая крутизна откосов при высоте откоса насыпи, м | ||
| До 6 | До 12 | ||
| в нижней части (0 - 6) | в верхней части (6 - 12) | ||
| Глыбы из слабовыветривающихся пород | 1:1 - 1:1,3 | 1:1,3 - 1:1,5 | 1:1,3 - 1:1,5 |
| Крупнообломочные и песчаные (за исключением мелких и пылеватых песков) | 1:1,5 | 1:1,5 | 1:1,5 |
| Песчаные мелкие и пылеватые, глинистые и лессовые | 1:1,5 1:1,75 | 1:1,75 1:2 | 1:1,5 1:1,75 |
| Примечания 1 В числителе даны значения для пылеватых разновидностей грунтов в дорожно-климатических зонах II и III и для одноразмерных мелких песков. 2 Высота откоса насыпи определяется разностью отметок верхней и нижней бровок откоса. При наличии косогорности высота откоса насыпи определяется разностью отметок верхней и нижней бровок низового откоса. 3 Наибольшую крутизну откоса насыпей из мелких барханных песков в районах с засушливым климатом назначают 1:2 независимо от высоты. |
|||
7.27 Крутизну откосов насыпей высотой до 3 м на дорогах категорий I - III назначают с учетом обеспечения безопасного съезда транспортных средств в аварийных ситуациях, как правило, не круче 1:4, а для дорог остальных категорий при высоте откоса насыпи до 2 м - не круче 1:3. На участках ценных земель допускается увеличение крутизны откосов до предельных значений, приведенных в таблице 7.4, с разработкой мероприятий по обеспечению безопасности движения (устройство ограждений и др.).
7.28 Крутизна откосов насыпей, приведенная в 7.26 и 7.27 предполагает их укрепление методом травосеяния или одерновки. При применении более капитальных методов укрепления, например с использованием геосинтетических материалов, крутизна может быть увеличена при соответствующем обосновании.
7.29 В случае слабых оснований, использования в насыпях глинистых грунтов повышенной влажности, а также в случае подтопляемых насыпей, конструкцию поперечного профиля насыпи назначают на основе расчетов или проверяют расчетом возможность применения типового поперечного профиля.
7.30 Фактический объем требуемого для насыпей из резервов грунта Vф определяют по формуле
Vф = Vk1,
где V - объем насыпи, м3;
k1 - коэффициент относительного уплотнения (отношение требуемой плотности грунта в насыпи, устанавливаемой с учетом таблицы 7.3, к его плотности в резерве или карьере, устанавливаемой при изысканиях). Ориентировочно коэффициент относительного уплотнения допускается принимать по таблице В.14 приложения В.
7.31 К насыпям на слабых основаниях предъявляются дополнительные требования:
- боковое выдавливание слабого грунта в основании насыпи в период эксплуатации должно быть исключено;
- интенсивная часть осадки основания должна завершиться до устройства покрытия (исключение допускается при применении сборных покрытий в условиях двухстадийного строительства);
- упругие колебания насыпей на торфяных основаниях при движении транспортных средств не должны превышать величины, допустимой для данного типа дорожной одежды.
Устойчивость и осадки основания насыпи, а также ее упругие колебания прогнозируют на основе расчетов.
Примечания
1 За завершение интенсивной части осадки допускается принимать момент достижения 90 %-ной консолидации основания или интенсивности осадки не более 2,0 см/год при дорожных одеждах капитального типа и 80 %-ной консолидации или интенсивности осадки не более 5,0 см/год при дорожных одеждах облегченного типа.
2 Допустимую интенсивность осадки разрешается уточнять на основе опыта эксплуатации дорог в тех или иных природных условиях.
7.32 Для насыпей из грунтов, влажность которых превышает допустимую (таблица В.12), предусматривают специальные мероприятия, обеспечивающие необходимую устойчивость земляного полотна. К числу таких мероприятий относят:
- осушение грунтов как естественным путем, так и за счет обработки их активными веществами типа негашеной извести, активных зол уноса и др.;
- ускорение консолидации грунтов повышенной влажности в нижней части насыпи (горизонтальные дренажи из зернистых или геосинтетических материалов - нетканых геотекстилей, дренажных матов, полимерных дренажных труб и др.) и предупреждение деформаций насыпей, связанных с их расползанием (уположение откосов и защита их от размыва, устройство горизонтальных прослоек из зернистых или армирующих геосинтетических материалов и т.д.).
Устройство покрытий дорожных одежд капитального и облегченного типов на таких насыпях предусматривают после завершения консолидации грунта насыпи.
При влажности грунтов ниже 0,9 оптимальной предусматривают в проекте специальные меры по их уплотнению (доувлажнение, уплотнение более тонкими слоями и т.п.).
7.33 Для насыпей с высотой откосов более 12 м в зависимости от конкретных условий в целях обеспечения устойчивости насыпи и ее откосов следует определять расчетом:
- возможную осадку насыпи за счет ее доуплотнения под действием собственной массы и ход этой осадки во времени;
- очертание поперечного профиля, обеспечивающее устойчивость откосов насыпи;
- безопасную нагрузку на основание, исключающую процессы бокового выдавливания грунта;
- величину и ход во времени осадки основания насыпи за счет его уплотнения под нагрузкой от массы насыпи.
Расчеты выполняют с использованием специальных методических документов, разрабатываемых в установленном порядке.
7.34 Высоту насыпи на участках дорог, проходящих по открытой местности, по условию снегонезаносимости во время метелей определяют расчетом по формуле
h = hs + Δh,
где h - высота незаносимой насыпи, м;
hs - расчетная высота снегового покрова в месте, где возводится насыпь, с вероятностью превышения 5 %, м (при отсутствии указанных данных допускается упрощенное определение hs по метеорологическим справочникам);
Δh - возвышение бровки насыпи над расчетным уровнем снегового покрова, необходимое для обеспечения ее незаносимости, м.
Примечание - В случаях, когда Δh оказывается меньше возвышения бровки насыпи над расчетным уровнем снегового покрова по условиям снегоочистки Δhsc (7.35), в формулу (7.2) вместо Δh вводится Δhsc.
Возвышение бровки насыпи над расчетным уровнем снегового покрова необходимо назначать, м, не менее:
- 1,2 - для дорог категории I;
- 0,7 - для дорог категории II;
- 0,6 - для дорог категории III;
- 0,5 - для дорог категории IV;
- 0,4 - для дорог категории V.
7.35 В районах, где расчетная высота снегового покрова превышает 1 м, необходимо проверять достаточность возвышения бровки насыпи над снеговым покровом по условию беспрепятственного размещения снега, сбрасываемого с дороги при снегоочистке, используя формулу
Δhsc = 0,375hsB/a,
где Δhsc - возвышение бровки насыпи над расчетным уровнем снегового покрова по условиям снегоочистки, м;
В - ширина земляного полотна, м;
а - расстояние отбрасывания снега с дороги снегоочистителем, м; для дорог с регулярным режимом зимнего содержания допускается принимать а = 8 м.
Выемки
7.36. Крутизну откосов выемок назначают в соответствии с таблицей 7.5.
Таблица 7.5
| Грунты | Высота откоса, м | Наибольшая крутизна откосов |
| Скальные: | ||
| слабовыветривающиеся | До 16 | 1:0,2 |
| легковыветривающиеся: | ||
| неразмягчаемые | До 16 | 1,05 - 1:1,5 |
| размягчаемые | До 6 | 1:1 |
| Свыше 6 до 12 | 1:1,5 | |
| Крупнообломочные | До 12 | 1:1 - 1:1,5 |
| Песчаные, глинистые однородные твердой, полутвердой и тугопластичной консистенции | До 12 | 1:1,5 |
| Пески мелкие барханные | До 2 | 1:4 |
| От 2 до 12 | 1:2 | |
| Лесс | До 12 | 1:0,1 - 1:0,5 1:0,5 - 1:1,5 |
| Примечания 1 В числителе приведена крутизна откосов в засушливой зоне, в знаменателе - вне засушливой зоны. 2 В скальных слабовыветривающихся грунтах допускаются вертикальные откосы. 3 На территориях с закрепленными растительностью песками допускается наибольшую крутизну при высоте откоса до 12 м принимать 1:2. 4 Высоту откоса выемки определяют разностью отметок верхней и нижней бровок откоса. В случае косогорности при пользовании настоящей таблицей в расчет берут верховой откос. |
||
7.37 Выемки глубиной до 1 м в целях предохранения от снежных заносов предусматривают раскрытыми с крутизной откосов от 1:5 до 1:10 или разделанными под насыпь. Выемки глубиной от 1 до 5 м на снегозаносимых участках предусматривают с крутыми откосами (1:1,5 - 1:2) и дополнительными полками или обочинами шириной не менее 4 м.
7.38 Выемки глубиной более 2 м в мелких и пылеватых песках, переувлажненных глинистых грунтах, легковыветривающихся или трещиноватых скальных породах, в пылеватых лессовидных и лессовых породах, а также в вечномерзлых грунтах, переходящих при оттаивании в мягкопластичное состояние, предусматривают с закюветными полками. Ширину закюветных полок принимают при мелких и пылеватых песках равной 1 м, в случае остальных указанных грунтов при высоте откоса до 6 м - 1 м, при высоте откоса до 12 м (для скальных пород - до 16 м) - 2 м. Для дорог категорий I - III при сооружении выемок в легковыветривающихся скальных грунтах допускается предусматривать кювет-траншею шириной не менее 3 м и глубиной не менее 0,8 м.
Поверхности закюветных полок придается уклон 20 - 40 % в сторону кювета. Уклон можно не предусматривать в случае скальных пород, а также песков в условиях засушливого климата.
7.39 Для выемок выполняют расчеты по оценке общей и местной устойчивости откосов, разрабатывают мероприятия по ее обеспечению, включая назначение соответствующего поперечного профиля, устройство дренажей, защитных слоев, укрепление откосов геосинтетическими материалами (объемные георешетки, геоматы, габионы) и т.п.
Земляное полотно в сложных условиях
7.40 Для назначения конструкции земляного полотна в сложных условиях должна быть обоснована возможность применения типовых решений или обоснованы индивидуальные решения.
7.41 Сейсмобезопасность земляного полотна автомобильной дороги необходимо обеспечивать в соответствии с требованиями СП 14.13330.
Конструкции земляного полотна на косогорах следует обосновывать соответствующими расчетами с учетом устойчивости косогора как в природном состоянии, так и после сооружения дороги.
На устойчивых горных склонах крутизной более 1:3 земляное полотно рекомендуется располагать на полке, врезанной в косогор. На склонах крутизной 1:10 - 1:5 земляное полотно следует устраивать в виде насыпи без устройства уступов в основании. При крутизне склонов от 1:5 до 1:3 земляное полотно устраивают в виде насыпи, полунасыпи-полувыемки либо на полке. В основании насыпи и полунасыпи-полувыемки устраивают уступы шириной 3 - 4 м и высотой до 1 м. Уступы не устраиваются на склонах из дренирующих грунтов, а также из скальных слабовывегривающихся грунтов.
В необходимых случаях предусматривают комплексные мероприятия, обеспечивающие устойчивость земляного полотна и склона, на котором оно располагается (дренажные устройства, поверхностный водоотвод, защита от эрозии, подпорные сооружения, изменение очертания склона и т.д., в том числе с применением геосинтетических материалов).
7.42 Конструкцию земляного полотна на болотах назначают на основе технико-экономического сравнения вариантов, предусматривающих удаление болотных грунтов (включая взрывной метод) или их использование в качестве основания насыпи с принятием в необходимых случаях специальных мер по обеспечению устойчивости, снижению и ускорению осадок и исключению недопустимых упругих колебаний.
При глубине болот до 6 м и высоте насыпей до 3 м проектирование насыпи допускается вести на основе привязки типовых решений с учетом типа болота.
При использовании болотных грунтов в основании насыпи наряду с общими требованиями должны соблюдаться требования 7.31.
Нижнюю часть насыпей на болотах, погружающуюся ниже уровня поверхности болота на 0,2 - 0,5 м, рекомендуется предусматривать из дренирующих песчаных или крупнообломочных грунтов. Применение других грунтов, включая торф, должно быть обосновано расчетами.
При применении конструкций с выторфовыванием требуемый объем грунта для насыпи назначают с учетом компенсации боковых деформаций стенок траншеи выторфовывания, определяемых расчетом.
7.43 Насыпи на затопляемых пойменных участках, пересечении водоемов и подходах к мостовым сооружениям предусматривают с учетом волнового воздействия, а также гидростатического и эрозийного воздействия воды в период подтопления. Для обеспечения возможности ремонта и укрепления откосов в период эксплуатации на таких участках при технико-экономическом обосновании допускается предусматривать устройство берм шириной не менее 4 м.
7.44 При устройстве насыпей на слабых основаниях назначают обосновываемые расчетами специальные мероприятия, обеспечивающие возможность использования слабых грунтов в основании (уположение откосов, устройство боковых призм, временную перегрузку, регламентацию режима отсыпки насыпи, устройство вертикального дренажа, грунтовых свай-дрен, свайного основания, устройство легких насыпей, армирование насыпей геосинтетическими материалами (ткаными геотекстилями, геосетками, плоскими и объемными георешетками, геокомпозитами и др.).
При сооружении насыпи на слабых грунтах, в том числе болотных, без их удаления и замены, в целях уменьшения величины осадки и для эффективной стабилизации насыпи устраивают в основании насыпи обойму или платформу из армирующих геосинтетических материалов.
7.45 При устройстве выемок в особых грунтах или насыпей с использованием особых грунтов, предусматривают мероприятия по предохранению земляного полотна от деформаций (ограничение по расположению и толщине слоев из этих грунтов, устройство защитных слоев из устойчивых грунтов, армирующие, гидроизолирующие и другие прослойки из геосинтетических материалов и т.д.).
7.46 В районах распространения засоленных грунтов земляное полотно предусматривают с учетом степени засоления, определяемой в соответствии с таблицей В.3 приложения В.
Слабо- и среднезасоленные грунты допускается использовать в насыпях на основе расчетов.
Сильнозасоленные грунты допускается использовать в качестве материала насыпей, в том числе и рабочего слоя, на участках местности 1-го типа по условиям увлажнения при обязательном применении мер, направленных на предохранение рабочего слоя от большего засоления.
Применение избыточно засоленных грунтов следует обосновывать специальными расчетами с принятием необходимых мер по нейтрализации их отрицательных свойств.
Земляное полотно на участках мокрых солончаков устраивают с соблюдением требований к насыпям на слабых основаниях (7.31.)
7.47 Конструкция земляного полотна в районах подвижных песков должна обеспечивать условие минимальной заносимости песком. При этом предусматривают мероприятия по предохранению земляного полотна от выдувания и образования песчаных заносов на полосе шириной 50 - 150 м в зависимости от рельефа местности, скорости направления ветра, степени подвижности песков, зависящей от закрепления поверхности растительностью (таблица В.15 приложения В), зернового состава песка и других факторов.
При незаросшей и слабозаросшей поверхности песков земляное полотно предусматривают преимущественно в виде насыпей высотой 0,5 - 0,6 м, возводимых из резервов глубиной до 0,2 м. В пределах равнин и межбарханных понижений должны быть предусмотрены:
- планировка полосы шириной 15 - 40 м с каждой стороны полотна;
- закрепление подвижных форм рельефа на ширину до 200 м за пределами полосы отвода.
Насыпи высотой более 1 м предусматривают с использованием песка из выемок или карьеров, размещаемых с подветренной стороны на расстоянии не менее 50 м от дороги.
Выемки глубиной до 2 м предусматривают раскрытыми с откосами не круче 1:10. При необходимости устройства водоотвода в выемке она должна быть разделана под насыпь с откосами не круче 1:4.
Выемки глубиной более 2 м предусматривают разделанными под насыпи высотой 0,3 - 0,4 м. При этом расстояние между подошвами внутреннего и внешнего откосов необходимо принимать равным 10 - 20 м в зависимости от силы и направления ветра и состава песка.
На участках с полузаросшей и заросшей поверхностью обеспечивают максимальное сохранение растительности и естественного рельефа прилегающей местности. С этой целью насыпи следует предусматривать минимальной высоты без резервов. Выемки предусматривают минимальной ширины с откосами 1:2. При необходимости получения из выемки требуемого количество грунта для насыпей предусматривают уширение выемки.
Для обеспечения проезда технологического транспорта по земляному полотну предусматривают устройство защитного слоя из глинистого грунта или песка, укрепленного вяжущими или иными способами, толщиной 0,15 - 0,2 м, либо укладку армирующей прослойки из рулонного геосинтетического материала и/или объемных георешеток.
7.48 Земляное полотно на орошаемой территории рекомендуется предусматривать в виде насыпей с учетом воздействия оросительной системы на его водно-тепловой режим.
Расстояние между бровками канала водно-сборно-сбросовой сети и резерва или водоотводной канавы принимают не менее 4,5 м. Использование кюветов, нагорных и водоотводных канав в качестве распределителей не допускается.
В качестве расчетного горизонта грунтовых вод принимают наивысший многолетний уровень, а на вновь осваиваемых территориях - по перспективным данным органов водного хозяйства.
7.49 Конструкции земляного полотна в дорожно-климатической зоне I назначают с учетом температурного режима толщи грунтов и их физико-механических свойств, определяющих величину осадки основания насыпи при оттаивании в период эксплуатации.
Земляное полотно предусматривают на основе теплотехнических расчетов исходя из принципов направленного регулирования уровня залегания верхнего горизонта вечномерзлых грунтов (ВГВМГ) в основании насыпи в период эксплуатации дороги.
7.50 Земляное полотно на участках залегания вечномерзлых грунтов предусматривают, руководствуясь одним из следующих принципов:
- первый - обеспечения поднятия ВГВМГ не ниже подошвы насыпи и сохранение его на этом уровне в течение всего периода эксплуатации дороги;
- второй - допущение оттаивания грунта деятельного слоя в основании насыпи в период эксплуатации дороги при условии ограничения осадок допустимыми пределами для конкретного типа покрытия;
- третий - обеспечение предварительного оттаивания вечномерзлых грунтов и осушения дорожной полосы до возведения земляного полотна.
По первому принципу земляное полотно предусматривают на участках низкотемпературной вечной мерзлоты, сложенной сильнопросадочными и глинистыми грунтами влажностью ниже границы текучести в деятельном слое при капитальном типе дорожных одежд, а также при проявлении на территории таких мерзлотных процессов и явлений, как бугры пучения, термокарст, морозобойное растрескивание, наличие в толще погребенных льдов различного генезиса и т.п.
Второй принцип применяют в качестве основного из конкурирующих вариантов, оцениваемых по технико-экономическим показателям.
Третий принцип используют на участках высокотемпературной вечной мерзлоты островного распространения, когда возможны заблаговременное оттаивание вечномерзлых грунтов и осушение дорожной полосы.
7.51 На участке со скальными крупнообломочными и песчаными породами, не содержащими прослоек и линз льда, в том числе с высокотемпературной вечной мерзлотой (как правило, островного распространения), а также на участках сезонного промерзания (при отсутствии вечномерзлых грунтов) земляное полотно предусматривают по нормам дорожно-климатической зоны II.
7.52 При проектировании по первому принципу положение ВГВМГ в основании обеспечивают назначением соответствующей высоты насыпи при применении традиционных дорожно-строительных материалов и устройством специальных прослоек из теплоизолирующих материалов (торфа, пенополистирола, шлака и т.п.) в основании и теле насыпи.
7.53 При проектировании по второму принципу высоту насыпи устанавливают по результатам теплофизических расчетов и расчета суммарной осадки основания и нестабильных слоев насыпи.
Допустимая суммарная осадка на конец срока службы дороги приведена в таблице 7.6. Прогнозирование осадки на период эксплуатации должно осуществляться на основе расчетов.
Таблица 7.6
| Тип дорожной одежды и условия ее устройства | Допустимая суммарная осадка основания и нестабильных слоев насыпи в период эксплуатации, см, при толщине нестабильных слоев, м | |||
| 0,5 | 1,0 | 1,5 | 2,0 | |
| Капитальные дорожные одежды со сборными железобетонными покрытиями, устраиваемые в одну стадию без технологического перерыва | 2 | 4 | 6 | 10 |
| Капитальные дорожные одежды с асфальтобетонными покрытиями, устраиваемые в один год с земляным полотном | 4 | 8 | 12 | 20 |
| Облегченные дорожные одежды | 6 | 12 | 18 | 30 |
| Переходные дорожные одежды | 8 | 16 | 24 | 40 |
При применении в конструкции насыпи армирующих прослоек допустимые осадки могут быть увеличены на 20 % при толщине стабильных слоев до 1,5 м и на 25 % при их толщине до 2,0 м.
7.54 На участках прогнозируемых наледей в районах островного распространения вечномерзлых грунтов и глубокого сезонного промерзания земляное полотно должно устраиваться так, чтобы глубина промерзания основания насыпи не превышала промерзания грунтовой толщи в естественных условиях. При сплошном распространении вечномерзлых грунтов земляное полотно предусматривают совместно с противоналедными устройствами (мерзлотным грунтовым поясом, водонепроницаемым экраном и др.), активизирующими наледный процесс в удалении от полотна дороги.
7.55 Выемки допускается предусматривать на участках местности с благоприятными мерзлотно-грунтовыми и гидрогеологическими условиями (скальные и щебенистые грунты) при отсутствии линз и прослоек льда. В случае необходимости устройства выемок в сложных мерзлотно-грунтовых и гидрогеологических условиях (напластование грунтов неоднородного состава, переменный уровень водоносных горизонтов, проявление мерзлотных процессов, сильнопросадочные грунты) могут быть предусмотрены: теплоизоляция откосов, конструктивные элементы из геосинтетических материалов, замена переувлажненных пылеватых глинистых грунтов песчаными или другими несвязными материалами, термоизолирующие слои в основании дорожной одежды и обеспечен надежный отвод воды из выемки. Принимаемые решения обосновывают расчетами. Мелкие выемки раскрывают или разделывают под насыпи.
7.56 В зависимости от рельефа, гидрогеологических и мерзлотно-грунтовых условий поверхностные и грунтовые надмерзлотные воды необходимо отводить от дорожного полотна за счет водоотводных канав, нагорных мерзлотных валиков и приоткосных берм, параметры которых устанавливают расчетом.
7.57 Устройство земляного полотна (включая защитные, подпорные и удерживающие конструкции) на оползневых и оползнеопасных участках, а также в районах распространения селей, осыпей, лавин, карста, слабых грунтов, просадочных и набухающих грунтов и на участках влияния абразии и речной эрозии осуществляют на основе специальных технических условий.
7.58 При соответствующем технико-экономическом обосновании в конструкциях земляного полотна допустимо использовать прослойки из геосинтетических материалов, выполняющих армирующую, дренирующую, фильтрующую или разделяющую роль в:
- основании насыпей на слабых грунтах;
- теле насыпей - для повышения устойчивости откосов; в качестве защитного фильтра в дренажных конструкциях; в качестве дрен, обеспечивающих отвод воды из водонасыщенного массива грунта; как разделяющую прослойку на контакте слоев грунта или зернистых материалов с различным гранулометрическим составом (препятствующую перемешиванию материалов слоев);
- основании технологических проездов на грунтах с низкой несущей способностью.
При разработке выемок в неблагоприятных грунтово-гидрологических условиях для обеспечения проезда строительной техники целесообразно предусматривать устройство технологических прослоек из армирующего геосинтетического материала с засыпкой дренирующим грунтом.
Водоотводные устройства
7.59 Для предохранения земляного полотна от переувлажнения поверхностными водами и размыва, а также для обеспечения производства работ по сооружению земляного полотна предусматривают системы поверхностного водоотвода (планировку территории, устройство канав, лотков, быстротоков, испарительных бассейнов, поглощающих колодцев и т.д.). Дно канав должно иметь продольный уклон не менее 5 %о и в исключительных случаях - не менее 3 ‰.
Вероятность превышения расчетных паводков при сооружении водоотводных канав и кюветов принимают для дорог категорий I и II - 2 %, категории III - 3 %, категорий IV и V - 4 %, а при возведении водоотводных сооружений с поверхности мостов и дорог - для дорог категорий I и II - 1 %, категории III - 2 %, категорий IV и V - 3 %.
Наибольший продольный уклон водоотводных устройств определяют в зависимости от вида грунта, типа укрепления откосов и дна канавы с учетом допускаемой по размыву скорости течения. При невозможности обеспечения допустимых уклонов предусматривают быстротоки, перепады и водобойные колодцы.
На местности с поперечным уклоном менее 20 ‰ при высоте насыпи менее 1,5 м, на участках с переменной сторонностью поперечного уклона, а также на болотах водоотводные канавы предусматривают с двух сторон земляного полотна.
На местности с поперечным уклоном, направленным в сторону земляного полотна следует предусматривать сплошной продольный водоотвод на протяжении от каждого водораздела до мест, где возможен отвод воды в сторону от земляного полотна.
Испарительные бассейны разрешается предусматривать в дорожно-климатических зонах IV и V. В качестве испарительных бассейнов допускается использовать местные понижения, выработанные карьеры и резервы глубиной не более 0,4 м. На участках, где под испарительный бассейн используется резерв, предусматривают насыпь с бермой.
7.60 Грунтовые поверхностные воды, которые могут влиять на прочность и устойчивость земляного полотна или на условия производства работ, следует перехватывать или понижать дренажными устройствами.
7.61 Высоту насыпей и оградительных дамб у средних и больших мостов и на подходах к ним, а также насыпей на поймах назначают с таким расчетом, чтобы бровка земляного полотна возвышалась не менее чем на 0,5 м, а бровка незатопляемых регуляционных сооружений и берм - не менее чем на 0,25 м над расчетным горизонтом воды с учетом подпора и высоты волны с набегом ее на откос.
7.62 Бровка земляного полотна на подходах к малым мостам и трубам должна возвышаться над расчетным горизонтом воды, с учетом подпора, не менее чем на 0,5 м при безнапорном режиме работы сооружения и не менее чем на 1 м - при напорном и полунапорном режимах.
Вероятность превышения паводка при устройстве насыпи на подходах к мостам следует принимать для дорог категорий I - III - 1 %, категорий IV и V - 2 %, а на подходах к трубам следует принимать для дорог категории I - 1 %, категорий II и III - 2 %, категорий IV и V - 3 %.
Укрепление земляного полотна, водоотводных сооружений и специальные геотехнические конструкции
7.63 Типы укрепления откосов земляного полотна и водоотводных сооружений должны отвечать требованиям работы укрепляемых сооружений, учитывать свойства грунтов, особенности погодно-климатических факторов, конструктивные особенности земляного полотна и обеспечивать возможность механизации работ и минимизации приведенных затрат на строительство и эксплуатацию. При назначении вида укрепления следует разрабатывать варианты и учитывать условия и время производства работ по сооружению земляного полотна и его укреплению.
Подтопляемые откосы насыпей защищают от волнового воздействия соответствующими типами укреплений в зависимости от гидрологического режима реки или водоема.
При соответствующем технико-экономическом обосновании взамен укреплений допускается применять уположение откосов (пляжный откос). Крутизну устойчивого к водному воздействию откоса определяют расчетом в соответствии с положениями СП 39.13330 в зависимости от гидрологических и климатических условий региона строительства и вида грунта насыпи. Ориентировочно крутизну пляжного откоса допускается принимать по таблице 7.7.
Таблица 7.7
| Грунт откоса | Крутизна откоса при высоте волны, м | |||||
| 0,1 | 0,2 | 0,3 | 0,4 | 0,5 | 0,6 | |
| Песок мелкий | 1:5 | 1:7,5 | 1:10 | 1:15 | 1:20 | 1:25 |
| Супесь легкая | 1:4 | 1:7 | 1:10 | 1:15 | 1:20 | 1:20 |
| Суглинок, глина | 1:3 | 1:5 | 1:7,5 | 1:10 | 1:15 | 1:15 |
7.64 Для укрепления откосов рекомендуется использовать геосинтетические материалы (объемные геоячейки, противоэрозионные геоматы, габионы и др.), которые могут выполнять роль конструкции, защищающей откос от эрозии и армирующей дернину, роль покрытия, улучшающего условия развития травяного покрова, ограждения, ограничивающего деформации грунта в приповерхностной зоне откоса, обратного фильтра в укреплениях подтопляемых откосов сборными элементами или каменной наброской.
Тип геосинтетических материалов, применяемых для укрепления откосов, должен быть обоснован в проекте с учетом свойств геосинтетического материала и функций, отводимых для него в конструкции (приложение Д).
7.65 При устройстве защитных и удерживающих сооружений, применяемых при возведении земляного полотна, необходимо учитывать условия работы конструкции в период ее строительства и эксплуатации при минимальных затратах на ее сооружение.
8 Дорожные одежды
8.1 Дорожная одежда должна соответствовать общим требованиям, предъявляемым к проезжей части дороги как транспортному сооружению. Эти требования надлежит обеспечивать выбором конструкции для дорожной одежды, соответствующих покрытий проезжей части, конструкции сопряжения проезжей части с обочинами и разделительной полосой, и типов укреплений обочин, созданием ровной и шероховатой поверхности проезжей части и т.д.
8.2 Конструкцию дорожной одежды и вид покрытия принимают исходя из транспортно-эксплуатационных требований и категории проектируемой дороги с учетом интенсивности движения и состава автотранспортных средств, климатических и грунтово-гидрологических условий, санитарно-гигиенических требований, а также обеспеченности района строительства дороги местными строительными материалами.
8.3 Дорожные одежды могут состоять из одного или несколько слоев. При наличии нескольких слоев дорожные одежды состоят из покрытия, основания и дополнительных слоев основания.
По сопротивлению нагрузкам от автотранспортных средств и по реакции на климатические воздействия дорожные одежды подразделяют на одежды с жесткими покрытиями или слоями основания (далее - жесткие дорожные одежды) и на одежды с нежесткими покрытиями и слоями основания (нежесткие дорожные одежды).
8.4 Типы дорожных одежд, основные виды покрытий и оснований и область их применения приведены в таблице 8.1.
Таблица 8.1
| Типы дорожных одежд | Основные виды покрытий | Применяются в соответствии с пунктом |
| Капитальные | Цементобетонные монолитные | 8.20; 8.27; 8.41 |
| Железобетонные, монолитные и сборные или из предварительно напряженного железобетона, армобетонные сборные и монолитные | 8.22; 8.24 | |
| Асфальтобетонные | 8.42 | |
| Облегченные | Асфальтобетонные | 8.42 |
| Из щебня, гравия и песка, обработанных вяжущими | 8.43; 8.44 | |
| Переходные | Щебеночные и гравийные; из грунтов и каменных материалов, обработанных вяжущими или армированных геосинтетическими материалами | 8.43 - 8.46 |
| Низшие | Из грунтов, армированных геосинтетическими материалами или улучшенных добавками | 8.43; 8.44 |
8.5 Дорожные одежды и толщины отдельных слоев должны обеспечивать безопасность дорожного движения, прочность, надежность, долговечность и морозоустойчивость всей конструкции. Основные нормативные требования, которые надлежит выполнять и контролировать при устройстве дорожной одежды, приведены в таблице 8.2.
Таблица 8.2
| Конструктивный элемент, вид работ и контролируемый параметр оснований и покрытий дорожных одежд | Значения нормативных требований |
| 1 Высотные отметки по оси | Не более 10 % результатов определений могут иметь отклонения от проектных значений до ±20 мм, остальные - до ±10 мм |
| 2 Поперечные уклоны | Не более 10 % результатов определений могут иметь отклонение от проектных значений до ±0,01, остальные - до ±0,005 |
| 3 Ширина слоя | |
| 3.1 Основания и покрытия асфальтобетонные, цементобетонные | Не более 10 % результатов определений могут иметь отклонения от проектных значений от минус 7,5 см до 10 см, остальные - до ±5 см |
| 3.2 Все остальные типы оснований и покрытий | Не более 10 % результатов определений могут иметь отклонения от проектных значений до ±10 см, остальные - от минус 5 см до плюс 10 см |
| 4 Толщина слоя | |
| 4.1 Основания и покрытия асфальтобетонные, цементобетонные | Не более 10 % результатов определений могут иметь отклонения от проектных значений до ±10 %, остальные до ±5 % |
| 4.2 Все остальные типы оснований и покрытий | Не более 10 % результатов определений могут иметь отклонения от проектных значений от минус 15 мм до 20 мм, остальные до ±10 % |
| 5 Поперечные уклоны | Не более 10 % результатов определений могут иметь отклонения от проектных значений до ±0,010, остальные - до ±0,005 |
| 6 Ровность (просвет под рейкой длиной 3 м) | |
| 6.1 Основания и покрытия асфальтобетонные, монолитные цементобетонные, из каменных материалов и грунтов, обработанных вяжущими | Не более 5 % результатов определений могут иметь значения до 6 мм, остальные до 3 мм |
| 6.2 Все остальные виды покрытий и оснований | Не более 5 % результатов определений могут иметь значения до 15 мм, остальные до 7 мм |
| 7 Превышение граней смежных плит (в швах) монолитных цементобетонных: | |
| покрытий | Не более 10 % результатов определений могут иметь значения до 4 мм, остальные - до 2 мм |
| оснований | Не более 20 % результатов определений могут иметь значения до 5 мм, остальные - до 3 мм |
| 8 Прямолинейность продольных и поперечных швов покрытия и основания | Не более 5 % результатов определений могут иметь отклонения от прямой линии до 10 мм, остальные до 5 мм. |
| 9 Ширина пазов деформационных швов всех видов покрытий | Отклонения от проектных значений до ±20 %, но не более 35 мм |
8.6 При расчете дорожных одежд на прочность учитывают перспективную интенсивность движения автомобилей различных типов, которую следует приводить к интенсивности воздействия расчетной нагрузки на одну наиболее нагруженную полосу проезжей части.
В качестве расчетной следует применять нормативную нагрузку в случаях, если:
- величина расчетной нагрузки проектируемой дороги меньше значения нормативной нагрузки;
- предполагается движение транспортных средств с осевой нагрузкой, превышающей нормативную более чем на 5 %, в количестве, не превышающем 5 % суммарной интенсивности движения грузовых автомобилей и автобусов.
Нормативную нагрузку назначают в соответствие с 5.2.
В случае, когда в составе движения проектируемой дороги предусматривается регулярное обращение автомобилей с осевой нагрузкой, превышающей нормативную (5.2) более чем на 5 %, в количестве более 5 %, за расчетную следует принимать максимальную нагрузку на наиболее нагруженную ось автомобиля.
При определении осевой нагрузки для многоосных автомобилей фактическую номинальную нагрузку на ось тележки, определяемую по паспортным данным, следует умножать на коэффициент Kс, вычисляемый по формуле

где Вm - расстояние между осями тележки, м;
а, в, с - параметры, определяемые в зависимости от капитальности дорожной одежды и числа осей тележки по таблице 8.3.
Таблица 8.3
| Тип тележки | Численные значения параметров формулы (8.1) | ||
| а | в | с | |
| Двухосная | 1,7 1,52 | 0,43 0,36 | 0,5 0,5 |
| Трехосная | 2,0 1,60 | 0,46 0,28 | 1,0 1,0 |
| Примечание - В числителе - для дорожных одежд капитального и облегченного типов, в знаменателе - для переходных. | |||
8.7 Конструкции дорожных одежд низшего типа назначают по региональным типовым решениям, разрабатываемым на основе практического опыта.
Для автомобильных дорог с многополосной проезжей частью дорожную одежду для всех полос движения рассчитывают на одинаковую наибольшую расчетную нагрузку.
8.8 Дорожные одежды рассчитывают по трем условиям, обеспечивающим требуемый уровень надежности и долговечности конструкции: по прочности, морозоустойчивости и осушению.
При расчете дорожных одежд на прочность используют расчетные значения прочностных и деформационных характеристик материалов и грунта конструктивных слоев.
За расчетные значения деформационных характеристик (модулей упругости) принимают их табличные нормативные значения (среднеарифметические), установленные по результатам многочисленных испытаний материалов.
За расчетные значения прочностных характеристик (сцепление, угол внутреннего трения, растяжения при изгибе) принимают их табличные нормативные значения, полученные в результате многочисленных испытаний, с учетом коэффициента нормированного отклонения, принимаемого в зависимости от требуемого уровня надежности.
8.9 Для нежестких дорожных одежд капитального и облегченного типов расчет на прочность выполняют по трем критериям прочности:
- по допустимому общему упругому прогибу конструкции;
- по допустимым напряжениям при изгибе монолитных слоев дорожной одежды (расчет на растяжение при изгибе);
- по допустимым сдвигающим напряжениям в грунте и слабосвязных дополнительных слоях основания (расчет по сдвигу).
Конструкции дорожных одежд низшего типа назначают по региональным типовым решениям, разрабатываемым на основе практического опыта.
8.10 Расчет на прочность покрытий из монолитного цементобетона проводят с учетом величины и повторяемости суммарных напряжений от нагрузок автомобилей и температуры с учетом требований ГОСТ Р 54257.
Расчет жестких дорожных одежд на прочность должен включать расчет монолитного покрытия и расчет основания.
8.11 Расчет на прочность основания жестких дорожных одежд с монолитными и сборными покрытиями производят по условию предельного равновесия при сдвиге в дополнительных слоях основания и в земляном полотне.
8.12 Расчет асфальтобетонных покрытий на бетонных основаниях производят по двум условиям:
трещиностойкости асфальтобетонного покрытия в наиболее холодный месяц зимы;
прочности - предельной сопротивляемости покрытия и основания воздействию многократно повторяющихся нагрузок от автотранспортных средств.
Прочность асфальтобетонного покрытия на цементобетонном основании рассчитывают для наиболее неблагоприятного периода года - жарких летних месяцев, когда модуль упругости асфальтобетона минимален.
8.13 Расчет на морозоустойчивость как жестких дорожных одежд, так и нежестких проводят для неблагоприятных грунтово-гидрологических условиях. Расчет выполняют путем определения (расчета) величины ожидаемого пучения грунта рабочего слоя земляного полотна и сравнения ее с допускаемой для данной конструкции величиной.
8.14 Расчет на осушение должен предусматривать определение толщины дренирующего слоя при заданном коэффициенте фильтрации материала слоя.
Расчет должен выполняться по принципу поглощения или по принципу полного осушения.
8.15 Покрытия должны иметь устойчивые во времени ровность и шероховатость поверхности, необходимые для обеспечения расчетных скоростей и безопасности движения. Значения глубин впадин шероховатости по апробированному методу «песчаное пятно», определяемые прибором типа КП-1319, должны соответствовать указанным в таблице 8.4.
Таблица 8.4
| Материал верхнего слоя покрытия | Минимальная средняя глубина впадин шероховатости, мм |
| Асфальтобетон | 1,0 |
| Поверхностная обработка | 1,2 |
| Цементобетон | 0,5 |
8.16 Шероховатые покрытия с применением каменных материалов, устойчивых против шлифуемости под воздействием движения, предусматривают для достижения стабильных во времени высоких значений коэффициентов сцепления шин автомобилей с поверхностью проезжей части.
Требуемые значения коэффициентов сцепления в зависимости от особенностей их участков и условий движения при увлажненной поверхности покрытий приведены в таблице 8.5.
Указанные в таблице 8.5 значения коэффициентов сцепления обеспечивают:
- устройством шероховатой поверхности способом поверхностной обработки или втапливанием щебня марки по прочности не ниже 1000;
- устройством покрытий из щебеночно-мастичных асфальтобетонных смесей и смесей типов А и Г с использованием щебня марки по прочности не ниже 1000 и дробленого песка изверженных горных пород;
- специальной отделкой поверхности цементобетонных покрытий.
Таблица 8.5
| Условия движения | Характеристика участков дорог | Коэффициент сцепления |
| Легкие | Участки прямые или на кривых радиусами 1000 м и более, горизонтальные или с продольными уклонами не более 30 ‰, с элементами поперечного профиля, соответствующими нормами таблицы 5.12, с укрепленными обочинами, без пересечений в одном уровне, при коэффициенте загрузки не более 0,3 | 0,45 |
| Затрудненные | Участки на кривых в плане радиусами от 250 до 1000 м, на спусках и подъемах с уклонами от 30 ‰ до 60 ‰, участки в зонах сужений проезжей части (при реконструкции), а также участки дорог, отнесенные к легким условиям движения, при коэффициенте загрузки в пределах 0,3 - 0,5 | 0,50 |
| Опасные | Участки с видимостью менее расчетной; подъемы и спуски с уклонами, превышающими расчетные; зоны пересечений в одном уровне, а также участки, отнесенные к легким и затрудненным условиям, при коэффициенте загрузки свыше 0,5 | 0,60 |
| Примечание - Коэффициенты сцепления установлены динамометрическим прицепным прибором ПКРС-2 (ГОСТ 30413) без учета их снижения в процессе эксплуатации дороги. При использовании других приборов (в частности, портативных) их показания должны быть приведены к показаниям прибора ПКРС-2. | ||
8.17 Крупношероховатые поверхности с высотой выступов 10 - 12 мм, получаемые путем поверхностной обработки с применением щебня размером 25 - 35 мм, рекомендуется предусматривать для устройства поперечных («шумовых») полос на подходах (на расстоянии 250 - 300 м) к опасным участкам дорог. Ширину поперечных полос принимают 5 - 7 м, расстояние между полосами - от 30 м в начале до 10 - 15 м в конце. В промежутках между полосами покрытие должно иметь шероховатую поверхность с параметрами, соответствующими опасным условиям движения (по таблице 8.5).
8.18 Ровность поверхности покрытия оценивается:
- просветами под трехметровой рейкой, получаемыми с помощью рейки или профилометра;
- отклонениями (амплитудами) высотных отметок точек профиля, полученных нивелированием с шагом 5 м или профилометром;
- международным индексом ровности IRI, полученным с помощью дорожного профилометра.
Методика измерений для метода трехметровой рейки и метода амплитуд приведена в ГОСТ 30412.
Требования к показателям ровности по методу амплитуд и международному индексу ровности IRI для оснований и покрытий из асфальтобетона, цементобетона и из каменных материалов и грунтов, обработанных вяжущими, приведены в таблице 8.6, а методика измерений - в приложении Г.
Таблица 8.6
| № п.п. | Категория автомобильной дороги | Допустимые значения амплитуд, мм | IRI, м/км не более | ||
| Длина прямой линии, м | |||||
| 10 | 20 | 40 | |||
| 1 | I, II, III | 5 | 8 | 16 | 2,2 |
| 2 | IV, V | 6 | 10 | 20 | 2,6 |
При этом 90 % определений значений амплитуд отметок точек профиля должны быть в пределах, указанных в таблице 8.6, а 10 % определений не должны превышать эти значения более чем в 1,5 раза.
Жесткие дорожные одежды
8.19 К жестким дорожным одеждам следует относить одежды, имеющие:
- цементобетонные монолитные покрытия;
- асфальтобетонные покрытия на основаниях из цементобетона;
- сборные покрытия из железобетонных или предварительно напряженных железобетонных и армобетонных плит.
8.20 Толщину бетонных покрытий назначают по расчету с учетом вида оснований, но не менее приведенной в таблице 8.7.
Таблица 8.7
| Вид основания | Толщина покрытия, см, по категориям дорог | ||
| I | II - III | IV - V | |
| Бетонное или из каменных материалов и грунтов, обработанных неорганическими вяжущими | 22 | 20 | 18 |
| Щебеночные и гравийные | - | 22 | 18 |
| Песчаные, песчано-гравийные | - | - | 18 |
8.21 В бетонном покрытии следует предусматривать поперечные и продольные швы. К поперечным относятся швы расширения, сжатия, коробления и рабочие. Система их расположения определяется с учетом климатологических и технологических особенностей условий строительства. Пересечение продольных и поперечных швов рекомендуется предусматривать под прямым углом. Расстояние между швами сжатия (длину плит) определяют расчетом.
Допускается назначать длину плит в зависимости от толщины покрытия с учетом климата согласно таблице 8.8.
Таблица 8.8
| Климат | Длина плиты, м, при толщине покрытия, см | |||
| 18 | 20 | 22 | 24 | |
| Умеренный | 4,5 - 5 | 5 - 6 | 5 - 6 | 5,5 - 7 |
| Континентальный | 3,5 - 4 | 4 - 5 | 4 - 5 | 4,5 - 6 |
| Примечание - Континентальный климат характеризуется разницей между максимальной и минимальной температурами воздуха за сутки более 12 °С при повторяемости более 50 раз в год. | ||||
8.22 Покрытия из сборных железобетонных плит на автомобильных дорогах предусматривают для сложных природных условий или при высоких насыпях, когда трудно обеспечивать стабильность земляного полотна.
8.23 В основаниях из бетона класса В 12,5 (Вtb1,6) и выше необходимо предусматривать продольные и поперечные швы сжатия и расширения.
8.24 Конструкции дорожных одежд со сборным покрытием из железобетонных и армобетонных плит допускается принимать на основе технико-экономических обоснований в районах со сложными инженерно-геологическими, гидрогеологическими и климатическими условиями с учетом ГОСТ Р 54257.
8.25 Плиты сборного покрытия принимают, по типовым проектам или по условиям прочности и трещиностойкости на действие колесной нагрузки и собственной массы плит при подъеме их за монтажные устройства и при укладке в штабеля и на транспортные средства.
8.26 Под сборные покрытия, укладываемые на песчаное основание, целесообразно устраивать сплошную прослойку из полотен геотекстиля на всю ширину покрытия с запасом по 0,5 м с каждой стороны и выпусками шириной 0,75 м от поперечных швов покрытия на откосы. При ширине плит более 1,5 м допускается устройство прослоек из полос геотекстиля шириной не менее 0,75 м под швами и кромками покрытия.
При соответствующем обосновании песчаное основание рекомендуется армировать объемными геоячейками.
8.27 На дорогах категорий I - III с насыпями высотой более 3 м из крупнообломочных грунтов с размерами обломков более 0,2 м, с насыпями на болотах при частичном выторфовывании высотой более 5 м из любых грунтов, у путепроводов через железные дороги в пределах до 200 м независимо от высоты насыпи, а также на участках дорог, где ожидаются неравномерные осадки земляного полотна, рекомендуется устраивать цементобетонные покрытия, армированные сетками.
8.28 При конструировании жестких дорожных одежд с верхним слоем из асфальтобетона должны быть предусмотрены мероприятия, обеспечивающие замедление процесса возникновения отдельных температурных трещин в покрытии, в том числе с использованием армирующих геосеток и геокомпозитов (приложение Д).
Нежесткие дорожные одежды
8.29 К нежестким следует относить все конструкции дорожных одежд, не отвечающие признакам, указанным в 8.19. Нежесткие дорожные одежды капитального и облегченного типов с усовершенствованным покрытием предусматривают с таким расчетом, чтобы за расчетный срок службы конструкции, возникающие деформации и разрушения могут быть устранены плановыми ремонтами исключительно покрытия.
8.30 Нежесткие дорожные одежды на полосах движения проезжей части следует рассчитывать на прочность с учетом кратковременного многократного действия подвижных нагрузок. Продолжительность действия нагрузки принимают равной 0,1 с и в расчет вводят соответствующие этой продолжительности значения модулей упругости и прочностных характеристик материалов и грунта.
Дорожную одежду на стоянках автомобилей и обочинах дорог рассчитывают на продолжительное действие нагрузки (длительностью не менее 10 мин) без учета повторности нагружения.
Дорожные одежды на остановках общественного транспорта, на подходах к перекресткам дорог и к пересечениям с железной дорогой следует рассчитывать как на многократное действие кратковременной нагрузки, так и на продолжительное нагружение, выбирая более мощную конструкцию.
8.31 Расчет нежестких дорожных одежд при кратковременном действии нагрузки следует выполнять по трем критериям прочности: упругому прогибу всей конструкции, сопротивлению сдвигу в грунте и в слабосвязных слоях дорожной одежды, сопротивлению монолитных слоев усталостному разрушению от растяжения при изгибе под расчетной нагрузкой.
Расчет нежестких дорожных одежд на длительное действие нагрузки выполняют по сдвигу в грунте и в слабосвязных слоях дорожной одежды.
8.32 Напряжения и деформации нежестких дорожных одежд и земляного полотна под действием расчетной нагрузки определяют с применением методов теории упругости для слоистого полупространства с учетом расчетных условий на контактах слоев. Допускается приводить многослойные дорожные одежды и земляное полотно к двум - и трехслойным расчетным моделям.
8.33 Независимо от результатов расчета на прочность дорожной одежды толщины конструктивных слоев в уплотненном состоянии следует принимать не менее приведенных в таблице 8.9.
Таблица 8.9
| Материалы покрытий и других слоев дорожной одежды | Толщина слоя, см |
| Крупнозернистый асфальтобетон (с размером зерен до 40 мм) | 7 |
| Мелкозернистый асфальтобетон (до 20 мм) | 5 |
| Щебеночно-мастичный асфальтобетон (до 10 мм) и песчаный асфальтобетон (до 5 мм) | 3 |
| Щебеночные (гравийные) материалы, обработанные органическим вяжущим | 8 |
| Щебень, обработанный органическим вяжущим по способу пропитки | 8 |
| Щебеночные и гравийные материалы, не обработанные вяжущим: | |
| на песчаном основании | 15 |
| на прочном основании (каменном или из укрепленного грунта) | 8 |
| Каменные материалы и грунты, обработанные органическими или неорганическими вяжущими | 10 |
Толщину конструктивного слоя принимают во всех случаях не менее двойного размера наиболее крупной фракции применяемого минерального материала.
В случае укладки каменных материалов на глинистые грунты предусматривают прослойку из геосинтетических материалов или прослойку толщиной не менее 10 см из песка, высевок, укрепленного грунта или других водоустойчивых материалов.
Между конструктивным слоем из каменных материалов и слоем из мелкозернистых грунтов предусматривают прослойку из геосинтетического материала или прослойку толщиной не менее 10 см из песка, высевок, укрепленного грунта или других водоустойчивых материалов.
Дополнительные слои для укрепленных полос, обочин и разделительных полос
8.34 В районах сезонного промерзания грунтов на дорогах с капитальными и облегченными дорожными одеждами, находящихся в неблагоприятных грунтово-гидрологических условиях, наряду с обеспечением требуемой прочности следует предусматривать противопучинные мероприятия, гарантирующие достаточную морозоустойчивость дорожной одежды и земляного полотна в соответствии с 7.15.
8.35 Специальные противопучинные мероприятия не требуются:
- в районах с глубиной промерзания менее 0,6 м;
- при земляном полотне, рабочий слой которого отвечает требованиям 7.12 - 7.16, 7.19 и 7.20;
- когда необходимая по условиям прочности толщина дорожной одежды превышает 2/3 глубины промерзания.
8.36 Толщину теплоизоляционных слоев разного назначения (для полного предотвращения промерзания земляного полотна или для ограничения глубины промерзания его допустимыми пределами) определяют теплотехническим расчетом.
8.37 На участках земляного полотна из глинистых грунтов и пылеватых песков предусматривают дренирующие слои с водоотводящими устройствами в основаниях и дополнительных слоях, выполненных из традиционных зернистых (пористых) материалов в сочетании с геосинтетическими дренажными матами и нетканым геотекстилем, в следующих случаях:
- в дорожно-климатической зоне II - при всех схемах увлажнения рабочего слоя земляного полотна (7.22);
- в дорожно-климатической зоне III - при 2-й и 3-й схемах увлажнения рабочего слоя;
- в зонах IV и V - при 3-й схеме увлажнения рабочего слоя.
Необходимость устройства дренирующих слоев на участках дорог, где основания или дополнительные слои дорожной одежды выполнены из грунтов и каменных материалов, обработанных вяжущими, устанавливается расчетом на осушение.
Толщину дренирующего слоя, необходимый коэффициент фильтрации, гранулометрический состав и другие требования к материалам, используемым для его устройства, устанавливают расчетом в зависимости от количества воды, поступающей в основание проезжей части, способа ее отвода, длины пути фильтрации и других факторов.
8.38 При расчете дорожной одежды на остановочных полосах следует принимать не менее 1/3 расчетной интенсивности или другую нагрузку, обосновываемую в проекте, при которой исключается быстрое накопление остаточных деформаций.
8.39 Покрытия на укрепленной полосе обочин (0,5 - 0,75 м) и разделительной полосы (краевые полосы) следует устраивать по типу дорожной одежды на основной проезжей части. Дорожную одежду на остановочной полосе (2,5 м) рекомендуется предусматривать из цементо- или асфальтобетона с применением щебня преимущественно крупных размеров (до 25 - 45 мм), а также из обработанных вяжущими каменных материалов, или армированных геосинтетическими материалами.
Поверхность остальной части обочины укрепляют в зависимости от категории дороги, грунтов земляного полотна и особенностей климата территории засевом трав, россыпью щебня, гравия, шлака и других наиболее дешевых местных крупнозернистых материалов.
Для предохранения обочин и откосов земляного полотна от размыва на участках дорог с продольными уклонами более 30 ‰, с насыпями высотой более 4 м, в местах вогнутых кривых в продольном профиле предусматривают устройство продольных лотков и других сооружений для сбора и отвода стекающей с проезжей части воды.
8.40 Разделительные полосы сопрягают с проезжей частью путей устройства на разделительной полосе укрепленных полос, расположенных в одном уровне с проезжей частью. Остальную часть разделительной полосы укрепляют засевом трав и, в зависимости от местных условий, посадкой кустарников (сплошной или в виде поперечных полос - кулис), располагаемых на расстоянии не менее 1,75 м от кромки проезжей части.
Материалы для дорожных одежд
8.41 Для цементобетонных покрытий и оснований следует применять бетоны тяжелый и мелкозернистый по ГОСТ 25192, ГОСТ 26633 и таблице 8.11. Классы бетона по прочности принимают по таблице 8.10.
Таблица 8.10
| Конструктивный слой дорожной одежды | Минимальные проектные классы по прочности | |
| На растяжение при изгибе, Вtb | На сжатие, В | |
| Монолитное покрытие | 4,0 | 30 |
| Монолитное основание | 1,2 | 7,5 |
| Сборное покрытие (основание) | 3,6 | 25 |
| Примечания 1 Классы бетона по прочности устанавливают в возрасте 28 сут. твердения в нормальных условиях по ГОСТ 10180, ГОСТ 18105. 2 Готовая бетонная смесь должна соответствовать ГОСТ 7473. 3 Состав бетона должен быть подобран и утвержден с учетом требований ГОСТ 27006. 4 Продолжительность ухода за бетоном должна быть предусмотрена в течение всего процесса твердения до момента формирования бетона с требуемыми свойствами, но не менее 28 сут. 5 Минимальный расход цемента в бетоне принимают согласно ГОСТ 26633. |
||
Минимальную проектную марку бетона по морозостойкости следует принимать по таблице 8.11.
Таблица 8.11
| Конструктивный слой дорожной одежды | Минимальные проектные марки бетона по морозостойкости F для районов со среднемесячной температурой воздуха наиболее холодного месяца, °С | ||
| От 0 до минус 5 | От минус 5 до минус 15 | Ниже минус 15 | |
| Покрытие | 100 | 150 | 200 |
| Основание | 25 | 50 | 50 |
| Примечания 1 Среднемесячную температуру воздуха наиболее холодного месяца для районов строительства следует определять по СП 131.13330. 2 Марку по морозостойкости принимают по результатам испытаний по ГОСТ 26633 и по ГОСТ 10060.2 для бетона покрытий и по ГОСТ 10060.1 - для бетона оснований. |
|||
Материалы для приготовления бетона, арматурная сталь, материалы для ухода за бетоном, материалы для устройства и герметизации деформационных швов должны соответствовать стандартам и техническим условиям.
8.42 Асфальтобетон и материал из смесей каменных материалов и грунтов, обработанных органическими вяжущими, должны соответствовать требованиям ГОСТ 9128, ГОСТ 31015, ГОСТ 30491 соответственно.
Для повышения устойчивости к образованию колеи и трещин в асфальтобетонных покрытиях рекомендуется предъявлять повышенные требования к показателям сдвигоустойчивости и трещиностойкости асфальтобетона, обосновывая их доступным методом в зависимости от расчетных условий эксплуатации. Для обеспечения требуемой сдвигоустойчивости и трещиностойкости рекомендуется применять полимерасфальтобетоны с использованием полимерно-битумных вяжущих (ПБВ) по ГОСТ Р 52056. При этом температура размягчения ПБВ, учитывая климатические условия эксплуатации покрытия, должна быть не ниже расчетной температуры сдвигоустойчивости покрытий и составлять не менее 60 °С для 1-й и 2-й дорожно-климатических зон и не менее 65 °С для 3-й и 4-й; температура хрупкости по Фраасу должна быть не выше температуры воздуха наиболее холодных суток района строительства в соответствии с СП 131.13330 с обеспеченностью 0,98 для дорог I - III категорий и обеспеченностью 0,92 для остальных категорий дорог. Показатель эластичности ПБВ при 25 °С должен быть не ниже 90 % для дорог I - III категорий и 85 % для дорог IV и V категорий и соответственно не ниже 80 % и 75 % при 0 °С. Для повышения трещиностойкости асфальтобетонных покрытий рекомендуется применять армирующие геосинтетические материалы.
8.43 Каменные материалы и грунты, обработанные неорганическими вяжущими, для покрытий и оснований должны соответствовать требованиям ГОСТ 23558 и таблице 8.12.
Таблица 8.12
| Показатели свойств материалов, обработанных неорганическими вяжущими | Показатели свойств | |
| для покрытий | для оснований | |
| Предел прочности на сжатие в возрасте 28 сут., МПа, не менее | 7,5 | 2,0 |
| Марка по морозостойкости для районов со среднемесячной температурой наиболее холодного месяца, °С, не менее: | ||
| от 0 до минус 5 | F15 | F10 |
| от минус 5 до минус 15 | F25 | F15 |
| от минус 15 до минус 30 | F50 | F25 |
| ниже минус 30 | F75 | F50 |
8.44 При устройстве оснований дорожных одежд по способу заклинки применяют щебень, отвечающий требованиям ГОСТ 8267, ГОСТ 3344 и ГОСТ 25607. При этом в качестве основного материала используют щебень фракции 40 - 70 (80) мм или фракции 70 (80) - 120 мм, а в качестве расклинивающего - фракции 5 - 10, 10 - 20 и 20 - 40 мм. При устройстве оснований дорожных одежд из щебня фракции 40 - 70 (80) мм для расклинки допускается применять щебеночно-песчаные смеси С10, С11 по ГОСТ 25607 вместо фракции 5 - 10 мм.
При устройстве щебеночных слоев допускается в качестве расклинивающего материала использовать асфальтобетонные смеси, а также мелкозернистые щебеночно-песчаные смеси, обработанные цементом.
Требования к щебню для устройства оснований по способу заклинки приведены в таблице 8.13.
Таблица 8.13
| Показатели свойств каменных материалов | Категория автомобильной дороги | |
| I - III | IV, V | |
| Марка по прочности на сжатие (раздавливание) в цилиндре в водонасыщенном состоянии, не менее: | ||
| щебня из изверженных и метаморфических пород | 800 | 800 |
| щебня из осадочных пород | 600 | 400 |
| щебня из шлаков черной и цветной металлургии, фосфорных | 600 | 400 |
| щебня из гравия | 600 | 400 |
| Марка по истираемости в полочном барабане, не менее | И3 | И4 |
| Марка по морозостойкости, не менее, для районов со среднемесячной температурой воздуха наиболее холодного месяца, °С, не менее: | ||
| от 0 до минус 5 | F15 | - |
| от минус 5 до минус 15 | F25 | F15 |
| от минус 15 до минус 30 | F50 | F25 |
| ниже минус 30 | F75 | F50 |
| Содержание зерен пластинчатой (лещадной) и игловатой формы, %, по массе, не более | 25 | 35 |
| Марка по водостойкости, не менее | В2 | В3 |
| Марка по пластичности, не менее | ПЛ2 | ПЛ3 |
| Устойчивость структуры: | ||
| потери при испытаниях, % по массе, не более | 5 | 7 |
| марка по устойчивости, не менее | УС2 | УС3 |
8.45 При устройстве конструктивных слоев дорожных одежд из плотных смесей, применяемые материалы по зерновому составу должны отвечать требованиям ГОСТ 25607 и ГОСТ 3344.
Требования к щебню (гравию), входящему в состав смесей, приведены в таблице 8.14.
Таблица 8.14
| Показатели свойств естественных каменных материалов и шлаков | Для покрытий | Для оснований | ||
| Категория автомобильной дороги | ||||
| IV | V | I - III | IV, V | |
| Марка по дробимости щебня в водонасыщенном состоянии, не ниже: | ||||
| щебня из изверженных и метаморфических пород; | 800 | 800 | 800 | 600 |
| щебня из осадочных пород; | 600 | 400 | 600 | 400 |
| гравия и щебня из гравия; | 800 | 600 | 800 | 400 |
| щебня из шлаков черной и цветной металлургии и из фосфорных шлаков | 800 | 600 | 600 | 300 |
| Марка по истираемости, не ниже | И3 | И3 | И3 | И4 |
| Марка по морозостойкости для районов со среднемесячной температурой воздуха наиболее холодного месяца, °С: | ||||
| от 0 до минус 5 | F15 | F15 | F15 | - |
| от минус 5 до минус 15 | F25 | F25 | F25 | F15 |
| от минус 15 до минус 30 | F50 | F50 | F50 | F25 |
| ниже минус 30 | F75 | F75 | F75 | F50 |
| Содержание зерен пластинчатой (лещадной) и игловатой формы, % по массе, не более | 25 | 25 | 35 | Не нормируется |
| Марка по водостойкости, не ниже | В1 | В1 | В2 | В3 |
| Марка по пластичности, не ниже | ПЛ1 | ПЛ1 | ПЛ2 | ПЛ3 |
| Устойчивость структуры: | ||||
| потери при испытаниях, %, по массе, не более; | 5 | 5 | 5 | 7 |
| марка по устойчивости, не ниже | УС2 | УС2 | УС2 | УС3 |
8.46 Устойчивость структуры определяется только для щебня из попутно добываемых вскрышных и вмещающих пород и некондиционных отходов горных предприятий по переработке руд, неметаллических ископаемых и других отраслей промышленности и щебня из шлаков черной и цветной металлургии, фосфорных шлаков.
Требования по прочности, истираемости и морозостойкости к щебню из активных и высокоактивных шлаков, входящих в состав готовых смесей, не предъявляются.
8.47 Для оснований из фосфополугидрата сульфата кальция в качестве материала слоя или расклинивающего материала при устройстве щебеночных оснований применяют материал непосредственно с технологических линий завода.
Водостойкость уплотненного материала в возрасте 28 сут. должна отвечать требованиям ГОСТ 25607.
По морозостойкости, определяемой по ГОСТ 23558, материал должен иметь марку Мрз 15 или Мрз 25.
8.48 Для устройства дополнительных слоев основания могут быть применены смеси С3 - С11 по ГОСТ 25607 и пески по ГОСТ 8736. Коэффициент фильтрации смесей и песков должен быть не менее 1 м/сут.
8.49 Для морозозащитных слоев допускается применять слабопучинистые песчаные грунты, которые удовлетворяют требованиям коэффициента пучения и сдвиговым характеристикам, устанавливаемым расчетом на прочность и морозостойкость дорожной одежды, и имеют коэффициент фильтрации не менее 0,2 м/сут.
8.50 Для устройства прослоек различного назначения в слоях дорожных одежд необходимо применять геосинтетические материалы в соответствии с приложением Д.
9 Мосты, трубы и тоннели
9.1 Мосты, путепроводы, виадуки, эстакады и трубы на автомобильных дорогах следует возводить в соответствии с требованиями СП 35.13330.
9.2 Автодорожные тоннели следует возводить в соответствии с требованиями ГОСТ 24451 и СП 122.13330.
9.3 Расчетная интенсивность движения для автодорожных тоннелей определяется в соответствии с 4.3 и 4.8. Для автодорожных тоннелей перспективный период принимают не менее 30 лет.
9.4 При сооружении на автомобильных дорогах мостов и тоннелей, а также участков подходов к ним следует соблюдать требования единообразия условий движения на дорогах.
9.5 На участках подходов к тоннелям проезжую часть выделяют разметкой в виде сплошной линии на расстоянии не менее 250 м от их порталов, выполняемой по кромке проезжей части.
10 Обустройство дорог и защитные дорожные сооружения
10.1 К обустройству дорог относятся технические средства организации дорожного движения (ограждения, знаки, разметка, направляющие устройства, сети освещения, светофоры, системы автоматизированного управления движением), озеленение, малые архитектурные формы.
10.2 Дорожные ограждения по условиям применения разделяются на две группы.
К ограждениям первой группы относятся барьерные конструкции (высотой не менее 0,75 м) и парапеты (высотой не менее 0,6 м), предназначенные для предотвращения вынужденных съездов транспортных средств на опасных участках дороги с мостов, путепроводов, а также столкновений со встречными транспортными средствами и наездов на массивные препятствия и сооружения.
К ограждениям второй группы относятся сетки, конструкции перильного типа и т.п. (высотой 0,8 - 1,5 м), предназначенные для упорядочения движения пешеходов и предотвращения выхода животных на проезжую часть.
10.3 Дорожные ограждения применяют в зависимости от назначения ограждений, их расположения, принципа работы. Ограждение должно соответствовать требованиям к уровню удерживающей способности, который выбирают с учетом степени сложности дорожных условий, а также прогибу, рабочей ширине и минимальной высоте.
10.4 Ограждения первой группы должны устанавливаться на обочинах участков автомобильных дорог категорий I - IV:
- проходящих по насыпям крутизной откоса 1:3 и более в соответствии с требованиями, приведенными в таблице 10.1;
- расположенных параллельно железнодорожным линиям, болотам типа III и водным потокам глубиной 2 м и более, оврагам и горным ущельям на расстоянии до 25 м от кромки проезжей части при перспективной интенсивности движения не менее 4000 приведенных ед./сут. и до 15 м при перспективной интенсивности менее 4000 приведенных ед./сут.;
- пролегающих на склонах местности крутизной более 1:3 (со стороны склона) при перспективной интенсивности движения не менее 4000 приведенных ед./сут.;
- со сложными пересечениями и примыканиями в разных уровнях;
- с недостаточной видимостью при изменении направления дороги в плане.
Предусматривают ограждение опор путепроводов, консольных и рамных опор информационно-указательных дорожных знаков, опор освещения и связи, расположенных на расстоянии менее 4 м от кромки проезжей части.
На обочинах дорог ограждения первой группы должны быть расположены на расстоянии не менее 0,5 м и не более 0,85 м от бровки земляного полотна в зависимости от жесткости конструкции дорожных ограждений.
Таблица 10.1
| Участки автомобильных дорог | Продольный уклон, ‰ | Перспективная интенсивность движения, приведенных ед./сут., не менее | Минимальная высота насыпи, м |
| Прямолинейные, кривые в плане радиусом более 600 м | До 40 | 2000 | 3,0 |
| Кривые в плане радиусом менее 600 м на спуске или после него с внутренней стороны | - | 1000 | 4,0 |
| Прямолинейные, кривые в плане радиусом более 600 м | 40 и более | 2000 | 2,5 |
| Кривые в плане радиусом менее 600 м на спуске или после него с внутренней стороны | - | 1000 | 3,5 |
| С внешней стороны кривых в плане радиусом менее 600 м на спуске или после него | До 40 | 2000 | 2,5 |
| С внешней стороны кривых в плане радиусом менее 600 м после спуска | - | 1000 | 3,5 |
| На вогнутых кривых в продольном профиле, сопрягающих встречные уклоны с алгебраической разностью до 50 ‰ | - | 2000 | 2,5 |
| На вогнутых кривых в продольном профиле, сопрягающих встречные уклоны с алгебраической разностью более 50 ‰ | - | 1000 | 3,5 |
| С внешней стороны кривых в плане радиусом менее 600 м на спуске | 40 и более | 2000 | 2,0 |
| С внешней стороны кривых в плане радиусом менее 600 м после спуска | - | 1000 | 3,0 |
На обочинах автомобильных дорог рекомендуется устанавливать ограждения:
- барьерные односторонние металлические энергопоглощающие с шагом стоек 1 м - с внешней стороны кривых в плане радиусом менее 600 м дорог категорий I и II;
- барьерные односторонние металлические энергопоглощающие с шагом стоек 2 м - на дорогах категорий I и II, кроме внутренней стороны кривых в плане радиусом менее 600 м;
- барьерные односторонние металлические энергопоглощающие с шагом стоек 3 м - на дорогах категорий I и II, кроме кривых в плане радиусом менее 600 м;
- барьерные односторонние металлические энергопоглощающие с шагом стоек 4 м - с внутренней стороны кривых в плане радиусом менее 600 м дорог категорий I и II;
- барьерные односторонние металлические жесткие - на дорогах категорий I и II, кроме внутренней стороны кривых в плане радиусом менее 600 м, и на прямолинейных участках и кривых в плане радиусом более 600 м дорог категории III;
- барьерные односторонние с металлической планкой на железобетонных стойках - с внутренней стороны кривых в плане радиусом менее 600 м дорог I и II категорий и на дорогах категории III;
- барьерные односторонние железобетонные с шагом стоек 1,25 м - с внутренней стороны кривых в плане радиусом менее 600 м дорог категории IV;
- барьерные односторонние железобетонные с шагом стоек 2,5 м - на прямолинейных участках и кривых в плане радиусом более 600 м дорог категории III и на дорогах категории IV;
- барьерные односторонние тросовые - с внутренней стороны кривых в плане радиусом менее 600 м дорог категории III и на дорогах категории IV;
- парапетного типа - в горной местности на участках дорог категорий I - IV, а при технико-экономическом обосновании - и на участках дорог категории V.
10.5 На разделительных полосах дорог категории I ограждения первой группы должны устанавливаться с учетом условий, указанных в таблице 10.2.
Таблица 10.2
| Число полос движения в обоих направлениях | Опасные препятствия на разделительной полосе | Перспективная интенсивность движения, приведенных ед./сут., при ширине разделительной полосы, м, не менее | |
| 3 - 4 | 5 - 6 | ||
| 4 | Отсутствуют | 30000 | 40000 |
| Имеются | 20000 | 30000 | |
| 6 | Отсутствуют | 40000 | 60000 |
| Имеются | 30000 | 50000 | |
На разделительной полосе ограждения первой группы должны быть расположены по ее оси, а при наличии опасных препятствий - вдоль оси разделительной полосы на расстоянии не менее 1 м от кромки проезжей части.
При ширине разделительной полосы более 3 м рекомендуется применять барьерные двусторонние металлические ограждения, а при ширине 3 м и менее - железобетонные ограждения парапетного типа, в том числе со специальным профилем боковых поверхностей.
10.6 При установке дорожных ограждений принимается расчетная интенсивность движения на 5-летнюю перспективу.
10.7 Не допускается применять ограждения барьерного типа с использованием тросов на автомобильных дорогах категорий I и II.
Не допускается устройство ограждений парапетного типа в виде отдельно стоящих блоков.
10.8 При сопряжении дорожных барьерных металлических энергопоглощающих ограждений с мостовыми ограждениями предусматривают постепенное доведение шага стоек дорожных ограждений до 1 м. При этом протяженность участков с одинаковым шагом стоек должна быть равна 8 м.
Примечания
1 В пределах переходных плит в местах соединения пролетных строений мостов и путепроводов с земляным полотном дороги применяют ограждения той же конструкции, что и на пролетных строениях.
2 В местах деформационных швов стыки балки ограждений выполняют с телескопирующим устройством.
Сопряжение двух односторонних металлических ограждений барьерного типа, расположенных параллельно на разделительной полосе дороги или на обочине в местах пересечений и примыканий, выполняют радиусом не менее 1 м.
10.9 При необходимости отклонения линии ограждения в плане его следует выполнять с отгоном не менее 10:1.
10.10 Ограждения второй группы должны:
- устанавливаться на разделительной полосе дорог категории I напротив автобусных остановок с пешеходными переходами (в том числе подземными и надземными) в пределах всей длины остановки и на протяжении не менее 20 м в каждую сторону за пределы ее границ;
- располагаться по оси разделительной полосы, а при наличии опор путепроводов, освещения, консольных и рамных опор информационно-указательных дорожных знаков - вдоль оси разделительной полосы на расстоянии не менее 1 м от кромки проезжей части для сеток и не менее 0,5 м для ограждений перильного типа.
10.11 Автомобильные дороги категории I, а также опасные участки дорог категорий II - V, когда не требуются искусственное освещение и установка ограждений первой группы, должны быть оборудованы направляющими устройствами в виде отдельно стоящих сигнальных столбиков высотой 0,75 - 0,8 м.
10.12 Сигнальные столбики на обочинах дорог категорий II - V устанавливают:
- в пределах кривых в продольном профиле и на подходах к ним (по три столбика с каждой стороны) при высоте насыпи не менее 2 м и интенсивности движения не менее 2000 приведенных ед./сут. на расстояниях, указанных в таблице 10.3;
- в пределах кривых в плане и на подходах к ним (по три столбика с каждой стороны) при высоте насыпи не менее 1 м на расстояниях, указанных в таблице 10.4;
- на прямолинейных участках дорог при высоте насыпи не менее 2 м и интенсивности движения не менее 2000 приведенных ед./сут. через 50 м;
- в пределах кривых на пересечениях и примыканиях дорог в одном уровне на расстояниях, указанных в таблице 10.4 для внешней стороны кривой;
- на дорогах, расположенных на расстоянии менее 15 м от болот и водотоков глубиной от 1 до 2 м, через 10 м;
- у мостов и путепроводов по три столбика до и после сооружения с двух сторон дороги через 10 м;
- у водопропускных труб по одному столбику с каждой стороны дороги по оси трубы.
Таблица 10.3
| Радиус кривой в продольном профиле, м | Расстояние между столбиками, м | |||
| в пределах кривой | на подходах к кривой | |||
| от начала до первого | от первого до второго | от второго до третьего | ||
| 200 | 7 | 12 | 23 | 47 |
| 300 | 9 | 15 | 30 | 50 |
| 400 | 11 | 17 | 33 | 50 |
| 500 | 12 | 19 | 37 | 50 |
| 1000 | 17 | 27 | 50 | 50 |
| 2000 | 25 | 40 | 50 | 50 |
| 3000 | 31 | 47 | 50 | 50 |
| 4000 | 35 | 50 | 50 | 50 |
| 5000 | 40 | 50 | 50 | 50 |
| 6000 | 45 | 50 | 50 | 50 |
| 8000 | 50 | 50 | 50 | 50 |
Таблица 10.4
| Радиус кривой в плане, м | Расстояние между столбиками, м | |||||
| в пределах кривой | на подходах к кривой | |||||
| на внешней стороне | на внутренней стороне | от начала до первого | от первого до второго | от второго до третьего | ||
| 20 | 3 | 6 | 6 | 10 | 20 | |
| 30 | 3 | 6 | 7 | 11 | 21 | |
| 40 | 4 | 8 | 9 | 15 | 31 | |
| 50 | 5 | 10 | 12 | 20 | 40 | |
| 100 | 10 | 20 | 25 | 42 | 50 | |
| 200 | 15 | 30 | 30 | 45 | 50 | |
| 300 | 20 | 40 | 36 | 50 | 50 | |
| 400 | 30 | 50 | 50 | 50 | 50 | |
| 500 | 40 | 50 | 50 | 50 | 50 | |
| 600 | 50 | 50 | 50 | 50 | 50 | |
10.13 На дорогах категории I сигнальные столбики следует устанавливать:
- между развязками на всем протяжении участков дорог, не имеющих ограждающих устройств проезжей части, через 50 м;
- в пределах закруглений с двух сторон съездов на расстояниях, указанных в таблице 10.4.
Сигнальные столбики следует устанавливать в пределах неукрепленной части обочин на расстоянии 0,35 м от бровки земляного полотна.
10.14 Применение дорожных знаков должно соответствовать требованиям ГОСТ Р 52289. Дорожные знаки должны соответствовать требованиям ГОСТ Р 52290, опоры дорожных знаков - требованиям ГОСТ 25458 и ГОСТ 25459, а также имеющимся типовым решениям.
10.15 Применение дорожной разметки должно соответствовать требованиям ГОСТ Р 52289, элементы дорожной разметки - требованиям ГОСТ Р 51256.
10.16 Стационарное электрическое освещение на автомобильных дорогах следует предусматривать на участках в пределах населенных пунктов, а при наличии возможности использования существующих электрических распределительных сетей -также на больших мостах, автобусных остановках, пересечениях дорог I и II категорий между собой и с железными дорогами, на всех соединительных ответвлениях узлов пересечений и на подходах к ним на расстоянии не менее 250 м, на кольцевых пересечениях и на подъездных дорогах к промышленным предприятиям или их участках при соответствующем технико-экономическом обосновании.
Если расстояние между соседними освещаемыми участками составляет менее 250 м, рекомендуется устраивать непрерывное освещение дороги, исключающее чередование освещенных и неосвещенных участков.
Вне населенных пунктов средняя яркость покрытия участков автомобильных дорог, в том числе больших и средних мостов, должна быть 0,8 кд/м2 на дорогах I категории, 0,6 кд/м2 на дорогах II категории, а на соединительных ответвлениях в пределах транспортных развязок - 0,4 кд/м2.
Отношение максимальной яркости покрытия проезжей части к минимальной не должно превышать 3:1 на участках дорог I категории, 5:1 на дорогах остальных категорий.
Показатель ослепленности установок наружного освещения не должен превышать 150.
Средняя горизонтальная освещенность проездов длиной до 60 м под путепроводами и мостами в темное время суток должна быть 15 лк, а отношение максимальной освещенности к средней - не более 3:1.
Освещение участков автомобильных дорог в пределах населенных пунктов следует выполнять в соответствии с требованиями СП 52.13330, а освещение автодорожных тоннелей - в соответствии с требованиями СП 122.13330.
Осветительные установки пересечений автомобильных и железных дорог в одном уровне должны соответствовать нормам искусственного освещения, регламентируемым системой стандартов безопасности труда на железнодорожном транспорте.
10.17 Опоры светильников на дорогах следует, как правило, располагать за бровкой земляного полотна.
Допускается располагать опоры на разделительной полосе шириной не менее 5 м с установкой ограждений.
Световые и светосигнальные приборы, располагаемые на мостах через судоходные водные пути, не должны создавать помех судоводителям в ориентировании и ухудшать видимость судоходных сигнальных огней.
10.18 Включение освещения участков автомобильных дорог следует предусматривать при снижении уровня естественной освещенности до 15 - 20 лк, а отключение - при его повышении до 10 лк.
В ночное время следует предусматривать снижение уровня наружного освещения протяженных участков автомобильных дорог (длиной свыше 300 м) и подъездов к мостам, тоннелям и пересечениям автомобильных дорог с автомобильными и железными дорогами путем выключения не более половины светильников. При этом не допускается отключение подряд двух светильников, а также расположенных вблизи ответвления, примыкания, вершины кривой в продольном профиле радиусом менее 300 м, пешеходного перехода, остановки общественного транспорта, на кривой в плане радиусом менее 100 м.
10.19 Электроснабжение осветительных установок автомобильных дорог надлежит осуществлять от электрических распределительных сетей ближайших населенных пунктов или сетей ближайших производственных предприятий.
Электроснабжение осветительных установок железнодорожных переездов следует, как правило, осуществлять от электрических сетей железных дорог, если эти участки железнодорожного пути оборудованы продольными линиями электроснабжения или линиями электроблокировки.
Управление сетями наружного освещения следует предусматривать централизованным дистанционным или использовать возможности установок управления наружным освещением ближайших населенных пунктов или производственных предприятий.
10.20 В необходимых случаях для автомобильной дороги должна быть предусмотрена защита участков дороги от опасных геологических процессов (оползней, обвалов, селей, водной и ветровой эрозии и т.п.). При этом следует руководствоваться положениями СП 116.13330.
10.21 Защита от опасных геологических процессов должна осуществляться с учетом механизма развития процесса, выявляемого на основе детальных инженерно-геологических изысканий, охватывающих зону развития процесса.
10.22 Для защиты от водной и ветровой эрозии могут использоваться специальные насаждения, конструкции укрепления склонов и откосов, в том числе с использованием геосинтетических материалов, в сочетании с комплексом геотехнических инженерных мероприятий, проектируемых с учетом местных конкретных условий и опыта.
10.23 Защита дорог от оползневых процессов может включать планировочные работы, устройство грунтовых контрбанкетов, подпорных стен различных типов, анкерных удерживающих конструкций, свайных противооползневых конструкций и др.
10.24 Для защиты дорог от селей следует предусматривать: лесонасаждение, селезадерживающие сооружения, селепропускные сооружения, селеотводящие сооружения и др.
10.25 На автомобильных дорогах всех категорий следует предусматривать оформление и озеленение с учетом соблюдения принципов ландшафтного проектирования, охраны природы, обеспечения естественного проветривания дорог, защиты придорожных территорий от шума, природных, хозяйственных, исторических и культурных особенностей районов проложения дорог.
10.26 В проекте должны быть предусмотрены мероприятия, надежно защищающие участки дороги, проходящие по открытой местности, от снежных заносов во время метелей.
Защита от снежных заносов не предусматривается:
- при расчетном годовом снегоприносе менее 25 м3 на 1 м дороги, расположенной на орошаемых или осушенных землях, пашне, земельных участках, занятых многолетними плодовыми насаждениями и виноградниками;
- при устройстве дорог в насыпях с возвышением бровки земляного полотна над расчетным уровнем снегового покрова на величину, указанную в 6.24, в выемках, если снегоемкость откоса больше объема снегоприноса к дороге;
- при устройстве дорог в лесных массивах при отсутствии разрывов и просек.
10.27 На заносимых участках дорог защиту от снежных заносов следует предусматривать:
- на дорогах категорий I - III - снегозащитными лесонасаждениями, переносными щитами или сетками, или постоянными заборами;
- на дорогах категорий IV и V - снегозащитными лесонасаждениями или временными защитными устройствами (снеговыми валами, траншеями).
Ширину снегозащитных лесонасаждений с каждой стороны дороги, а также расстояния от бровки земляного полотна до этих насаждений следует принимать по нормам, приведенным в таблице 10.5.
Таблица 10.5
| Расчетный годовой снегопринос, м3/м | Ширина снегозащитных лесонасаждений, м | Расстояние от бровки земляного полотна до лесонасаждений, м |
| От 10 до 25 | 4 | 15 - 25 |
| Свыше 25 » 50 | 9 | 30 |
| » 50 » 75 | 12 | 40 |
| » 75 » 100 | 14 | 50 |
| » 100 » 125 | 17 | 60 |
| » 125 » 150 | 19 | 65 |
| » 150 » 200 | 22 | 70 |
| » 200 » 250 | 28 | 50 |
| Примечания 1 Ширина снегозащитных лесонасаждений и их конструкция при снегоприносе более 250 м3/м определяется индивидуальным проектом, утвержденным в установленном порядке. 2 Меньшие значения расстояний от бровки земляного полотна до лесонасаждений при расчетном годовом снегоприносе 10 - 25 м3/м принимаются для дорог IV и V категорий, большие значения - для дорог I - III категорий. 3 При снегоприносе от 200 до 250 м3/м принимается двухполосная система лесонасаждений с разрывом между полосами 50 м. |
||
10.28 Защита дорог от снежных заносов на участках, располагаемых на землях государственного лесного фонда, покрытых лесом, в случае намечаемого проведения рубок обеспечивается сохранением с обеих сторон дороги лесных полос шириной 250 м каждая (считая от оси дороги).
10.29 Постоянные снегозащитные заборы следует проектировать в один или несколько рядов высотой от 3 до 5 м из расчета на задержание максимального расчетного годового объема снега обеспеченностью один раз в 15 лет, а в сильнозаносимых местностях малонаселенных районов - один раз в 20 лет.
Постоянный забор располагают на расстоянии, равном 15 - 25-кратной высоте забора от бровки откоса выемки в месте ее наибольшей глубины, а при расположении дороги на насыпи - от бровки земляного полотна. При необходимости (обоснованной расчетом) устраивают дополнительные ряды заборов с расстояниями между ними, равными 30-кратной высоте забора.
Постоянные заборы следует сооружать с разрывами для проезда транспортных средств и сельскохозяйственных машин в местах, согласованных с землепользователями.
10.30 Защиту дорог и дорожных сооружений от воздействия прилегающих оврагов, оползней, размыва водными потоками, а также от песчаных заносов следует осуществлять с помощью специальных насаждений, сочетающихся с комплексом геотехнических инженерных мероприятий, предусматриваемых при проектировании земляного полотна с учетом местного опыта.
10.31 Для защиты горных дорог от снежных лавин и обвалов следует предусматривать:
- устройство галерей и навесов, лавинорезов, отбойных и лавинонаправляющих дамб;
- удерживание снега на склоне с помощью различных устройств, предотвращающих его передвижение и смещение;
- установку снегозащитных щитов, подпорных заборов или стенок перед лавиносборами для уменьшения скопления в них снега;
- обрушение снега на лавиноопасных участках в процессе эксплуатации дороги и пр.
11 Здания, строения и сооружения, входящие в инфраструктуру автомобильной дороги
Общие положения
11.1 Для организации служб по содержанию и ремонту автомобильных дорог, обслуживанию грузовых и пассажирских перевозок и участников движения в проектах автомобильных дорог предусматривают строительство соответствующих зданий и сооружений:
- для дорожной службы - комплексы зданий и сооружений управления дорог, комплексы зданий и сооружений основного и низового звеньев дорожной службы, жилые дома для рабочих и служащих, производственные базы, пункты обслуживания и охраны мостов, переправ, тоннелей и галерей, устройства технологической связи;
- для автотранспортной службы - здания и сооружения обслуживания грузовых перевозок (грузовые автостанции, контрольно-диспетчерские пункты), здания и сооружения обслуживания организованных пассажирских перевозок (автостанции и автовокзалы, автобусные остановки и павильоны), здания и сооружения для обслуживания участников движения в пути следования - автомобильный сервис (мотели, кемпинги, площадки отдыха, площадки для кратковременной остановки автомобилей, пункты питания, пункты торговли, автозаправочные станции (АЗС), дорожные станции технического обслуживания (СТО), пункты мойки автомобилей на въездах в город, устройства для технического осмотра автомобилей, устройства аварийно-вызывной связи);
- для службы государственной инспекции по обеспечению безопасности дорожного движения - линейные сооружения по контролю дорожного движения.
11.2 Для основного звена дорожной службы предусматривают административно-бытовой корпус, производственный корпус по ремонту и техническому обслуживанию дорожных машин и автомобилей, стоянки (холодные и теплые) на списочный состав парка машин, цех по ремонту технических средств организации дорожного движения, базу по приготовлению и хранению противогололедных химических материалов, склады; для низового звена дорожной службы, подчиненного основному звену, - производственный корпус по техническому обслуживанию дорожных машин и автомобилей с административно-бытовыми помещениями, стоянки (холодные и теплые) на списочный состав парка машин, расходные склады противогололедных химических материалов, склады.
Наименования основных и низовых звеньев могут быть приняты в соответствии с действующей структурой в субъектах Российской Федерации.
Комплексы зданий и сооружений основного и низового звеньев дорожной службы рекомендуется располагать у населенных пунктов на единых для всего комплекса или близко расположенных площадках, непосредственно примыкающих к полосе отвода автомобильной дороги.
11.3 Для комплексов зданий и сооружений предусматривают общее энергетическое снабжение, водопровод, канализацию, отопление, связь, ремонтную базу и пр. При этом следует учитывать возможность кооперирования с близко расположенными предприятиями в части организации общественного питания, медицинского обслуживания, пожарной охраны, благоустройства прилегающих территорий.
Обустройство мест хранения производственного инвентаря, стоянки дорожных машин и автомобилей предусматривают с учетом природных и производственных условий.
Здания и сооружения дорожной службы проектируют на основании заданий, учитывающих организационную структуру службы ремонта и содержания дорог (линейная, территориальная, линейно-территориальная) в зависимости от местных условий.
11.4 Протяженность участков дорог, обслуживаемых подразделениями дорожной службы, в зависимости от категории дорог и типов дорожных одежд принимают по таблице 11.1
Таблица 11.1
| Подразделения дорожной службы | Примерная протяженность участков дорог, км, при категории дорог | ||||
| I | II | III | IV | V | |
| Преимущественные типы дорожных одежд | |||||
| капитальные | облегченные | переходные | низшие | ||
| Основное звено службы содержания дорог: | |||||
| при линейном принципе | 100 - 170 | 170 - 260 | 170 - 260 | 210 - 260 | - |
| при территориальном принципе | 250 - 300 | 250 - 300 | 250 - 300 | 250 - 300 | 250 - 300 |
| Низовое звено службы содержания дорог | 30 - 40 | 40 - 55 | 55 - 70 | 70 - 90 | 80 - 100 |
| Пункт содержания и охраны больших мостов | На мостах длиной более 300 м | ||||
| Пункт обслуживания, содержания и охраны разводных мостов | На всех мостах без ограничения длины | ||||
| Пункт обслуживания переправ | На наплавных мостах, паромах | ||||
| Примечания 1 Меньшие значения показателей принимают: для участков дорог с интенсивностью движения, близкой к верхним пределам, установленным для соответствующих категорий дорог; в горной местности; в районах со снежными или песчаными заносами, а также в местах, подверженных размывам, оползням или просадкам, имеющих сложные инженерные сооружения (тоннели, галереи, подпорные и одевающие стенки, берегоукрепительные, противооползневые и другие конструкции). 2 Протяженность участков дорог категории I дана применительно к дорогам с четырьмя полосами движения. В случае шести или восьми полос движения необходимо протяженность участков рассчитывать с понижающими коэффициентами соответственно 0,7 и 0,5. 3 На дорогах общегосударственного значения при необходимости пункты охраны могут быть организованы и на мостах длиной менее 300 м. 4 Схема дорожно-эксплуатационной службы определяется требованиями эксплуатации проектируемого участка автомобильной дороги с учетом использования существующих сооружений. |
|||||
11.5 Пропускная способность, размеры и другие параметры сооружений автотранспортной службы принимаются на 10-летнюю перспективную интенсивность движения с учетом возможности их дальнейшего развития.
Вместимость автовокзалов и пассажирских автостанций, среднесуточный объем отправления грузов с грузовых автостанций и размещение этих сооружений на дорогах принимают по схемам развития автомобильного транспорта или заданиям соответствующих организаций. Размеры земельных участков зданий и сооружений автотранспортной службы принимают для пассажирских автостанций и автовокзалов по нормам проектирования автовокзалов и пассажирских автостанций, а для грузовых автостанций - по технико-экономическим показателям автомобильного транспорта.
Автобусные остановки
11.6 Остановочные и посадочные площадки и павильоны для пассажиров следует предусматривать в местах автобусных остановок.
Ширину остановочных площадок следует принимать равной ширине основных полос проезжей части, а длину - в зависимости от числа одновременно останавливающихся автобусов, но не менее 10 м.
Автобусные остановки на дорогах IA категории следует располагать вне пределов основного земляного полотна, и в целях безопасности их следует отделять от проезжей части.
Остановочные площадки на дорогах IБ, IB, II и III категорий должны быть отделены от проезжей части разделительной полосой.
Посадочные площадки на автобусных остановках должны быть приподняты на 0,2 м над поверхностью остановочных площадок. Поверхность посадочных площадок должна иметь покрытие на площади не менее 10×2 м и на подходе к павильону. Ближайшая грань павильона для пассажиров должна быть расположена не ближе 3 м от кромки остановочной площадки.
В зоне автобусных остановок бордюр устанавливают без смещения от кромки остановочной полосы и прилегающих к ней участков переходно-скоростных полос.
От посадочных площадок в направлении основных потоков пассажиров следует проектировать пешеходные дорожки или тротуары до существующих тротуаров, улиц или пешеходных дорожек, а при их отсутствии - на расстояние не менее расстояния боковой видимости.
Автобусные остановки вне пределов населенных пунктов следует располагать на прямых участках дорог или на кривых радиусами в плане не менее 1000 м для дорог I и II категорий, 600 м для дорог III категории и 400 м для дорог категорий IV и V и при продольных уклонах не более 40 ‰. При этом должны быть обеспечены нормы видимости для дорог соответствующих категорий.
Автобусные остановки на дорогах I категории следует располагать одну напротив другой, а на дорогах категорий II - V их следует смещать по ходу движения на расстоянии не менее 30 м между ближайшими стенками павильонов.
В зонах пересечений и примыканий дорог автобусные остановки следует располагать от пересечений на расстоянии не менее расстояния видимости для остановки согласно таблице 5.3.
На дорогах категорий I - III автобусные остановки следует назначать не чаще чем через 3 км, а в курортных районах и густонаселенной местности - 1,5 км.
11.7 При размещении зданий и сооружений автомобильного сервиса необходимо учитывать наличие энергоснабжения, водоснабжения и обслуживающего персонала, а также возможность их дальнейшего развития.
Площадки отдыха
11.8 Площадки отдыха следует предусматривать через 15 - 20 км на дорогах категорий I - II, 25 - 35 км - на дорогах категории III и 45 - 55 км - на дорогах категории IV.
Вместимость площадок отдыха следует рассчитывать на одновременную остановку не менее 20 - 50 автомобилей на дорогах категории I при интенсивности движения до 30000 трансп. ед./сут., 10 - 15 - на дорогах категорий II и III, 10 - на дорогах категории IV.
На территории площадок отдыха могут быть предусмотрены сооружения для технического осмотра автомобилей и пункты торговли.
Вместимость площадок отдыха следует рассчитывать на одновременную остановку не менее 20 - 50 автомобилей на дорогах категории I при интенсивности движения до 30000 трансп. ед./сут., 10 - 15 на дорогах категорий II и III, 10 - на дорогах категории IV. При двустороннем размещении площадок отдыха на дорогах категории I их вместимость уменьшается вдвое по сравнению с указанной выше.
Автозаправочные станции
11.9 Размещение автозаправочных станций (АЗС) и дорожных станций технического обслуживания должно производиться на основе экономических и статистических изысканий.
Мощность АЗС (число заправок в сутки) и расстояние между ними в зависимости от интенсивности движения рекомендуется принимать по таблице 11.2.
Таблица 11.2
| Интенсивность движения, трансп. ед./сут. | Мощность АЗС, заправок в сутки | Расстояние между АЗС, км | Размещение АЗС |
| Свыше 1000 до 2000 | 250 | 30 - 40 | Одностороннее |
| » 2000 » 3000 | 500 | 40 - 50 | То же |
| » 3000 » 5000 | 750 | 40 - 50 | » |
| » 5000 » 7000 | 750 | 50 - 60 | Двустороннее |
| » 7000 » 20000 | 1000 | 40 - 50 | То же |
| » 20000 | 1000 | 20 - 25 | » |
| Примечание - При расположении АЗС в зоне пересечения ее мощность должна быть уточнена с учетом протяженности всех обслуживаемых прилегающих дорог, интенсивности движения и других расчетных показателей на этих участках. | |||
АЗС следует размещать в придорожных полосах с уклоном не более 40 ‰, на кривых в плане радиусом более 1000 м, на выпуклых кривых в продольном профиле радиусом более 10000 м, не ближе 250 м от железнодорожных переездов, не ближе 1000 м от мостовых переходов, на участках с насыпями высотой не более 2,0 м.
Мотели, кемпинги, станции технического обслуживания
11.10 Число постов на дорожных станциях технического обслуживания в зависимости от расстояния между ними и интенсивности движения рекомендуется принимать по таблице 11.3.
Таблица 11.3
| Интенсивность движения, трансп. ед./сут. | Число постов на СТО в зависимости от расстояния между ними, км | Размещение СТО | ||||
| 80 | 100 | 150 | 200 | 250 | ||
| 1000 | 1 | 1 | 1 | 2 | 2 | Одностороннее |
| 2000 | 1 | 2 | 2 | 3 | 3 | То же |
| 3000 | 2 | 2 | 3 | 3 | 5 | » |
| 4000 | 3 | 3 | - | - | - | » |
| 5000 | 2 | 2 | 2 | 2 | 3 | Двустороннее |
| 6000 | 2 | 2 | 3 | 3 | 3 | То же |
| 8000 | 2 | 3 | 3 | 3 | 5 | » |
| 10000 | 3 | 3 | 3 | 5 | 5 | » |
| 15000 | 5 | 5 | 5 | 8 | 8 | » |
| 20000 | 5 | 5 | 8 | По специальному расчету | » | |
| 30000 | 8 | 8 | По специальному расчету | » | ||
При дорожных станциях технического обслуживания целесообразно предусматривать АЗС.
11.11 Вместимость (число спальных мест) транзитных мотелей и кемпингов следует принимать с учетом численности проезжающих автотуристов и интенсивности движения автомобилей междугородных и международных перевозок.
Расстояние между мотелями и кемпингами следует принимать не более 500 км.
В составе мотелей целесообразно предусматривать дорожные станции технического обслуживания, АЗС, пункты питания и торговли.
При объектах автомобильного сервиса при необходимости следует размещать пункты питания и торговли.
11.12 Специальные площадки для кратковременной остановки автомобилей предусматривают у пунктов питания, торговли, скорой помощи, источников питьевой воды и в других местах с систематическими остановками автомобилей. На дорогах категорий I - III их следует размещать за пределами земляного полотна.
Связь
11.13 Технологическую связь для обеспечения работы дорожной службы следует предусматривать на автомобильных дорогах категории I, а при наличии специальных требований - и на дорогах категорий II и III.
Аварийно-вызывную связь следует предусматривать для дорог категории I при соответствующем обосновании.
12 Охрана окружающей среды
12.1 При размещении автомобильной дороги и сооружений на ней определение местоположения трассы строящейся автомобильной дороги осуществляется на основе рассмотрения и сравнения альтернативных вариантов, включая вариант отказа от строительства. Материалы сравнения должны быть достоверны и обоснованы с учетом взаимосвязи различных экологических, экономических и социальных факторов.
При сравнении вариантов размещения автомобильной дороги следует учитывать возникающее перераспределение движения по участкам сети автомобильных дорог и экологической нагрузки на звенья сети.
Сооружение автомобильных дорог в пределах особо охраняемых природных территорий устанавливается техническим регламентом.
12.2 В проекте следует разрабатывать раздел «Охрана окружающей среды (ООС)», в составе которого должна быть произведена оценка влияния проектируемой дороги на окружающую среду. В первую очередь следует рассматривать непосредственное и косвенное влияние дорог и дорожного движения на:
- людей, фауну и флору;
- состояние почвы, воду, микроклимат;
- пейзаж, физические объекты и культурное наследие.
12.3 Комплекс технических решений по предупреждению и снижению негативного влияния автомобильной дороги и дорожных сооружений на окружающую среду, предложений по рациональному использованию природных ресурсов в строительстве, принятых при оценке воздействия на окружающую среду (ОВОС), должен соответствовать техническим решениям и мероприятиям, отраженным в составе проектной документации.
12.4 При наличии в зоне строительства охраняемых памятников истории и культуры (старинные постройки, захоронения, археологические объекты, объекты особого отношения местного населения и т.п.), а также уникальных природных феноменов (особые геологические формы, водные источники, ценные экземпляры деревьев и т.п.), следует рассматривать необходимость специальных инженерных решений по защите указанных объектов.
12.5 Проектные решения автомобильной дороги, дорожных сооружений и зданий, входящих в дорожный комплекс, должны обеспечивать сочетание их внешнего оформления с окружающей природной средой.
12.6 В проектах должно предусматриваться осуществление защитных мероприятий при прохождении автомобильных дорог, предназначенных для транзитного движения, вблизи населенных пунктов или через них, вблизи заповедников, в рекреационных местах, вблизи расположения курортов, домов отдыха, пансионатов, пионерских лагерей и т.п. должно предусматриваться осуществление защитных мероприятий.
Автомобильные дороги, предназначенные только для местного движения и обслуживания вышеуказанных объектов, прокладывают с наименьшим воздействием на окружающую среду и ущербом для функционального назначения этих объектов.
12.7 При строительстве обходов населенных пунктов их трассы следует прокладывать по возможности с подветренной стороны. В целях обеспечения дальнейшей реконструкции дорог расстояние от бровки земляного полотна до линии застройки населенных пунктов принимают в соответствии с их генеральными планами.
12.8 При необходимости для снижения влияния строящихся автомобильных дорог и сооружений на окружающую среду предусматривают строительство защитных сооружений (экраны, ограждения, валы, древесно-кустарниковые насаждения или специальные конструкции земляного полотна, обеспечивающие уменьшение распространения загрязнений), а также дорожные покрытия, обеспечивающие пониженный уровень шума при движении автомобилей.
12.9 При пересечении трассой дороги сложившихся путей миграции животных предусматривают на дорогах категорий I - III строительство специальных сооружений (ограждения, переходы и пропускные сооружения, скотопрогоны и т.п.). Конструкцию и число переходов и пропускных сооружений необходимо принимать на основании данных о путях миграции в зависимости от количества, видовых морфометрических и поведенческих особенностей мигрирующих животных. На дорогах иных категорий допускается применение организационных мероприятий по ограничению режима, скорости и времени движения дорожными знаками и иными средствами регулирования движения.
12.10 При определении мест переходов автодорог через водотоки, выборе конструкций и отверстий искусственных сооружений следует учитывать необходимость обхода мест нагула и нерестилищ рыб, назначения сроков проведения строительных работ с учетом периода массового нереста и выклева рыб, недопущение нарушения гидрологического режима рек, изменения береговой линии, сечения водотоков, активизации русловых процессов.
При строительстве или реконструкции мостовых переходов на рыбохозяйственных водных объектах по согласованию и техническим условиям, полученным в установленном законодательством порядке, в проектах необходимо предусматривать мероприятия по сохранению рыбных запасов.
12.11 На площадях земель, нарушаемых при строительстве автомобильных дорог, плодородный слой почвы снимают и складируют в отведенных местах.
Плодородный почвенный грунт используют для укрепления земляного полотна и дорожных сооружений, а также при рекультивации нарушенных при строительстве земель. Не следует снимать плодородный слой почвы с вечномерзлых грунтов и в иных местах, где его снятие может привести к нарушению устойчивости.
Примечание - К плодородному слою почвы относятся гумуссированные грунты состава от глинистого до супесчаного, удовлетворяющие по физическому и химическому составу требованиям ГОСТ 17.5.1.03.
12.12 Все земельные участки, предоставленные во временное пользование для нужд строительства дороги, по окончании строительства должны быть приведены в состояние, пригодное для дальнейшего использования с учетом технических условий владельцев и пользователей земель. После окончания реконструкции дороги неиспользуемые участки существующих дорог должны быть приведены в состояние, пригодное для дальнейшего использования.
12.13 При прокладке трасс дорог по высокопродуктивным пахотным, орошаемым, осушаемым или иным ценным угодьям в целях сокращения площадей отвода земель земляное полотно рекомендуется предусматривать без устройства кювет-резервов и кавальеров.
12.14 При назначении конструктивных решений земляного полотна, водоотводных и водопропускных сооружений, обеспечивают защиту угодий от размыва и заиления, заболачивания, нарушения растительного и дернового покрова, нарушения гидрологического режима водотоков и природного уровня грунтовых вод. Поперечные сечения и продольные уклоны канав допускается принимать по СП 104.13330. Отверстия труб и других водоотводных сооружений должны обеспечивать пропуск летних паводков с подтоплением сельскохозяйственных угодий на сроки, не превышающие установленных в СП 104.13330.
Во избежание эрозии земель вследствие концентрации водных потоков следует предусматривать укрепление русел и выходов из водоотводных сооружений.
12.15 Для автодорог в зоне проведения мелиоративных работ предусматривают увязку строительных решений. При строительстве дорог на заболоченных или обводненных землях изменение их режима вследствие сооружения автомобильной дороги допускается только в увязке с проектами мелиорации соответствующих территорий.
12.16 При сооружении насыпей через болота с поперечным по отношению к трассе дороги движением воды в водонасыщенном горизонте предусматривают мероприятия, исключающие изменение режима болота путем отсыпки насыпи или ее нижней части из дренирующих материалов, устройство вдоль земляного полотна продольных канав, и если это необходимо, искусственных сооружений и т.п.
12.17 На дорогах в пределах водоохранных зон предусматривают организованный сбор воды с поверхности проезжей части с последующей ее очисткой или отводом в места, исключающие загрязнение водных объектов. Качество сбрасываемых очищенных сточных вод в водные объекты должно удовлетворять установленным требованиям.
12.18 При прокладке дорог через населенные пункты предусматривают покрытия дорожных одежд и тип укрепления обочин, исключающие пылеобразование. На остальных участках дорог с переходными и низшими покрытиями предусматривают обработку покрытий обеспыливающими веществами, а при необходимости защитные мероприятия, ограничивающие ширину запыленной зоны.
12.19 Для предотвращения загрязнения полосы отвода автомобильных дорог бытовым мусором при необходимости предусматривают площадки для установки контейнеров для мусора.
При прокладке трассы в хвойных лесах на сухих почвах по согласованию с органами лесного хозяйства следует предусматривать за границами полосы отвода противопожарные минерализованные полосы. Ширина этих полос принимается по правилам пожарной безопасности для лесов.
12.20 Выбор материалов для строительства, ремонта и содержания дороги должен осуществляться с учетом прямого и косвенного влияния на экологическую обстановку в период как строительства, так и эксплуатации дороги.
12.21 Производственные базы, здания и сооружения дорожно-эксплуатационной службы и дорожного сервиса, временные базы строительных организаций рекомендуется размещать с подветренной стороны (для ветров преобладающего направления) по отношению к селитебной территории. Местоположение и условия размещения постоянных и временных предприятий по производству дорожно-строительных материалов принимают по согласованию в установленном законом порядке.
Территории временных баз строительных организаций должны иметь спланированную поверхность, быть ограждены, иметь специально оборудованные площадки для заправки техники, сбора и уничтожения отходов и мусора, туалеты, системы для сбора и очистки вод.
Размещение временных баз строительных организаций в прибрежных полосах водных объектов допускается только при необходимости непосредственного примыкания площадки предприятия к водоемам по согласованию с органами по регулированию использования и охране вод в соответствии с законодательством.
Временные базы строительных организаций, требующие устройства грузовых причалов или пристаней, следует размещать по течению реки ниже селитебной территории на расстоянии не менее 200 м по согласованию с органами по регулированию использования и охраны вод и федеральным органом исполнительной власти в области рыболовства.
12.22 Во избежание нарушения путей сообщения местных жителей, увеличения временных затрат на дорогу к местам работы, отдыха и пунктам медицинского обслуживания, расчленения сельскохозяйственных угодий, ухудшения условий движения для сельскохозяйственной техники, гужевого транспорта, велосипедистов, пешеходов, прогона скота предусматривают устройство подъездов к населенным пунктам, пешеходных и велосипедных дорожек, а также сооружений для связи разобщенных территорий. При сооружении новых дорог категорий I - II рассматривают варианты отказа от совмещения их с местными дорогами попутного движения.
Приложние А
(справочное)
Характеристика уровней удобства движениея
Таблица А.1
| Уровень удобства движения | Z | С | Р | Характеристика потока автомобилей | Состояние потока | Эмоциональная загрузка водителя | Удобство работы водителя | Экономическая эффективность работы дороги |
| A | < 0,2 | > 0,9 | < 0,1 | Автомобили движутся в свободных условиях, взаимодействие между автомобилями отсутствует | Свободное | Низкая | Удобно | Неэффективная |
| Б | 0,2 - 0,45 | 0,7 - 0,9 | 0,1 - 0,3 | Автомобили движутся группами, совершается много обгонов | Частично связанное | Нормальная | Мало удобно | Малоэффективная |
| В | 0,45 - 0,7 | 0,55 - 0,7 | 0,3 - 0,7 | В потоке еще существуют большие интервалы между автомобилями, обгоны затруднены | Связанное | Высокая | Неудобно | Эффективная |
| Г-а | 0,7 - 1 | 0,4 - 0,55 | 0,7 - 1,0 | Сплошной поток автомобилей, движущихся с малыми скоростями | Насыщенное | Очень высокая | Очень неудобно | Неэффективная |
| Г-б | ≤ 1 | ≤ 0,4 | 1,0 | Поток движется с остановками, возникают заторы | Плотное насыщенное | То же | То же | То же |
| Примечания 1 Коэффициент загрузки движения Z вычисляется по формуле Z = N/Р, где N - интенсивность движения (существующая или перспективная ), легковых авт/ч; Р - практическая пропускная способность, легковых авт/ч. 2 Коэффициент скорости движения С вычисляют по формуле С = Vz/Vо, где Vz - средняя скорость движения при рассматриваемом уровне удобства, км/ч; Vо - скорость движения в свободных условиях при уровне удобства А, км/ч. 3 Коэффициент насыщения движением ρ вычисляется по формуле ρ = qz/qmax, где qz - средняя плотность движения при рассматриваемом уровне, авт/км; qmax - максимальная плотность движения, авт/км | ||||||||
Дорожно-климатическое районирование
Приложение Б
(обязательное)

Примечания
1 При соответствующем обосновании общее дорожно-климатическое районирование территории России может уточняться в рамках отдельных субъектов Российской Федерации.
2 Кубань и западную часть Северного Кавказа следует относить к III дорожно-климатической зоне.
3 При проектировании участков дорог в приграничных зонах при обосновании данными о грунтово-гидрологических и почвенных условиях, а также исходя из практики .эксплуатации дорог в районе допускается принимать проектные решения как для смежной (северной или южной) зоны.
4 В горных районах дорожно-климатические зоны следует определять с учетом высотного расположения объектов проектирования, принимая во внимание природные условия на данной высоте.
5 Разделение на подзоны следует учитывать при определении расчетной влажности при расчетах на прочность и морозоустойчивость дорожных одежд.
Таблица Б.1
| Зона и подзона | Примерные географические границы |
| I | Севернее линии Нивский - Сосновка - Новый Бор - Щельябож - Сыня - Суеватпуль - Белоярский - Ларьяк - Усть - Озерное - Ярцево - Канск - Выезжий Лог - Усть - Золотая - Сарыч - Сеп - Новоселово - Артыбаш - Иню - государственная граница - Симоново - Биробиджан - Болонь - Многовершинный. Включает зоны тундры, лесотундры и северо-восточную часть лесной зоны с распространением вечномерзлых грунтов |
| I1 | Севернее линии Нарьян-Мар - Салехард - Курейка - Трубка Удачная - Верхоянск - Дружина - Горный Мыс - Марково |
| I2 | Восточнее линии устье р. Нижняя Тунгуска - Ербогачен, Ленск - Бодайбо - Богдарин и севернее линии Могоча - Сковородино - Зея - Охотск - Палатка - Слаутсткое. Ограничена с севера подзоной I) |
| I3 | От южной границы вечной мерзлоты до южной границы подзоны 12. |
| II | От границы зоны I до линии Тула - Нижний Новгород - Ижевск - Томск - Канск. На Дальнем Востоке от границы зоны I до государственной границы. Включает зону лесов с избыточным увлажнением грунтов |
| II1 | С севера и востока ограничена зоной I, с запада - подзоной II3, с юга - линией Рославль - Клин - Рыбинск - Березники - Ивдель |
| II2 | С севера ограничена подзоной II1, с запада - подзоной II4, с юга - зоной III, с востока и юга - границей зоны I |
| II3 | С севера ограничена государственной границей, с запада - границей с подзоной II5, с юга - линией Рославль - Клин - Рыбинск, с востока - линией Псков - Смоленск - Орел |
| II4 | С севера ограничена подзоной II3, с запада - подзоной II6, с юга - границей с зоной III, с востока - линией Смоленск - Орел - Воронеж |
| III | От южной границы зоны II до линии Белгород - Самара - Магнитогорск - Омск - Бийск - Туран. Включает лесостепную зону со значительным увлажнением грунтов в отдельные годы |
| III1 | Ограничена с севера зоной II, с запада - подзоной III2, с юга - зоной IV, с востока - зоной I |
| III2 | С севера ограничена зоной II, с запада - подзоной III3, с юга - зоной IV, с востока - линией Смоленск - Орел - Воронеж |
| IV | От границы зоны III до линии Буйнакск - Кизляр - Волгоград и далее в сторону границы с Казахстаном в широтном направлении. Включает степную зону с недостаточным увлажнением грунтов |
| V | К юго-западу и югу от границы зоны IV и включает пустынную и пустынно-степную зоны с засушливым климатом и распространением засоленных грунтов |
Приложение В
(обязательное)
Классификация типов местности и грунтов
Таблица В.1
Типы местности по характеру и степени увлажнения
| Тип местности | Признаки и зависимости от дорожно-климатических зон | ||||
| I | II | III | IV | V | |
| 1-й | Поверхностный сток обеспечен; грунтовые воды не влияют на увлажнение верхней толщи грунтов; мощность деятельного слоя более 2,5 м при непросадочных грунтах влажностью менее 0,7w1 | Поверхностный сток обеспечен; грунтовые воды не влияют на увлажнение верхней толщи; почвы слабо- и средне-подзолистые или дерново-подзолистые без признаков заболачивания | Поверхностный сток обеспечен; грунтовые воды не влияют на увлажнение верхней толщи; почвы серые, лесные слабоподзолистые, в северной части зоны - темно-серые лесные и черноземы оподзоленные и выщелочные | Поверхностный сток обеспечен; грунтовые воды не влияют на увлажнение верхней толщи; почвы - черноземы тучные или мощные, в южной части зоны - южные черноземы, темно-каштановые и каштановые почвы | Грунтовые воды не влияют на увлажнение; почвы в северной части бурые, в южной - светлобурые и сероземы |
| 2-й | Поверхностный сток не обеспечен; грунтовые воды не влияют на увлажнение верхней толщи; почвы тундровые с резко выраженными признаками заболачивания; мощность сезонно-оттаивающего слоя от 1,0 до 2,5 м при наличии глинистых просадочных грунтов влажностью более 0,8w1 | Поверхностный сток не обеспечен; грунтовые воды не влияют на увлажнение верхней толщи; почвы средне- и сильно-подзолистые и полуболотные с признаками заболачивания | Поверхностный сток не обеспечен; грунтовые воды не влияют на увлажнение верхней толщи; почвы подзолистые или полуболотные с признаками оглеения, в южной части - лугово-черноземные солонцы и солоди | Поверхностный сток не обеспечен; грунтовые воды не влияют на увлажнение верхней толщи; почвы - сильно-солонцеватые черноземы, каштановые, солонцы и солоди | Грунтовые воды не влияют на увлажнение; почвы - солонцы, такыры, солончаковые солонцы и реже солончаковатые солонцы и реже солончаки |
| 3-й | Грунтовые или длительно (более 30 сут.) стоящие поверхностные воды оказывают влияние на увлажнение верхней толщи грунтов; почвы тунжровые и болотные; торфяники; мощность сезоннооттаивающего слоя до 1 м при наличии глинистых сильнопросадочных грунтов, содержащих в пределах двойной мощности сезонного оттаивания линзы льда толщиной более 10 см | Грунтовые воды или длительно (более 30 сут.) стоящие поверхностные воды влияют на увлажнение верхней толщи; почвы торфяно-болотные или полуболотные | То же, что для зоны 11 | Грунтовые воды или длительно (более 30 сут.) стоящие поверхностные воды влияют на увлажнение верхней толщи; почвы болотные или полуболотные, солончаки и солончаковатые солонцы | Грунтовые воды или длительно (более 30 сут.) стоящие поверхностные воды влияют на увлажнение верхней толщи; почвы - солончаки и солончаковатые солонцы; постоянно орошаемые территории |
| Примечания: 1 Участки, где залегают песчано-гравийные или песчаные грунты (за исключением мелких пылеватых песков) мощностью более 5 м при расположении уровня грунтовых вод на глубине более 3 м в зонах II, III и более 2 м в зонах IV, V, относятся к 1-му типу независимо от наличия поверхностного стока (при отсутствии длительного подтопления). 2 Грунтовые воды не оказывают влияния на увлажнение верхней толщи фунтов в случае, если их уровень в предморозный период залегает ниже глубины промерзания не менее чем на 2,0 м при глинах, суглинках тяжелых пылеватых и тяжелых; на 1,5 м в суглинках легких пылеватых и легких, супесях тяжелых пылеватых и пылеватых; на 1,0 м в супесях легких, легких крупных и песках пылеватых. 3 Поверхностный сток считывается обеспеченным при уклонах поверхности грунта в пределах полосы отвода более 2 ‰. |
|||||
Таблица В.2
Типы и подтипы глинистых грунтов
| Грунты | Показатели | ||
| Типы | Подтипы | Содержание песчаных частиц, % по массе | Число пластичности Iр |
| Супесь | Легкая крупная | Свыше 50 | 1 - 7 |
| Легкая | » 50 | 1 - 7 | |
| Пылеватая | 50 - 20 | 1 - 7 | |
| Тяжелая пылеватая | Менее 20 | 1 - 7 | |
| Суглинок | Легкий | Свыше 40 | 7 - 12 |
| Легкий пылеватый | Менее 40 | 7 - 12 | |
| Тяжелый | Свыше 40 | 12 - 17 | |
| Тяжелый пылеватый | Менее 40 | 12 - 17 | |
| Глина | Песчанистая | Свыше 40 | 17 - 27 |
| Пылеватая | Менее 40 | 17 - 27 | |
| Жирная | Не нормируется | Свыше 27 | |
| Примечания 1 Для супесей легких крупных учитываются содержание песчаных частиц размером 2 - 0,25 мм, для остальных грунтов - 2 - 0,05 мм. 2 При содержании в грунте 25 - 50 % (по массе) частиц крупнее 2 мм к названию глинистых грунтов добавляется слово «гравелистый» (при окатанных частицах) или «щебенистый» (при неокатанных частицах). |
|||
Таблица В.3
Классификация грунтов по степени засоления
| Разновидность грунтов | Суммарное содержание легкорастворимых солей, % массы сухого грунта | |
| Хлоридное, сульфатно-хлоридное засоление | Сульфатное, хлоридно-сульфатное засоление | |
| Слабозасоленные | 0,5 - 2,0 0,3 - 1,0 | 0,5 - 1,0 0,3 - 5,0 |
| Среднезасоленные | 2,0 - 5,0 1,0 - 5,0 | 1,0 - 3,0 0,5 - 2,0 |
| Сильнозасоленные | 5,0 - 10,0 5,0 - 8,0 | 3,0 - 8,0 2,0 - 5,0 |
| Избыточно засоленные | Свыше 10,0 Свыше 8,0 | Свыше 8,0 Свыше 5,0 |
| Примечание - В числителе даны значения для дорожно-климатической зоны V, в знаменателе - для остальных зон. | ||
Таблица В.4
Классификация грунтов по степени набухания
| Разновидности грунтов (при влажности 0,5w0) | Относительная деформация набухания, % толщины слоя увлажнения |
| Ненабухающие | Менее 2 |
| Слабонабухающие | От 2 до 4 |
| Средненабухающие | » 5 » 10 |
| Сильнонабухающие | Свыше 10 |
Таблица В.5
Классификация грунтов по степени просадочности
| Разновидности грунтов | Коэффициент просадочности | Относительная деформация просадки, % толщины слоя промачивания |
| Непросадочные | Свыше 0,92 | Менее 2 |
| Слабопросадочные | От 0,85 до 0,91 | От 2 до 7 |
| Просадочные | От 0,80 до 0,84 | От 8 до 12 |
| Сильнопросадочные | Менее 0,79 | Свыше 12 |
| Примечание - Классификация не распространяется на скальные водоустойчивые грунты и грунты с исключением водонерастворимых цементирующих веществ, просадочность которых оценивают по данным лабораторных испытаний. | ||
Таблица В.6
Классификация грунтов по степени пучинистости при замерзании
| Группы грунтов | Степень пучинистости | Относительное морозное пучение образца, % |
| I | Непучинистые | 1 и менее |
| II | Слабопучинистые | Свыше 1 до 4 |
| III | Пучинистые | От 4 до 7 |
| IV | Сильнопучинистые | » 7 » 10 |
| V | Чрезмерно пучинистые | » 10 |
| Примечания: 1 Испытание на пучинистость при промерзании осуществляется в лаборатории по специальной методике с подтоком воды. Допускается группу по пучинистости определять по таблице В.7 настоящего приложения. 2 При оценке величины морозного пучения расчетом испытания грунтов на интенсивность морозного пучения ведут по специальной методике. 3 В случаях, когда испытание на морозное пучение проводятся, группу по пучинистости допускается устанавливать по таблице В.7 настоящего приложения, а среднюю относительную величину морозного пучения зоны промерзания - по таблице В.8. |
||
Таблица В.7
Группы грунтов по степени пучинистости
| Грунт | Группа |
| Песок гравелистый, крупный и средней крупности с содержанием частиц мельче 0,05 мм до 2 % | I |
| Песок гравелистый, крупный и средней крупности с содержанием частиц мельче 0,05 мм от 2 % до 15 %, мелкий с содержанием частиц мельче 0,05 мм до 5 %; супесь легкая крупная | II |
| Песок мелкий с содержанием частиц мельче 0,05 мм до 8 %; супесь легкая; суглинок легкий и тяжелый; глины | III |
| Песок мелкий с содержанием частиц мельче 0,05 мм до 15 %; супесь пылеватая; суглинок тяжелый пылеватый | IV |
| Песок пылеватый; супесь тяжелая пылеватая; суглинок легкий пылеватый | V |
| Примечание - Величина коэффициента морозного пучения щебенистых, гравелистых, дресвяных песков при содержании частиц мельче 0,05 мм свыше 15 % ориентировочно принимается как для пылеватого песка и проверяется в лаборатории. | |
Таблица В.8
Величина морозного пучения
| Грунт | Среднее значение относительного морозного пучения при промерзании 1,5 м,% |
| Песок гравелистый, крупный и средней крупности с содержанием частиц мельче 0,05 мм до 2 % | 1 1 |
| Песок гравелистый, крупный и средней крупности с содержанием частиц мельче 0,05 мм до 15 %; песок мелкий с содержанием частиц мельче 0,05 мм до 2 % | 1 1 - 2 |
| Песок мелкий с содержанием частиц мельче 0,05 мм менее 5 %; супесь легкая крупная | 1 - 2 2 - 4 |
| Супесь пылеватая; суглинок тяжелый пылеватый; песок мелкий с содержанием частиц мельче 0,05 мм до 15 % | 2 - 4 7 - 10 |
| Супесь легкая; песок мелкий с содержанием частиц мельче 0,05 мм до 8 % | 1 - 2 4 - 7 |
| Супесь тяжелая пылеватая; суглинок легкий пылеватый; песок пылеватый | 4 - 7 10 |
| Суглинок тяжелый; глины | 2 - 4 4 - 7 |
| Примечание - В числителе - при 1-й расчетной схеме увлажнения согласно таблице В.13 настоящего приложения, в знаменателе - при 2-й и 3-й схемах. | |
Таблица В.9
Тип местности в I дорожно-климатической зоне по условиям увлажнения и мерзлотно-грунтовым особенностям
| Типы местностей | Условия увлажнения грунтов | Мерзлотные процессы и явления | Грунт | |
| Тип | Характеристика | |||
| 1-й | Сухие места | Отсутствует | Крупнообломочный; песчаный | Массивная текстура; непросадочный или талый |
| 2-й | Сырые места. В летнее время возможно избыточное увлажнение грунтов деятельного слоя поверхностными водами | Заболачивание; морозное пучение (сезонные бугры пучения) | Песчаный; глинистый | Массивная и слоистая текстуры; малольдистый и малопросадочный |
| 3-й | Мокрые места. В летнее время постоянное избыточное увлажнение грунтов деятельного слоя поверхностными и надмерзлотными водами | Заболачивание; морозное пучение (многолетние бугры пучения); термокарстовый рельеф; солифлюкция | Глинистый; возможно наличие подземных льдов | Слоистая и сетчатая текстуры; льдистый и сильнольдистый; просадочный, сильнопросадочный и чрезмерно-просадочный |
Таблица В.10
Классификация грунтов по льдистости и просадочности в I дорожно-климатической зоне
| Разновидность по просадочности при оттаивании | Льдистость1 грунта вечномерзлой толщи | Суммарная влажность грунтов деятельного слоя | |||
| пески мелкие | пески пылеватые, супеси легкие | супеси | торф | ||
| Непросадочный | Без ледяных включений (0 - 0,01) | Менее 0,18 | Менее 0,2 | Менее 0,2 | - |
| Слабопросадочный | Малольдистый (0,01 - 01) | От 0,18 до 0,25 | От 0,2 до 0,4 | От 0,2 до 0,4 | Менее 2 |
| Просадочный | Льдистый (0,1 - 0,4) | Свыше 0,25 | Свыше 0,4 | Свыше 0,4 до 1,1 | От 2 до 12 |
| Сильнопросадочный | Сильнольдистый (0,4 - 0,6) | - | - | Свыше 1,1 | Свыше 12 |
| Чрезмерно просадочный | С крупными включениями подземного льда (0,6 - 1,0) | - | - | Свыше 1,1 | Свыше 12 |
| 1 Отношение объема прослоек льда к объему мерзлого грунта (с учетом включений частиц льда). | |||||
Таблица В.11
Разновидности грунтов по степени увлажнения
| Разновидности грунтов | Влажность |
| Недоувлажненные | Менее 0,9w0 |
| Нормальной влажности | От 0,9w0 до wadm |
| Повышенной влажности | От wadm до wmax |
| Переувлажненные | Свыше wmax |
| Примечание - wmax - максимально возможная влажность грунта при коэффициенте уплотнения 0,9. | |
Таблица В.12
Допустимая влажность грунтов при уплотнении
| Грунты | Допустимая влажность wadm в долях от оптимальной при требуемом коэффициенте уплотнения грунта mb | |||
| Свыше 1,0 | 1,0 - 0,98 | 0,95 | 0,90 | |
| Пески пылеватые; супеси легкие и пылеватые | 1,30 | 1,35 | 1,60 | 1,60 |
| Супеси легкие и пылеватые | 1,20 | 1,25 | 1,35 | 1,60 |
| Супеси тяжелые пылеватые; суглинки легкие и легкие пылеватые | 1,10 | 1,15 | 1,30 | 1,50 |
| Суглинки тяжелые и тяжелые пылеватые, глины | 1,0 | 1,05 | 1,20 | 1,30 |
| Примечания 1 При воздействии насыпей из пылеватых песков в летних условиях допустимая влажность не ограничивается. 2 Настоящие ограничения не распространяются на насыпи, возводимые гидронамывом. 3 При возведении насыпей в зимних условиях влажность не должна, как правило, быть более 1,3w0 при песчаных и непылеватых супесчаных, 1,2w0 - при супесчаных пылеватых и суглинках легких и 1,1w0 - для других связных грунтов. 4 Величина допустимой влажности грунта может уточняться с учетом технологических возможностей, имеющихся в наличии конкретных уплотняющих средств в соответствии с действующими нормами. |
||||
Таблица В.13
Расчетные схемы увлажнения
| Расчетная схема увлажнения рабочего слоя | Источники увлажнения | Условия отнесения к данной расчетной схеме увлажнения |
| 1 | Атмосферные осадки | Для насыпей на участках 1-го типа местности по условиям увлажнения (7.3 настоящего свода правил и таблица В.1 настоящего приложения). |
| Для насыпей на участках местности 2-го и 3-го типов по условиям увлажнения при возвышении поверхности покрытия над расчетным уровнем грунтовых и поверхностных вод или над поверхностью земли, более чем в 1,5 раза превышающем требования таблицы 7.1. | ||
| Для насыпей на участках 2-го типа при расстоянии от уреза поверхностной воды (отсутствующей не менее 2/3 летнего периода) более 5 - 10 м при супесях; 2 - 5 м при легких пылеватых суглинках и 2 м при тяжелых пылеватых суглинках и глинах (меньшие значения принимают для грунтов с большим числом пластичности; при залегании различных грунтов - принимать наибольшие значения). | ||
| В выемках в песчаных и глинистых грунтах при уклонах кюветов более 20 % (в дорожно-климатических зонах I - III) и при возвышении поверхности покрытия над расчетным уровнем грунтовых вод, более чем в 1,5 раза превышающем требования таблицы 7.1. | ||
| При применении специальных методов регулирования водно-теплового режима (капилляропрерывающие, гидроизолирующие, теплоизолирующие и армирующие прослойки, дренаж и т.п.), назначаемых по специальным расчетам | ||
| 2 | Кратковременно стоящие (до 30 сут.) поверхностные воды, атмосферные осадки | Для насыпей на участках 2-го типа местности по условиям увлажнения (7.3 настоящего свода правил и таблица В.1 настоящего приложения) при возвышении поверхности покрытия, не менее требуемого по таблице 7.1 и не более чем в 1,5 раза превышающего эти требования, и при крутизне откосов не менее 1:1,5 и простом (без берм) поперечном профиле насыпи. |
| Для насыпей на участках 3-го типа местности при применении специальных мероприятий по защите от грунтовых вод (капилляропрерывающие и гидроизолирующие слои, дренаж), назначаемых по специальным расчетам, при отсутствии длительно стоящих (более 30 сут.) поверхностных вод и выполнении условий предыдущего абзаца. | ||
| В выемках в песчаных и глинистых грунтах при уклонах кюветов менее 20 % (в зонах I, II) и возвышении поверхности покрытия над расчетным уровнем грунтовых вод, более чем в 1,5 раза превышающем требования таблицы 7.1. | ||
| 3 | Грунтовые или длительно стоящие (более 30 сут.) поверхностные воды; атмосферные осадки | Для насыпей на участках 3-го типа местности по условиям увлажнения (7.3 настоящего свода правил и таблица В.1 настоящего приложения) при возвышении поверхности покрытия, отвечающем требованиям таблицы 7.1, но не превышающем их более чем в 1,5 раза. |
| То же, для выемок, в основании которых имеется уровень грунтовых вод, расположение которого по глубине не превышает требования таблицы 7.1 более чем в 1,5 раза. |
Таблица В.14
Значения коэффициентов относительного уплотнения
| Требуемый коэффициент уплотнения грунта | Значение коэффициентов относительного уплотнения К1 для грунтов | ||||||
| Пески, супеси, суглинки пылеватые | Суглинки, глины | Лессы и лессовидные грунты | Скальные разрабатываемые грунты при объемной массе, г/см3 | Шлаки, отвалы перерабатывающей промышленности | |||
| 1,9 - 2,2 | 2,2 - 2,4 | 2,4 - 2,7 | |||||
| 1,00 | 1,10 | 1,05 | 1,30 | 0,95 | 0,89 | 0,84 | 1,26 - 1,47 |
| 0,95 | 1,05 | 1,00 | 1,15 | 0,90 | 0,85 | 0,80 | 1,20 - 1,40 |
| 0,90 | 1,00 | 0,95 | 1,10 | 0,85 | 0,80 | 0,76 | 1,13 - 1,33 |
Таблица В.15
Классификация местности по подвижности песков
| Степень закрепления растительностью поверхности песков | Площадь, покрытая растительностью, % | Степень подвижности песков |
| Незаросшая поверхность | Менее 5 | Очень подвижные |
| Слабозаросшая поверхность | Свыше 5 до 15 | Подвижные |
| Полузаросшая поверхность | Свыше 15 до 35 | Малоподвижные |
| Заросшая поверхность | Свыше 35 | Неподвижные |
Приложение Г
(рекомендуемое)
Методика измерений с помощью дорожного профилометра
Дорожными профилометрами (ДП) называют измерительные приборы (системы, установки), смонтированные на автомобиле или прицепе, которые могут измерять и регистрировать микропрофиль автомобильной дороги в полосе длин волн неровностей 0,5 - 60 м и диапазоне амплитуд неровностей ±100 мм, оказывающих воздействие на подвеску автомобиля и вызывающих ее возмущение.
Результат измерения ДП - микропрофиль, участка автомобильной дороги заданной длины, записанный с шагом измерения не более 0,1 м. Микропрофиль регистрируется на компьютерных носителях информации для дальнейшей обработки и расчета оценочных показателей. Программное обеспечение, используемое для этих целей, должно быть аттестовано в составе измерительных систем или отдельно в зависимости от используемых измерительных схем.
Измерение ДП проводят непрерывно на всей длине участка по полосам наката на расстоянии 0,5 - 1,0 м от каждой кромки покрытия или края полосы движения посредством проезда автомобиля с ДП по заданному участку со скоростью, указанной в документации ДП.
Записанные на компьютерных носителях результаты измерения подлежат математической обработке с помощью специального программного обеспечения, аттестованного для этих целей. Полученные результаты должны быть профильтрованы с помощью полосового фильтра Баттерворта 4-го порядка с полосой пропускания 0,5 - 60 м.
Для исключения сдвига фазы фильтрацию выполняют в прямом и обратном направлении полученной записи.
В результате математической обработки отфильтрованного микропрофиля определяют оценочные значения ровности по различным показателям: международному индексу ровности IRI, просветам под трехметровой рейкой, отклонениям (амплитудам) высотных отметок точек профиля от прямой линии и другим показателям, если они указаны в контракте или техническом задании на выполнение работ.
Результаты обработки должны быть представлены в табличной форме и (или) в графическом виде, дающем наглядное представление о полученных результатах.
При измерении ДП получение оценочных показателей IRI и просветов под рейкой должно осуществляться для участка длиной не менее 100 м, а для метода амплитуд высотных отметок точек профиля - для отрезков длиной не менее 400 м.
ДП должен быть сертифицирован Федеральным агентством по техническому регулированию и метрологии и внесен в реестр средств измерений. Поверка ДП, проведение измерений и получение их результатов должны осуществляться в соответствии с методиками, утвержденными при сертификации ДП.
Приложение Д
(рекомендуемое)
Рекомендации по выбору геосинтетических материалов
Д.1 В состав технической документации на геосинтетический материал входят стандарты (национальные, международные, стандарты организации на изготовление геосинтетического материала) и документы, регламентирующие область применения геосинтетических материалов.
Д.2 Геосинтетические материалы в общем случае должны отвечать требованиям по следующим физико-механическим свойствам:
- поверхностная плотность;
- геометрические параметры (толщина и ширина полотна, размеры ячеек для георешеток и геосеток);
- прочность при растяжении;
- прочность при длительном статическом нагружении;
- деформативность;
- сопротивление местным повреждениям;
- водопроницаемость и фильтрующая способность (для геотекстиля и геокомпозитов на его основе);
- показатели климатического старения (долговечности) в составе дорожных конструкций.
Д.3 В зависимости от функционального назначения и области применения показатели физико-механических свойств геосинтетических материалов, используемых при проектировании (расчет и конструирование) дорожных конструкций могут быть разделены на группы (таблица Д.1):
- основные (1), обязательно учитываемые для данной области применения геосинтетика, численные значения которых ограничивают по экстремальным допустимым (минимальным или максимальным) значениям;
- дополнительные (2), имеющие значение для данной области применения геосинтетика с учетом особенностей проектируемого объекта;
- справочные (3), которые не оказывают существенного влияния и не регламентируются для данной области применения геосинтетического материала.
Д.4 Требуемые проектом численные значения показателей свойств геосинтетических материалов определяют расчетом по сертифицированным методикам и программам для ЭВМ и/или определяют натурным экспериментом. При отсутствии расчетных или определенных экспериментом значений показатели свойств геосинтетичесих материалов допускается определять с учетом особенностей проектируемого объекта по данным таблицы Д.2.
Д.5 При выборе геосинтетического материала следует учитывать вид материала (грунта), отсыпаемого непосредственно на геосинтетический материал, и условия выполнения строительных работ (см. таблица Д.1, показатели 5, 6, 7).
Таблица Д.1
Показатели свойств геосинтетических материалов в зависимости от области их применения в дорожной конструкции
| Показатели свойств геосинтетических материалов | Области применения геосинтетических материалов | ||||||
| Армирование дорожных конструкций | Разделение на контакте фунтовых слоев | Защита гидроизоляции | Эрозионная защита поверхности | Дренирование | Гидроизоляция | Теплоизоляция | |
| 1 Поверхностная плотность | 2 | 3 | 3 | 2 | 2 | 3 | 3 |
| 2 Геометрические параметры | 2 | 3 | 3 | 2 | 2 | 3 | 2 |
| 3 Прочность и деформативность при растяжении: | |||||||
| прочность при растяжении | 1 | 2 | 2 | 1 | 2 | 1 | 1 |
| деформация при растяжении | 1 | 3 | 3 | 2 | 3 | 1 | 1 |
| 4 Прочность при длительном статическом нагружении (показатели ползучести) | 1 | 3 | 3 | 2 | 3 | 1 | 2 |
| 5 Прочность при статическом продавливании | 2 | 2 | 2 | 3 | 2 | 2 | 2 |
| 6 Прочность при динамическом продавливании | 2 | 2 | 2 | 3 | 2 | 2 | 2 |
| 7 Сопротивление местным повреждениям (при циклической нагрузке) | 1 | 2 | 2 | 3 | 2 | 1 | 2 |
| 8 Водопроницаемость (коэффициент фильтрации) в направлении, перпендикулярном плоскости полотна | 2 | 3 | 3 | 2 | 1 | - | - |
| 9 Фильтрующая способность (эффективный размер пор) | 2 | 3 | 3 | 2 | 1 | - | - |
| 10 Показатели климатического старения (долговечности) | 1 | 3 | 3 | 2 | 2 | 1 | 1 |
|
|||||||
Таблица Д.2
Рекомендуемые численные значения основных показателей свойств геосинтетических материалов в зависимости от области их применения в дорожной конструкции
| Показатели свойств геосинтетического материала | Армирование дорожных конструкций | Разделение на контакте грунтовых слоев | Защита гидроизоляции | Эрозионная защита поверхности | Дренирование | Гидроизоляция | ||
| Дороги категорий I - II | Дороги категорий III - IV | Дороги категории V, дороги временные | ||||||
| 1 Прочность и деформативность при растяжении: | ||||||||
| прочность при растяжении Рм, кН/м, не менее (см. п. 3 таблицы Д.1) | 40 | 30 | 20 | 5 | 10 | 5 | 5 | 20 |
| деформация при максимальной нагрузке Рм,%, не более | 20 | - | - | - | - | 30 | ||
| 2 Прочность при длительном статическом нагружении, %, не менее (см. п. 4 таблицы Д.1) | 50 | - | - | - | - | 50 | ||
| 3 Сопротивление местным повреждениям (снижение прочности при укладке), %, не более (см. п. 7 таблицы Д.1) | 10 | 20 | 15 | 10 | ||||
| 4 Водопроницаемость (коэффициент фильтрации) в направлении, перпендикулярном плоскости полотна, м/сут, не менее (см. п. 8 таблицы Д.1) | 10 | 20 | 30 | - | ||||
| 5 Фильтрующая способность (эффективный размер пор), мкм (см. п. 9 таблицы Д.1) | 40 - 120 | 70 - 200 | 120 - 200 | - | ||||
| 6 Климатическое старение (долговечность) (см. п. 10 таблицы Д.1) | Не менее срока службы дорожной конструкции | |||||||
| Примечания 1 При выборе геосинтетического материала следует учитывать изменение показателей при комплексном воздействии агрессивных факторов внешней среды. 2 Показатели свойств геосинтетических материалов определяются по методикам национальных стандартов или международных стандартов, адаптированных к условиям Российской Федерации. 3 Для армирующих геосинтетических материалов дополнительно рекомендуется определять прочность при 5 %-ном удлинении. 4 Прочность геосинтетических материалов при растяжении при контакте со щебнем при разделении, дренировании грунтовых слоев и эрозионной защите рекомендуется принимать не менее 10 кН/м. 5 При армировании и стабилизации материалов слоев дорожных конструкций допускается применять объемные георешетки и гексагональные плоские георешетки прочностью не менее 17 кН/м и деформацией при максимальной нагрузке не более, соответственно, 35 и 15 %. 6 Показатели 4, 5 настоящей таблицы определяются только для нетканых геотекстилей и геокомпозитов на их основе. 7 Долговечность геосинтетического материала определяется при стандартизации материала, смене вида сырья, изменении технологии изготовления. 8 Прочность при длительном статическом нагружении определяется при стабилизации ползучести геосинтетических материалов при длительности нагружения не менее 1500 ч. |
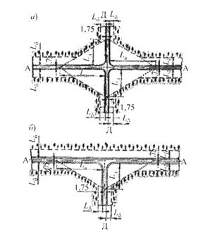
||||||||


